Back to Home Page of CD3WD Project or Back to list of CD3WD Publications

CLOSE THIS BOOKSurface Water Treatment by Roughing Filters - A Design, Construction and Operation Manual (SANDEC - SKAT, 1996, 180 p.)
Part 2: Design, construction and operation of roughing filters
VIEW THE DOCUMENT8. Classification of roughing filters
9. General aspects of roughing filter design
VIEW THE DOCUMENT9.1 Main features
VIEW THE DOCUMENT9.2 Basic filtration theory
VIEW THE DOCUMENT9.3 Design variables and guidelines
VIEW THE DOCUMENT9.4 Flow and headloss control
VIEW THE DOCUMENT9.5 Filter drainage system
VIEW THE DOCUMENT9.6 General design aspects
10. Detailed filter design
VIEW THE DOCUMENT10.1 Intake Filters
VIEW THE DOCUMENT10.2 Dynamic filters
VIEW THE DOCUMENT10.3 Vertical-flow roughing filters
VIEW THE DOCUMENT10.4 Horizontal-flow roughing filters
11. Roughing filter efficiency
VIEW THE DOCUMENT11.1 Practical experience
VIEW THE DOCUMENT11.2 Pilot plant tests
12. Selection criteria for roughing filters
VIEW THE DOCUMENT(introduction...)
VIEW THE DOCUMENT12.1 Raw water quality as selection criteria
VIEW THE DOCUMENT12.2 Layout and operational aspects as selection criteria
13. Construction of roughing filters
VIEW THE DOCUMENT(introduction...)
VIEW THE DOCUMENT13.1 Filter box
VIEW THE DOCUMENT13.2 Filter material
VIEW THE DOCUMENT13.3 Inlet and outlet structures
VIEW THE DOCUMENT13.4 Drainage system
VIEW THE DOCUMENT13.5 Gravel and sand washing facilities
14. Operation and maintenance of roughing filters
VIEW THE DOCUMENT(introduction...)
VIEW THE DOCUMENT14.1 Caretaker training
VIEW THE DOCUMENT14.2 Treatment plant commissioning
VIEW THE DOCUMENT14.3 Flow control
VIEW THE DOCUMENT14.4 Water quality control
VIEW THE DOCUMENT14.5 Filter cleaning
VIEW THE DOCUMENT14.6 Filter maintenance
15. Economic aspects
VIEW THE DOCUMENT(introduction...)
VIEW THE DOCUMENT15.1 Construction costs
VIEW THE DOCUMENT15.2 Operating and maintenance costs
VIEW THE DOCUMENT15.3 Overall costs of water supply schemes
16. Design examples
VIEW THE DOCUMENT(introduction...)
VIEW THE DOCUMENT16.1. Treatment of an upland river
VIEW THE DOCUMENT16.2 Treatment of a lowland stream
VIEW THE DOCUMENT16.3 Treatment of reservoir water
VIEW THE DOCUMENT16.4 Rehabilitation of a slow sand filter plant
VIEW THE DOCUMENT16.5 Standard designs for compact water treatment plants
17. Final remarks
VIEW THE DOCUMENT(introduction...)
VIEW THE DOCUMENTReferences
VIEW THE DOCUMENTAbbreviations

Surface Water Treatment by Roughing Filters - A Design, Construction and Operation Manual (SANDEC - SKAT, 1996, 180 p.)

Part 2: Design, construction and operation of roughing filters

8. Classification of roughing filters

As shown in Table 1, filters can be classified according to filter material size and filtration rate into the following categories: rock filters, roughing filters, rapid sand filters and slow sand filters. Roughing filters, using mainly gravel as filter medium, are operated without chemicals and do not require sophisticated mechanical equipment for operation and maintenance. Nevertheless, their design and application vary considerably. The different roughing filter types are classified according to:

- location within the water supply
- scheme main application purpose
- flow direction
- filter design
- filter cleaning technique

Construction of infiltration galleries in the river bed or next to the river embankment is an old technique used to draw surface water and pretreat it at the same time. Infiltration galleries basically consist of an excavated trench filled with gravel and sand layers surrounding a perforated pipe. However, construction work in water bearing aquifers might prove difficult unless extensive alluvial deposits and high seasonal flow variations prevail as may be the case in South-East Asia. There, the infiltration gallery could be the inlet technology of choice as it is almost maintenance free and may easily be installed during the dry season, provided the aquifer characteristics prevent clogging as well as breakthrough of fine material. Maintenance and cleaning of infiltration galleries are hardly possible unless installed in the river banks or in the bed of irrigation canals where the flow can be regulated or even interrupted. Such flow regulations allow a controlled operation, protect the installed gravel layers from being washed away, and enable maintenance work, e.g. cleaning or replacement of the filter layer.

Table 1 Filter Classification

Filter Type

Size of Filter Material dig [mm]

Filtration Rate VF [m/h]

rock filter

> 50 mm

1 - 5 m/h

roughing filter

20 - 4 mm

0.3 - 1,5 m/h

rapid sand filter

4 - l mm

5 - 15 m/h

slow sand filter

0.35 - 0.15 mm

0.1 - 0.2 m/h

However, due to the limited application and briefly mentioned operational inconveniences, infiltration galleries will not be further presented in this manual. Intake and dynamic filters are usually the first components of a treatment scheme. Similar to infiltration galleries, their structure often forms part of the water intake installation. Intake filters are used as first treatment step, mainly for separation of solids. The reduced solids concentration in the pretreated water allows a more economical layout and operation of the subsequent filter units. Dynamic filters are applied to safeguard the treatment plant from sudden solids concentration peaks. Hence, they are usually used not so much for water quality improvement, but to protect the treatment plant from heavy silt loads and cumbersome filter cleaning work.

Roughing filters are generally located at the treatment plant and used as last pretreatment process prior to slow sand filtration. These filters can be operated either as upflow, downflow or horizontal-flow filters. The different gravel fractions of roughing filters are installed either in separate compartments and hence operated in series, or the differently sized gravel is placed in succeeding layers in the same compartment.

Filter cleaning, which is carried out manually or hydraulically, is dependent on the pattern of the retained solids in the filter. Intake and dynamic filters separate the solids usually within the inlet zone of the filter and thus act as surface filters. The relatively fine gravel of these filters is cleaned manually by scouring the top of the filter with a shovel or rake, and flushing the resuspended solids from the filter bed. Roughing filters containing differently sized filter material act as deep bed filters and allow deep penetration of the solids into the filter medium. Removal of the accumulated solids is carried out by periodic filter flushing. Roughing filters might gradually get silted up if the retained solids are not completely removed by hydraulic filter cleaning. Such undesirable filter clogging calls for tedious manual cleaning and should thus be avoided whenever possible by regular and efficient filter drainages. Construction of shallow beds in upflow roughing filters minimises construction and maintenance work and, finally, also manual cleaning. However, such shallow upflow roughing filters should be used only with raw water of moderate turbidity.

A general layout of different prefilters is given in Fig. 24, the main differences in use and configurations of the prefilters are summarised in Table 2, and the detailed filter design and operation explained in Chapters 10 and 14 respectively.


Fig. 24 Classification of Prefilters


Table 2 Use and Layout of Prefilters

Children as Promoters of an Infiltration Gallery Project


Children as Promoters of an Infiltration Gallery Project

Different East African countries suffer from civil war. This situation causes enormous misery and drives thousands of people away from their native villages and towns. They become helpless refugees frying to escape cruelty and starvation. The homeless often settle next to larger settlements where they try to survive, as in the case of an old tracing and border town. In the last few years, the population of this town has rapidly grown to 15,000 people due to refugees and migrants. Owing to the totally inadequate water supply and sanitation facilities, the town council faces enormous problems which could suddenly lead to cholera epidemics.

The town uses the rather large river as its water supply. The raw water used to be pumped to a hill some 1500 m away where a compact treatment plant, donated by a European aid agency, was never put to use due to its high degree of sophistication. The paint is peeling off the containers and some of the moving parts are gradually disappearing. This is why the population collects water from the river heavily polluted by human excreta.

Mesfin, a dynamic local sanitary engineer, aware of the inadmissible and dangerous situation, approached external support agencies and asked them to finance a water supply project in his town. He invited desk officers from the capital to the town and went with them to the bridge across the river. From there, the delegation saw children digging a hole into the river bed. Clear water started to seep into the shaft when the hole reached a depth equal to the length of a child's arm. This gave Mesfin the idea of installing an infiltration gallery in the 2-m deep gravel and sandy river bed and of constructing a pumping platform next to the river bank. After witnessing this simple display, the delegation approved Mesfin's unconventional but appropriate project.

A year later the project was inaugurated by the officials from the region and invited guests from the capital. The 500 NTU turbidity of the raw river wafer was reduced to 15 NTU by the infiltration gallery, a value similar to the one achieved by the children and their hole.

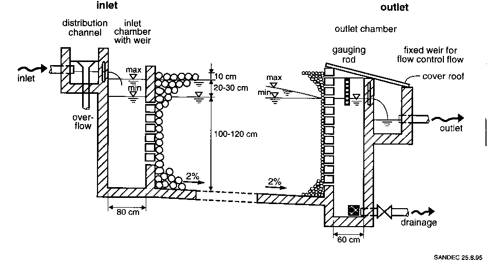
9. General aspects of roughing filter design

9.1 Main features

Different installations are required for controlled and adequate filter operation and maintenance. However, the main part of the filter is the section containing the filter material. A filter comprises the following six elements as schematically illustrated in Fig. 25:

- inlet flow control
- raw water distribution
- actual filter
- treated water collection
- outlet flow control
- drainage system

The inflow to a filter has to be reduced to a given flow rate and maintained thereafter at this rate as constant flow conditions are essential for efficient filter operation. In order to simplify flow control during operation, the adjusted constant flow rate can remain unchanged even during filter cleaning. However, intake filters require a controlled increase of the flow rate in order to provide sufficient washwater to flush the resuspended solids out of the filter surface.

The raw water distribution on a filter should be homogeneous to achieve uniform flow conditions in the filter bed. Therefore, the flow emerging from a pipe or a channel ought to be evenly distributed over the entire filter surface. Submerged filter beds, inlet weirs covering the full filter width, or perforated walls supplying the entire filter cross section are used for this purpose. To avoid scouring effects of the filter material, the hydraulic energy of fast flowing water has to be reduced by baffles positioned in the inlet zone. For the same purpose, concrete slabs or large flat stones should be placed on top of the filter material next to overfalls.

The actual filter consists of a watertight structure containing filter material. The shape of the filter box is normally rectangular and the walls vertical. However, depending on the local construction techniques, circular tanks and inclined walls may also be built. Round river bed gravel or broken stones with sharper edges are generally used as filter material, although any type of inert material resistant to mechanical forces, insoluble, and not impairing the water quality with respect to odour or colour, can be used as filter material.

Collection of the treated water also has to be uniform over the entire filter bed. Uneven water abstraction would reduce the overall filter efficiency and create undesirable hydraulic short circuits. Provision of a free water table on top of the filter bed is the best option to achieve even collection of the treated water for upflow filters, or the construction of a false filter bottom (see Fig. 47) for downflow filters. A second but less favourable option is the installation of perforated pipes in downflow filters. For horizontal-flow filters, construction of a perforated wall in the outlet chamber is necessary for even abstraction of the treated water.


Fig. 25 Main Features of a Filter

The outlet flow control prevents the filter bed from drying out. Hydraulic cleaning of a dried up roughing filter filled with accumulated solids is a very difficult if not impossible task. Therefore, all roughing filters must be operated under saturated conditions. A weir or a raised and aerated effluent pipe maintains the water above the filter bed level. Furthermore, a V-notch weir might be installed to allow flow rate measurements at the filter outlet.

The drainage system of roughing filters serves two purposes: it is used for hydraulic filter cleaning and allows complete during maintenance or repair work. Hydraulic filter bed cleaning calls for high discharge rates and, therefore, requires rather large pipes and fittings. For complete water removal, additional but smaller drains in inlet and outlet compartments can be installed.


Fig. 26 Solid Separation Mechanisms in Roughing Filters

9.2 Basic filtration theory

The following explanations aim at providing some information about the filtration mechanisms and at elucidating the process in more details. Removal of suspended solids by roughing filters is a rather complex process that includes sedimentation, adsorption and biological as well as biochemical activities. Basically, as illustrated in Fig. 26, solid particles have to be transported to a surface and remain attached to that surface before they are possibly transformed by biological and biochemical processes. The latter are also important for the removal of dissolved impurities.

Let us now follow the path of a small 4 µm (0. 004 mm) clay particle through a roughing filter. Please note that the following described journey of our clay particle through a roughing filter is not a science fiction story but a popular description of particle removal mechanisms taking place in roughing filters. Annex 4 provides additional analytical details of the processes described more scientifically in [38]. The small clay particle is exposed to different transportation, attachment and transformation mechanisms.

Transportation mechanisms

Screening removes particles larger than the pores of the filter bed. The smallest pore sizes are roughly one sixth of the gravel size.

Since our clay particle is travelling unhindered through the large pores of the coarse, medium and even fine filter gravel, as shown in Fig. 27, it will never be retained by screening mechanisms.

Sedimentation separates settleable solids by gravity. The settling velocity is influenced by mass density, size and shape of the particle, as well as by viscosity and hydraulic conditions of the water.

Let us now assume that our clay particle has reached the finer gravel fraction of our roughing filter operated at 0.5 m/h filtration rate. Even at this low filtration rate, the time of flow through a pore of 4 mm length and 1.25 mm height is only 10 seconds whereas the settling velocity of the clay particle amounts to 0.01 mm/s. Hence, our clay particle would need 125 seconds to overcome only half of the pore height and will, therefore, hardly touch the surface of a gravel grain but continue to drift deeper into the filter bed as shown in Fig. 28.

Interception is described as the process which enhances particle removal through gradual reduction of the pore size caused by accumulated material.

Our floating clay particle wants to settle on the filter medium and desperately calls his friends already resting on the gravel surface for help. He knows that hundreds of million of colleagues have already entered the roughing filter before he started his hopeless journey, and that the filter load (weight of accumulated solids per unit filter volume) has reached a value of 5 g/l. However, the initial filter bed porosity of 35% can only be reduced by 0.25% if his resting clay particle colleagues are packed like sardines. Fortunately, they are building up on the gravel grains and form structured pyramids, thereby increasing the occupied filter volume by a factor 10. As illustrated in Fig. 29, they are thus able to reduce porosity by 2.5%. However, our desperate clay particle is missing his colleagues since the settling distance is still far too big.


Fig. 27 Screening


Fig. 28 Sedimentation


Fig. 29 Interception


Fig. 30 Hydrodynamic Forces

Hydrodynamic forces are responsible for the water in the filter to flow continuously through the pore system and not to turn stagnant. The water has to surround each single gravel grain on its way through the filter. The flow lines are, therefore, not straight but curved around the gravel grains. The water has to change even its velocity, since restrictions require flow accelerations, and large pore volumes even force the water to take a short rest.

As illustrated in Fig. 30, our old clay particle is also exposed to this flow pattern and hydraulic shear forces which drive him on a twisted trail. He gets thrown off track by these hydrodynamic forces that lead him into a filter compartment with stagnant water where he has time to settle and join his waiting colleagues.

Hence, our clay particle had to be grateful to the flow pattern and hydrodynamic forces which transported him closer to the filter grains or to a quiescent zone where he could settle on the filter material. On his way through the filter he noticed that some very tiny particles, known as colloids, had slightly changed their direction when compared to the bulk of the solids, and had diffused due to molecular forces (Brownian movement) in some other directions. However, these forces did not affect him in the least.

Attachment mechanisms

Our clay particle, glad to have escaped the flow is still exposed to the water current which tries to drag him away. In this delicate situation, the clay particle can count on the help of his colleagues and on the support of the grain surface.

Mass attraction and electrostatic force - a combination of these two forces is frequently called adsorption, enable the particles to keep in contact with other solids and the filter material. Mass particle attraction (van der Waals force) and the attraction between opposite electrically charged particles (double layer forces) very much decrease with increasing distance between the particles. In roughing filters, these forces are important only to hold the settled particles together on the grain surface.

Biological activity will develop in the filter when particles of organic origin are deposited on the filter material. Bacteria and other microorganisms will form a sticky and slimy layer around the gravel or may build a large chain of organic material floating in the pores of the filter material.

This biological microcosm is alive. A forest composed of microbes is inhabited by monsters in the form of larvae and smaller microorganisms such as bacteria. The forest is subjected to constant changes, the micro-inhabitants are eaten up by their macro-residents, thus making a prediction of the behaviour pattern almost impossible. Particles readily adhere to this organic material and are retained in the filter.

Electrostatic and mass attraction as well as biological activity allow particles to remain on the deposited material.

Transformation mechanisms

As time goes by, new particles settle on top of our small clay particle and slowly turn it into a firm structure of accumulated material. However, he is no longer alone with his clay particle colleagues since other material of organic origin and biological matter have started to invade the pyramid-like structure. He also notices the change in water quality within the structure as he is no longer exposed to fresh water flowing on the surface of the accumulated material.

Biochemical oxidation starts to convert organic matter into smaller aggregates and finally into water, carbon dioxide and inorganic salts. Also part of the dissolved matter is subjected to these chemical and biochemical reactions. Turbidity and colour also undergo changes, while iron and manganese traces are precipitated and removed.

Microbiological activity also play an important part in roughing filters. The back of our old clay particle started to itch and he realised that three tiny microorganisms had attached themselves to his surface. He then remembered that some faecal coliforms, which were tired of swimming around, had asked him for a lift before entering the roughing filter He /lad agreed to give them a ride and they therefore started their journey through the filter like boat-people on the back of the clay particle. They also remained together as the particle settled on the filter material. But as time went by, these faecal coliforms started to starve and were attacked by other microorganisms. It was their last twitch just before they passed away which disturbed our clay particle colleague.

Hence, biologically active roughing filters are not only efficient in removing solid matter but also in improving significantly the chemical and microbiological water quality.

The "1/3 - 2/3 Filter Theory"

Our old clay particle still did not feel comfortable even after the death of the three faecal coliforms as he was embedded in a large clay deposit. Conversation with his colleagues became boring and he started to ponder on how to change his present unsatisfactory situation. He remembered seeing a lot of clay fellows sitting cheerfully on the larger grains while he had to travel through the filter uncomfortable and squeezed in. Thanks to his quick mind he developed the "1/3 - 2/3 filter theory".

He knew by experience that a particle can bypass a gravel grain either on the left or on the right or settle on its surface. Hence, the chances to fall on the grain is 1/3. However, the game continues as there is a second, third and many other gravel grains to settle on. At this point our clay particle started making some calculations. He assumed that if about 300 clay particles enter the filter 100 clay particles would settle on the first layer of grains and 200 clay particles would have to continue their journey to reach the second layer of grains. Here again, 1/3 or 67 particles would attach themselves to the second line, and 2/3 or 133 particles remain in the water flow.. The next line of particles would be split in 44 to 89 particles. He continued his mental arithmetic and was glad that someone was writing it down in Annex 4.

Proud of himself, the clay particle evaluated his calculation and came to the conclusion that 90% of the 300 particles which enter a filter are removed already after the 5th or 6th gravel layer. The remaining 10% have to travel through another five to six gravel layers in order to achieve a 99% particle separation. Hence, compared to an efficiency of only 1.5% per layer in the second filter section, the first part of the filter is apparently more efficient in particle removal, since every layer of this filter section retains about 16% of the particles. The following filter sections are obviously less efficient in particle removal. However, our clay particle found it hard to believe that a gravel grain in the inner part of the filter with the exact same size and shape as a gravel grain located in the filter inlet should be less efficient in particle removal. He then remembered that filter efficiency is dependent on particle concentration: the higher the concentration of impurities, the greater the apparent efficiency.

Nevertheless, the clay particle was not yet satisfied with his filtration theory as it would mean that the number of particles found on the gravel would continuously decline on his journey through the filter. Nevertheless, he remembered that the has encountered a sudden increase of settled particles at some specific points in the filter. He quickly concluded that these places were identical with the changes in the gravel fractions. Furthermore, he recalled that his finer clay particle fellows did not have the same settling pattern; i.e., they penetrated deeper into the roughing filter.

And finally he had the feeling that the settling conditions were not always the same. There was a crowd at the filter inlet and it was hard to find a free space to rest. However, the inner filter part provided more space, and settlement on the gravel grains was even supported by a sticky layer built on the gravel surface. Hence, filter efficiency not only depends on the size of the filter medium and particles, but also on the actual filter load and biological filter activity.

Our clay particle was pleased that his filter theory and conclusions were endorsed by some researchers carrying out filtration tests. Their results and developed correlations between the different parameters on horizontal roughing filtration are summarised in Annex 4. However, based on his own experience and reflections, our small filtration expert was convinced that this filter theory is basically also valid for upflow and downflow roughing filters. Hydrodynamic forces are present in all roughing filters where quiescent conditions allow particles to settle. Nevertheless, he was frustrated that his "1/3 - 2/3 filter theory" did not fit this ratio. Recorded filter efficiencies are much smaller on account of the numerous flow lines curving around the gravel grains.

Sudden liberation

Our puzzled clay particle became aware that his environment was deteriorating during his reflections on filtration. Together with his colleagues he was densely packed in a structure made of decomposing organic matter and hungry microorganisms. The water around them was also foul-smelling. However, this liquid hardly mixed with the water that was flowing gently at a very constant rate and under laminar flow conditions through the filter. The clay particle had the strong urge to dive into this fresh water, or even to swim away.

All of a sudden, the quiescent and dull conditions stopped. The filter was filled with tremendous noise which felt worse than a giant earthquake. The water was shooting downwards through the gravel to the filter bottom, and all the clay particles were anxiously holding each other. A side of his structure was flushed away. Our terrified particle then saw a clump of particles roll down like an avalanche. The dragging forces grew stronger, his structure collapsed and then everything went very fast. Under very turbulent flow conditions, he was flushed to the filter bottom, pressed through a pipe where a valve nearly broke his neck, and was finally discharged into a lagoon. Our old fellow gained his liberty and felt like a new-born. However, he was not used to the bright sunshine and decided to settle again, but this time under different conditions.

Closing remark: since the complex mechanisms of hydraulic filter cleaning are not yet fully explored, our clay particle had no time for further philosophical contemplation on this matter. This is where our excursion through the basic filter theory comes to an end.

9.3 Design variables and guidelines

The main objective of roughing filters is the reduction of solid matter in the raw water from a specific, in many cases however unknown concentration, to a level which allows a sound slow sand filter operation. A turbidity value of about 10 20 NTU, or a suspended solids concentration of 2 - 5 mg/l, is generally considered an adequate pretreated water standard for slow sand filtration. Furthermore, since the roughing filters have to treat a certain volume of water per day, a reasonable operational period is necessary between two filter cleanings. Explicitly, roughing filters have to meet the following three design targets:

- reduce turbidity and suspended solids concentration by DC (mg/l) to a level required for adequate slow sand filter operation

- produce a specific daily output Q (m³/d)

- allow adequate operation during a determined filter running period Tr (days or weeks).

Filter design has to meet these targets and is defined by the following six design variables which can be selected within a certain range:

- filtration rate or filter velocity vF (m/h)
- average size dgi (mm) of each filter medium
- individual length Ii(m) of each specific filter medium
- number ni of filter fractions
- height H (m) and width W (m) of filter bed area A (m²).

Filtration rate VF generally amounts to 0.3 -1 m/h. Filters are occasionally operated at a filtration rate of up to 1.5-2 m/h or even 9 m/h as in intake and dynamic filters. However, the applied filtration rate significantly influences filter performance although removal efficiency does not seem very much affected in between varying filtration rates of 0.3 and 0.6 m/h [48]. Filtration rate or filter velocity expressed in (m/h) is defined as the hydraulic load (m³/h) applied to the filter and divided by the area (m²) of the filter bed perpendicular to the flow direction.

Table 3 Gravel Fraction Sizes for Roughing Filters

Filter Material

Size of Filter Material dg [mm]

Characteristics

1st Fraction

2nd Fraction

3rd Fraction

coarse filter

24 - 16

12 - 18

8 - 12

normal filter

12 - 18

8 - 12

4 - 8

fine filter

8 - 12

4 - 8

2 - 4

Size dgi of the filter material usually ranges between 20 and 4 mm. The gravel should be rather uniform to achieve large porosity. The uniformity coefficient U, defined here as quotient between the largest and smallest size of a filter fraction (U = dgi max/dgi min), should be in the order of 2 or less. Filter medium fractions as listed in Table 3 would meet the recommended uniformity.

Since length Ii of the filter material is dependent on the filter type, it may vary greatly. Dynamic and intake filters acting as surface filters require a smaller filter depth of about 40 - 60 cm, compared to roughing filters operated as deep bed filters. The depth of upflow and downflow roughing filters is limited by structural constraints, however, it is generally between 80 and 120 cm. The length of horizontal flow roughing filters is, in this respect, not limited. However, overall length normally lies within 5 and 7 m.

Number ni of filter fractions is also dependent on filter type. Surface filters might only need one fraction whereas roughing filters are usually composed of three gravel fractions. The required overall filter length can substantially be reduced with the use of differently graded filter fractions as illustrated in Fig. 31. The bulk of the solid matter is removed by the coarse filter fraction, the medium sized gravel has a polishing effect, and the finest gravel ought to remove only the remaining traces of solid matter. Therefore, individual filter length li of roughing filters are often designed in a 3:2:1 ratio.


Fig. 31 Turbidity Reduction along a Roughing Filter

Height H (m) and width W (m) are dependent on structural and operational aspects. Shallow structures of about 1 - 2 m are recommended to avoid problems with respect to water tightness. In view of a possible manual filter cleaning, 1-m deep structures are even recommended for easy removal of filter material. The width of the filters should also be limited to allow efficient hydraulic cleaning and avoid washwater disposal problems. Therefore, filter width should generally not exceed 4 - 5 m, and filter surface area A for vertical flow filters should not be larger than 25 - 30 m² or 4 - 6 m² (cross section area) for horizontal-flow roughing filters. Since these recommended maximum sizes limit hydraulic filter capacity, several filter units operated in parallel are required to meet the requested treatment plant output.

Construction of at least two parallel filter units is anyhow advisable to allow continuous treatment plant operation even during major maintenance and repair work.

9.4 Flow and headloss control

The hydraulic conditions in roughing filters are determined by the filtration rate VF (m/h), calculated as flow rate Q (m³/h) divided by the active cross-sectional filter area A (m²), e.g.:

VF (m/h) = Q (m³/h) / A (m²)

For adequate filter performance, flow control is essential and must meet the following targets:

- maximum flow through the treatment plant should be limited in general, and through the filter units in particular

- total flow should be distributed evenly over the parallel running filter units

- controlled water levels should be maintained within the filter units.

Weirs, overflow pipes and valves are used to control the flow through the treatment plant and the different filter units. Maximum flow through the treatment plant is limited by an overflow generally located at the intake. At the treatment plant, the flow is equally divided by a distributor box or channel into the different filter units. The simplest flow control device is a V-notch weir. Finally, maximum flow through the filter unit is limited by an overflow located upstream of the V-notch weir.

The outlet structure controls the water level in roughing filters. Installation of a V-notch weir to maintain a fixed water level is the simplest flow control option. Even a normal effluent pipe can keep this water table at a constant level. However, such an effluent pipe, without weir but connected to adjacent pipe installations, does not allow discharge measurements necessary for detection of possible leaks in the filter structure.

Filter resistance increases with progressive filter operation. Final headloss in a roughing filter is usually small; i.e., 10 to 20 cm, or 30 cm at the most. Headloss variation in the filter can be recorded by the water level in the inlet filter compartment. A general layout of inlet controlled filter is illustrated in Fig. 32. More details on discharge measurements are contained in Annex 2.

A variable water level on the effluent side is achieved with the installation of a manually operated valve, a self-regulating floating weir or a constant flow device as suggested in [49]. However, since final headlosses for horizontal-flow roughing filters are relatively small, use of a variable effluent level is not recommended.

Fig. 33 contains the main details of self-regulating flow rate devices. Such installations are useful to maintain a constant flow throughout the treatment plant in pumped raw water supply schemes, particularly at night, provided a raw water balancing tank is installed for continuous raw water supply.


Fig. 32 Layout of an Inlet-Controlled Roughing Filter

9.5 Filter drainage system

Accumulation of large volumes of solids in the filter media decreases filter porosity and ultimately also filter efficiency and increases filter resistance. To maintain adequate filter performance and limit filter headloss, periodic removal of the accumulated solids from the filter media is essential.


Fig. 33 Layout of Flow Rate Controlling Devices

Roughing filters are cleaned either manually or hydraulically. Manual filter cleaning (excavation, washing and refilling of the filter media) is labour-intensive and cumbersome. Therefore, hydraulic filter cleaning plays a key role in long-term and efficient roughing filter operation.

Hydraulic filter cleaning entails fast filter drainage of the accumulated solids, which are flushed down to the filter bottom, dragged to the drainage system and washed out of the filter. The following are most important design variables for hydraulic filter cleaning:

- filter drainage velocity vd (m/h)
- inlet area Ad of the drainage system
- horizontal distance Ld (m) between the drains or openings in the filter bottom
- washwater volume Vw
- cleaning frequency 1/Tr or filter running period Tr.

Filter drainage velocity is identical with the dropping rate of the water table in the filter. High initial filter drainage velocity vd is recommended for efficient cleaning. Turbulent flow conditions are absolutely necessary for resuspension and transport of the accumulated solids through the filter. Therefore, a drainage velocity of at least 30 m/h, or preferably 60 - 90 m/h, is required for efficient hydraulic cleaning.

Maximum drainage rate velocity is very much influenced by minimum cross section area avail able for washwater flow. The cross section of the drainage pipes constitutes a bottleneck, the other limiting factor is the overall inlet area Ad of the drainage system, which should be designed as large as possible. Perforated false filter bottom systems provide a larger inlet area than a perforated drainage pipe system.

After having been flushed to the filter bottom, the resuspended solids have to be transported to the inlet of the drainage system. The horizontal distance Ld between the openings of the drainage system should be as small as possible to prevent gradual accumulation of sludge at the filter bottom. Here again, the installation of a false filter bottom is recommended since the washwater can be collected more evenly than in a perforated drainage system, which should be installed with a small horizontal distance Ld of maximum 1 - 2 m between the drains.

Hydraulic filter cleaning is carried out with the washwater volume Vw stored in the roughing filter. Normal filter operation is interrupted and the drains opened. Hence, compared to rapid sand filters, hydraulic roughing filter cleaning does not require additional equipment, such as backwash pumps or even air compressors. To prevent loss of washwater, fast opening valves and gates are necessary to make best use of the washwater stored in the filter bed. Since such devices of relatively large diameter (about 150 - 250 mm) are rather expensive, alternative installations, as presented in Fig. 34, have been developed by local institutions. Fast opening devices must be simple in design, sturdy and easy to operate as well as watertight. Furthermore, they should be fitted with a closing device to save washwater during drainage. Locally manufactured devices need to be carefully field-tested prior to their use in full-scale filter units.


Fig. 34 Layout of Fast Opening Devices for Filter Drainage

Cleaning frequency or filter running period Tr of roughing filters is dependent on solid matter load and biological activity in the filter. General recommendations are not possible since each filter operates under specific local conditions. Nevertheless, periodic hydraulic cleaning is advisable to prevent gradual accumulation of solids in the filter that filter drainage cannot remove due to agglomeration and consolidation. Cleaning frequencies could amount to once every one to two weeks during the rainy season, and once every one to two months during the dry season. However, very high solid loads with turbidities > 1000 NTU call for daily hydraulic flushes. Furthermore, excessive biological activities could hinder efficient hydraulic cleaning or affect taste and odour of the water. Such conditions would also require frequent hydraulic cleaning. Research in the laboratory [11] with biologically ripened roughing filters suggests that a drying period will have a positive impact on hydraulic filter cleaning. However, this observation is in contrast with the general recommendation on keeping roughing filters always wet.

Safe disposal of the washwater is important. Filter flushing generates relatively large washwater volumes (up to 10 m³) within a short time (about 1 - 2 minutes). To prevent erosion in steep regions, intermediate storage in a small, separately constructed pond may be necessary. Such an installation would allow gradual and controlled discharge of the washwater in a water course or its agricultural use. Furthermore, the solids washed out of the filter and settled in the pond are a valuable soil conditioner and fertiliser.

The drainage system used for hydraulic filter cleaning might not be designed to drain the entire filter structure. However, complete drainage is required during maintenance and repair of the filter. Additional small drainage installations are thus necessary for complete removal of the water stored in the filter. For this purpose, small drainage pipes equipped with taps or plugs can be used in large roughing filters. Small structures can, however, be dewatered with buckets or a tube used as siphon.

9.6 General design aspects

Treatment facilities have to be dimensioned for extreme loads; i.e., in terms of solids removal for maximum solids concentration in raw waters. However, it is preferable to pretreat the raw water in a sequence of different treatment units. Gradual reduction of suspended solids, turbidity or pathogenic microorganisms by a sequence of different pretreatment units probably offers the most economic option with respect to investment and operating costs. Small pretreatment units, such as intake filters or sedimentation tanks, can significantly reduce solid matter concentrations or turbidity peaks. Furthermore, cleaning of these installations is generally easier than roughing filters. Hence, roughing filters should preferably not be designed to handle maximum water peaks, but pre-conditioned water that has already been subjected to pretreatment.

Filter length and permissible filter running period are correlated. Horizontal-flow roughing filters in particular were originally designed to provide a large silt storage capacity at low headloss, as filter cleaning was carried out manually. Relatively important filter lengths of 9 to 12 m were the consequence of this original design approach, permitting filter runs of several months, similar to those of well-operated slow sand filters. However, importance and benefits of hydraulic cleaning have meanwhile been recognised.

Current design practice tends to reduce filter lengths and incorporate efficient hydraulic cleaning facilities. Regeneration of filter efficiency through frequent hydraulic cleanings has to counterbalance shorter filter lengths.

The use of smaller filter material can improve filter efficiency. However, besides efficiency in suspended solids separation, other criteria such as terminal headloss, filter running time and filter cleaning aspects have to be taken into consideration. Use of only a uniform and fine filter material allows sufficient pretreatment of the raw water, but at the expense of high head losses, short filter runs and filter cleaning difficulties. The roughing filter technology requires the use of coarse filter material sizes between 20 - 4 mm graded in different fractions. However, the use of filter material coarser than 20 mm with lower removal efficiencies is not advisable as it would require longer filters to achieve the same treatment efficiency. Furthermore, the filter material should not be smaller than about 4 mm to facilitate hydraulic filter cleaning. These recommendations are not applicable to intake and dynamic filters as these operate differently. Since intake and dynamic filters are basically surface filters, they require small filter material sizes between 2 - 8 mm. These filters act as surface filters, and their filter depth therefore has no great influence on the overall efficiency.

Filtration rate greatly influences filter efficiency. Sedimentation is the main solids separation process in roughing filters. Therefore, roughing filters must be operated under laminar flow conditions to achieve adequate solids removal efficiencies. Flow conditions are described by the Reynolds Number. At a value of less than 10, laminar flow can be expected (see also Fig. 35). As the Reynolds Number is directly proportional to the filter material size, maximum allowable filtration rate for laminar flow conditions will be determined by the coarsest gravel fraction in a roughing filter. Hence, for optimum filter use, coarser filter material requires smaller filtration rates. However, filtration rate can only partly be increased by applying smaller filter material, as particle size distribution of the solids and suspension stability also determine the fillers' solids separation efficiency.


Fig. 35 Roughing Filter Efficiency in Correlation to Flow Conditions

African Killer Bees Supported Sustainability

The rapid sand filters of Salaga, a district centre located in West Africa, were never filled with filter media and the population of the town was therefore exposed to unsafe water. The old treatment plant had to be extended and replaced by an appropriate treatment scheme. Roughing and slow sand filters were thus tested in a pilot plant shaded by a large baobab tree. The location was chosen by the external experts suffering from the Ghanaian sun. The pilot plant was constructed by the local water authority, and the expatriates supervised the start of the field tests. However, African killer bees also chose the same large baobab tree as their habitat and were very much attracted by the white skin of the foreigners. Under remote supervision by the expatriates, the field tests were continued by the local staff which gained experience and confidence in a treatment scheme they wit/have to run in future at full scare and without foreign assistance. Thus, the African killer bees somehow contributed to developing local sustainability.

10. Detailed filter design

10.1 Intake Filters

Intake filters are combined with water abstraction structures and installed next to small and narrow river beds as illustrated in Photo 5 and Fig. 36. Intake filters are often used as first pretreatment unit in a water treatment scheme. A small weir regulates the water level of the surface water and channels part of the flow into an adjacent filter compartment. This filter box is filled with two gravel layers. The top layer consists of relatively fine gravel of less than six millimetres in diameter.


Photo 5 Example of an Intake Filter


Fig. 36 Layout of Intake and Dynamic Filters

The lower coarser gravel layer acts as filter support and allows an even abstraction of the prefiltered water through perforated drainage pipes. The abstracted raw water, after being distributed evenly by a small weir over the entire width of the filter box, flows gently over the gravel bed surface. Part of this water percolates through the gravel layers and the remaining water is discharged over an outlet weir back to the river. Intake filters are constructed along rivers and not directly in the river bed, as the filter material would be washed out during periods of high river discharge. Construction of a separation wall between river bed and filter box is recommended to prevent the filter from being washed out.

Intake filters can also be installed in the bed of small canals. Upland rivers with a steep river bed and a suitable topography might allow the accommodation of a small diverting canal. The filter bed, comprising different gravel layers, is installed over a small stretch in the canal. Part of the canal water is filtered through the series of fine to coarse gravel layers, while the remaining water is returned to the river. The prefiltered water is collected by perforated drainage pipes laid at the bottom of the coarse gravel layer, and the discharge rate regulated by a valve placed at the filter control box. The flow velocity in the canal must be regulated by the canal's intake structures to protect the filter bed from being washed out during periods of high river discharge. The flow velocity in the canal should actually range between 0.10 and 0.30 m/s to prevent fine matter from settling and remaining on top of the gravel bed, and also to avoid fine filter material from being washed out. This layout may also be applied to irrigation canals, provided they are continuously supplied and regulated through out the year. However, construction of intake filters along rivers is strongly recommended as these filters allow a more reliable operation than intake filters installed in canal beds.

Finally, "intake" filters may be located directly at the treatment plant site and function as pretreatment facility. This particular location is recommended in gravity water supply schemes with a raw water intake located in a remote area of difficuIt access. Such a layout will facilitate monitoring and regular filter cleaning.

Filtration rates of intake filters range between 0.3 and 2 m/h. However, significant solids removal rates can be expected only at filter velocities smaller than 1 m/h, Design of the hydraulic structures should be based on maximum filter resistance of 20 to 40 cm. This figure will not be exceeded if regular filter cleaning, (e.g. once a week), is observed.

Relatively small filter material of less than 6 mm is used in intake filters which act as surface filters as the solids mainly accumulate on top of the filter bed. Since filter cleaning is carried out manually, the different gravel layers might be disturbed and mixed up if filter material of different sizes is used in intake filters. A filter cloth is sometimes placed in-between the different gravel layers to avoid mixing of the filter fractions and possibly reducing filter porosity and efficiency. However, coarser gravel hardly contributes to solids removal, but allows an even abstraction of the pretreated water. Nevertheless, regular filtered water collection is also possible with a single filter bed layer, moderate filtration rates, medium-sized filter structures and reasonable layout of the perforated drainage pipes. Design guidelines are summarised in Fig. 37. Use of a single filter layer and false filter bottom offers a favourable design alternative for intake filters, as filter material mixing is no longer possible, and even abstraction of the prefiltered water is guaranteed.


Fig. 37 Design of Intake and Dynamic Filters

10.2 Dynamic filters

Dynamic filters protect the treatment plant units from high turbidity peaks. Highly turbid surface water can quickly clog filters, especially slow sand filters. Therefore, during periods of extremely high raw water turbidity, the flow may be interrupted to reduce cumbersome filter cleaning. Separation of solids is only of secondary importance in dynamic filters.

Dynamic filter performance is, as described by its adjective, dynamic. The water quality between filter inlet and outlet hardly changes during periods of low raw water turbidity. During raw water turbidity peaks, however, the quantitative change is drastic as no water is available in the filter outlet! Dynamic filters act like turbidity meters connected to an open-close valve; i.e., they rapidly get clogged when raw water of high turbidity passes through the filter.

Dynamic filters are similar in layout to intake filters, but differ in filter material size and filtration rate. Especially the gravel size of the top filter layer is smaller; i.e., less than 6 millimetres in diameter, while filtration rate is usually more than 5 m/h, Maximum available headloss is still limited and ranges between 20 and 40 cm in spite of finer filter material and greater filter velocity. Finally, the horizontal flow velocity over the filter bed surface should be small or non-existent; i.e., less than 0.05 m/s or nil, to prevent removal of accumulated silt during turbidity peaks.

Dynamic filters are cleaned after each raw water turbidity peak. Cleaning is also carried out manually and in the same way as in intake filters. During periods of dynamic filter interruptions, treatment plant operation is reduced (e.g. by declining filtration rate operation in slow sand filters). Nevertheless, dynamic filters should only be used with raw water experiencing short turbidity peaks; i.e., from a few hours to maximum half a day. Dynamic filters are preferably located at the site of treatment plants to facilitate monitoring and cleaning by the caretaker.

Russian sanitary engineers introduced the idea of dynamic filters to Argentina [50], where about 50 filters were installed and operated in the late 1970s. However, filter design differs from the one presented here. There raw water flows into a dissipation chamber and from there over an inlet weir on top of a sand filter. The filter is operated in such a way that a water layer of a few millimetres flows over the sand surface. This flow washes the solid matter deposited on top of the filter bed into a sand recovery chamber installed at the end of the filter. Pilot plant studies conducted by Watertek with Water Research Commission funding to test and demonstrate the use of this filter design [51 ] are in progress in South Africa.

10.3 Vertical-flow roughing filters

Roughing filters can be considered a major pretreatment process for turbid surface water since they efficiently separate fine solid particles over prolonged periods. They are therefore placed at the treatment plant site and operated in combination with other pretreatment units such as dynamic filters or sedimentation tanks. Roughing filters precede final treatment processes, such as slow sand filtration and chlorination.

Vertical-flow roughing filters usually consist of three filter units arranged in series as shown in Fig. 38. The water to be treated flows in sequence through the three filter compartments filled with coarse, medium and fine filter material. The size of the three distinct filter material fractions is generally between 20 and 4 mm, and graded, for example, into fractions of 12-18 mm, 8-12 mm and 4-8 mm.

Vertical-flow roughing filters operate either as downflow or upflow filters. They are hence either supplied by inflowing water at the filter top or at the filter bottom. The filter material of vertical-flow roughing filters is completely submerged. A water volume of about 10 cm depth usually covers the gravel. The top should be covered by a layer of coarse stones to shade the supernatant water and thus prevent algal growth often experienced in pretreated water exposed to the sun. Drainage facilities, consisting in perforated pipes or a false filter bottom system, are installed on the floor of the filter boxes. Finally, pipes or special inlet and outlet compartments are required to convey the water through the subsequent three filter units.


Fig. 38 Layout and Design of Vertical-flow Roughing Filters

Vertical-flow roughing filters are usually operated at 0.3 to 1.0 m/h filtration rates. Vertical-flow roughing filters may be sensitive to hydraulic fluctuations, especially if loaded with large amounts of solids. Settled matter might be resuspended at increased filtration rates, causing solids to break through the filter. Filter operation at constant flow rates is, therefore, recommended. Raw water containing colloidal matter and a high suspension stability should be treated at low filtration rates and preferably with fine filter material. Filter resistance is usually less than 20 cm per filter unit and, hence, not a decisive operational criteria for properly designed and operated roughing filters.

Due to structural constraints, vertical-flow roughing filters have a relatively small filter depth of about 1 m. Total filter depth of the three filter units used in series is thus 3 m. This total available filter dentin limits vertical-flow roughig filter application. It can generally and efficiently handle moderate raw water turbidities of 50 to 150 NTU. Raw water pretreatment by intake filters, reduction of filtration rate or provision of additional filter boxes would be required to treat raw water of higher turbidities.

In vertical roughing filters in layers, where all three gravel fractions are installed in one filter box with a total filter distance of about 1 m, low turbidity raw water can be pretreated. However, due to cleaning aspects this filter design can only be used for upflow operated roughing filters. In such filters, the coarse filter material is placed at the bottom and the finest material at the top of the filter. The separated solids, which accumulate mainly in the coarse filter fraction next to the filter bottom, can be easily flushed out with the water stored in the filter. Therefore, the use of upflow roughing filters in layers is recommended. Down flow roughing filters in layers face considerable problems with hydraulic filter cleaning. The bulk of solids accumulated in the coarse filter material on top of such filters would have to be flushed through the finer rather clean filter material and would thus soil the entire filter bed.

Adequate and efficient washwater collection is important for reliable roughing filter operation. Perforated pipes or a false filter bottom can be installed in vertical-flow roughing filters. Perforated pipes, which should be laid in a coarse gravel pack to support an even washwater abstraction, would require the installation of additional filter material in vertical-flow roughing filters. Preference is given to false filter bottoms as they allow an even washwater abstraction and do not require additional gravel layers. Although special perforated concrete slabs will be necessary, they may be readily produced locally.

A comparison of downflow with upflow roughing filters reveals the following:

· Direction of flow and sedimentation are obviously the first differences which might interfere or support solids settling on the filter material. Solid removal efficiency should consequently vary in the two filter types. Theoretically, downflow filters should have a better performance than upflow filters as the solid particles are more likely to settle on top of the gravel surface in the direction of flow than under countercurrent conditions. However, practical field experience has shown a similar efficiency for both filters. In dead filter zones, where the water flow is reduced to a minimum, solids settle regardless whether the roughing filter is operated in upflow or downflow direction. Hence, filter efficiency is similar in both filter types.

· The accumulation pattern of retained solids is another difference between downflow and upflow filters. The bulk of the solids is deposited at the inlet of the filter; i.e., for downflow filters in the upper part of the filter, and for upflow filters in the filter medium located next to the filter bottom. This, however, has a tremendous impact on hydraulic filter cleaning. In downflow roughing filters, the buIk of accumulated solids has to be flushed with a relatively small washwater volume from the soiled filter top through the lower and cleaner filter part to the filter bottom. The opposite is true for upflow roughing filters. The bulk of retained solids is accumulated next to the drainage system and a relatively large washwater volume, accommodated in the upper filter part, is available to flush the solids out of the filter. Owing to the important filter cleaning aspect, use of upflow roughing filters rather than downflow filters is recommended.

The Bathtub by the Riverside


The Bathtub by the Riverside

Xiaojiang township, located by the Qiantang river, the largest stream in the province, faced tremendous problems with its water supply scheme. The raw water was pumped over a distance of about 1 km from the river to the treatment plant situated to the water tower in the centre of the town. In 1986, a public water supply was constructed using the "traditional" water treatment technology, e.g. coagulants and bleaching powder were added to the raw water, which was then pumped into a sedimentation tank and thereafter filtered through rapid sand filters However, the river is known to carry large silt loads especially during the rainy season. These solids, accumulated in the raw water main, increased the headloss in the pipe and seriously reduced its hydraulic capacity. Moreover, the water consumers drinking a lot of tea were always complaining about the unpleasant taste of the distributed water.

Rehabilitation of the water treatment became inevitable after six years of operation. Embarrassed by the situation, Mr Xu and his team transformed the sedimentation tank into two upflow roughing filter units, and constructed two new slow sand filters. All these installations were built behind the surrounding wall of the existing treatment plant and did not attract much public attention. However, these modifications did not solve the clogging problem in the raw water pipe, and the small raw water pumping house could not accommodate any installation larger than the common chemical dosing equipment. The project team admitted their design errors and decided to expose themselves to public criticism by erecting a gaudy and flashy structure.

To avoid a second pumping step, two additional upflow roughing filters were constructed on an elevated positron next to the dam of the river. The walls were covered with nice white tiles as commonly used in bathrooms. However, Mr Xu and his team convinced by the efficiency of roughing and slow sand filters had, on this occasion, made the right decision. Raw water turbidity of 500 NTU is now reduced to 60 -180 NTU by the upflow roughing filters, to 12 - 30 NTU by the second prefilters, and the filtrate of the slow sand filters is now always less than 5 NTU. Even more important, the complaints of the consumers have ceased since chemicals are no longer used to treat the water, and the public has no reason to criticise the bathtub by the riverside.

10.4 Horizontal-flow roughing filters

Unlimited filter length and simple layout are the main advantages of horizontal-flow roughing filters. Generally, the shallow structure does not create structural problems, and the filter length is not limited to a few metres. Furthermore, its simple layout does not require additional hydraulic structures and installations as in vertical-flow roughing filters. The raw water runs in horizontal direction from the inlet compartment, through a series of differently graded filter material separated by perforated walls, to the filter outlet as illustrated in Fig. 39. Filter material also ranges between 20 and 4 mm in size, and is usually distributed as coarse, medium and fine fraction in three subsequent filter compartments. To prevent algal growth in the filter, the water level is kept below the surface of the filter material by a weir or an effluent pipe placed at the filter outlet.


Fig. 39 Layout and Design of a Horizontal-flow Roughing

Filtration rate in horizontal-flow roughing filters ranges between 0.3 and 1.5 m/h. It has been defined here as hydraulic load (m³/h) per unit of vertical cross section area (m²) of the filter. Filter length is dependent on raw water turbidity and usually lies within 5 to 7 m. Due to the comparatively long filter length, horizontal-flow roughing filters can handle short turbidity peaks of 500 to 1,000 NTU.

Drainage facilities, such as perforated pipes, troughs or culverts, allow hydraulic filter bed cleaning. These drainage systems are placed at the filter bottom perpendicular to the direction of flow. Drainage facilities in flow direction must be avoided as they could create short-circuits during normal filter operation. Hence, false filter bottom systems cannot be installed in horizontal-flow roughing filters. Since most of the solids accumulate at the inlet of each filter medium, drainage facilities should be placed at the inlet of each filter compartment to enhance hydraulic cleaning efficiency. Installation of troughs complicates construction of the filter box floor. Furthermore, since the horizontal distance Ld between the troughs is usually large, an even abstraction of the sludge is correspondingly difficult. Therefore, use of perforated pipes is the best drainage system for horizontal-flow roughing filters, as it allows easy installation of a dispersed system. Although prefabricated culverts may allow a more even solids removal, connection to the washwater effluent pipes is more complicated.

Horizontal-flow roughing filters have a large silt storage capacity. Solids settle on top of the filter medium surface and grow to small heaps of loose aggregates with progressive filtration time. Part of the small heaps will drift towards the filter bottom as soon as they become unstable. This drift regenerates filter efficiency at the top, and slowly silts the filter from bottom to top. Horizontal-flow roughing filters also react less sensitively to filtration rate changes, as clusters of resuspended solids will drift towards the filter bottom or be retained by the subsequent filter layers. Horizontal-flow roughing filters are thus less susceptible than vertical-flow filters to solid breakthroughs caused by flow rate changes. However, they may react more sensitively to short circuits induced by a variable raw wafer temperature.

Periodic cleaning is also essential for horizontal-flow roughing filters. Hydraulic cleaning is carried out by fast drainage of the water stored in the filter. During filter drainage, the small unstable heaps of accumulated solids collapse and are flushed towards the filter bottom. The solid matter stored in the filter material is washed out of the filter box through the drainage system. Drainage velocities of 60 to 90 m/h are necessary to achieve a good hydraulic cleaning efficiency. Drainage pipes of adequate size are required to achieve the recommended velocity which drains the filter within 1 to 2 minutes. Depending on the solids concentration in the raw water, regular hydraulic filter cleaning, at intervals of every few weeks, is required to avoid deterioration of filter efficiency and development of excessive filter resistance. However, filter resistance will not exceed 20 cm if normal filter operation and regular cleaning are observed. Frequent and efficient filter drainages will also defer the need for manual filter cleaning, which nonetheless becomes unavoidable after some years of filter operation.


Photo 6 Inside View of a Roughing Filter Bed during Hydraulic Cleaning

Learning from Developing Countries


Learning from Developing Countries

Water demand of Basle's agglomeration has been increasing gradually due to industrialisation and migration into the prospering area. Newly constructed buildings and highways have contributed to surface sealing and have reduced natural groundwater recharge. Increased water demand and reduced recharging rate have led to an alarming drop in the groundwater table. The groundwater wells almost ran dry. In order to reverse this situation, an artificial groundwater recharge plant was constructed in Aesch in the early 1970s.

Raw water was pumped from the river Birs into a lagoon for coarse matter separation from where it was conveyed to horizontal-flow roughing filters for fine solids separation. It was then aerated by cascades before flowing into the large lagoon which acts as slow sand filter. The treated water was finally led to recharge wells through the impervious top layer into the aquifer. Although the original capacity of the plant was designed for 400 l/s, operation had to be reduced to 200 l/s due to operational problems. Inadequate solids removal efficiency and gradual silting of the recharge wells were the reasons for the reduced treatment plant operation and for the repeated drop in the groundwater table.

The horizontal-flow roughing filters were designed according to the layout illustrated in Fig. 22. The 15-m long roughing filters, filled with one gravel fraction amounting to 50 - 80 mm in size, were operated at 5-10 m/h filtration rates. This inappropriate design and operation resulted in poor solids removal efficiencies. The slow sand filter was rapidly clogged so that the partly treated water ran through the coarse material of the embankment directly into the recharge well. Furthermore, since the roughing filters could not be cleaned hydraulically, the gravel had to be replaced every six years - a costly undertaking which caused headaches to the management of the water authority.

In the last decade, the roughing filter technology has, however, been developed to a viable treatment alternative in the developing countries. The responsible water authority had access to the necessary information and field-tested the new roughing filters. The comparative test results revealed important improvements; i.e., the small upflow roughing filters with a total filter length of 1 m had up to a six times higher solids removal efficiencies than the old filters. Since they could also be cleaned hydraulically operating costs were reduced The high-tech society was amazed by the efficiency of this low-cost technology.

11. Roughing filter efficiency

11.1 Practical experience

Treatment efficiency is dependent on raw water characteristics, layout and operation of roughing filters. On the one hand, size, concentration, type of particles and suspension stability are the most important water quality parameters influencing suspended solids removal efficiency. On the other hand, filter material size and filter length, applied filtration rate and cleaning frequency are the key factors determining filter efficiency. Hence, roughing filters with identical layout and operation may vary in filter performance with different raw water sources. Even a specific filter will most probably not have a constant filter efficiency with the same raw water source: high particle removal rates will be recorded during periods of high raw water turbidity where a slower rates will be experienced during periods of moderate raw water turbidity. Therefore, an exact indication of filter efficiencies is generally quite impossible.

Treatment efficiencies of different roughing filters have been studied extensively by CINARA [47] at a pilot plant in Puerto Mallarino, Cali, Colombia (reported also in [48]). These field tests are considered the most comprehensive pilot plant studies for roughing filter development. The pilot plant consists of a first pretreatment step using intake/dynamic filters to precondition the raw water drawn from the Cauca River. The flow is then split into five lines where the filter performance of different roughing filters is tested in combination with identical slow sand filters used as reference. The following types of roughing filters are installed at Puerto Mallarino:

upflow roughing filter in series

URFS

upflow roughing filter in layers

URFL

modified horizontal-flow


roughing filter

MHRF

horizontal-flow roughing filter

HRF

downflow roughing filter in series

DRFS

All roughing filters have similar gravel fractions but differ in filter length. Total filter length of URFS, MHRF and DRFS, amounts to 4.40 m. Total filter length of the HRF unitis 7.10 m and 1.60 m for the URFL unit. The slow sand filter units are circular in shape, 2.00 m in diameter and 2.00 m in height. They were filled with a 1 -m deep sand layer, which was gradually reduced due to subsequent sand cleanings, but never fell below 0.60 m. The sand has an effective diameter of 0.2 mm and a uniformity coefficient of 1.57.

Fig. 40 summarises filter efficiencies of the different roughing filters with respect to turbidity removal at different filtration rates and two distinct raw water turbidity levels. The graphs show higher removal rates of generally 85 - 90% or more for periods of high turbidity (150 - 500 NTU). Filter efficiency is reduced to about 80 85% or less during periods of moderate turbidity (30 - 50 NTU), and is hence in accordance with the general filter theory. The different but small filtration rates had no significant influence on the turbidity removal efficiencies of the filters, as laminar flow prevailed in all gravel fractions also at the highest filter velocity of 0.60 m/h, The upflow roughing filter in series and the horizontal-flow roughing filter unit exhibited best performance throughout all test conditions. The smallest turbidity removal efficiency was achieved by the downflow roughing filter unit.

Fig. 41 elucidates the efficiency of the different pilot plant treatment steps with respect to suspended solids and faecal conform reduction. The intake/dynamic roughing filters reduced the average suspended solids concentration by 55% from about 200 mg/l to 90 mg/l. This concentration was further reduced to less than 5 mg/l by the roughing filters and the filtrate of the slow sand filters had an average suspended solids concentration of 0.2 - 0.3 mg/l. The relatively high suspended solids concentration of the upflow roughing filter in layer might be an indication of a comparatively low process stability of this filter.

Average faecal coliform concentration of the raw water of about 40,000 CFU/100 ml was subsequently reduced to about 24,000, 400 and to less than 1 CFU/100 ml by the treatment scheme consisting of intake/dynamic filters, roughing filters and slow sand filters. The modified horizontal-flow roughing filter had the smallest faecal coliform removal efficiency of 96.5%. This rate also influenced performance of the subsequent slow sand filter, which produced an average effluent of 2.6 CFU/100 ml. All the other slow sand filters had average faecal coliform concentrations of less than 1 CFU/100 ml in their effluents.


Fig. 40 Turbidity Removal by Different roughing filters

Fig. 41 documents the high treatment efficiency of the pilot plant. The two pretreatment steps and the slow sand filters were able to reduce the suspended solids concentration from about 200 mg/l to about 0.2 mg/l, or by 3 log, whereas the faecal coliform concentration was reduced from about 40,000 CFU/100 ml to generally less than 1 CFU/100 ml, which corresponds to a 4 - 5 log reduction.

Full-scale treatment plants are not so extensively monitored and controlled as pilot plants. Nevertheless, Fig. 42 documents the development of biological filter activities in the filters of a community water supply [52]. The raw water of La Javeriana's treatment plant originates from the Pance River, a highland river of moderate turbidity. The water is treated by an intake filter, two horizontal-flow roughing filters, and two slow sand filters operated at 1.3, 0.6 and 0.08 m/h filtration rates. Faecal coliform concentration ranging between about 1,000 and 10,000 CFU/100 ml is proof of relatively high faecal contamination of the raw water. Turbidity of about 20 NTU is relatively low during the dry periods, but increases to short turbidity peaks after periods of precipitation. The apparent colour averaging about 100 CU/I follows a similar pattern as turbidity. Mean faecal coliform concentration in the pretreated water amounted to about 200 CFU/100 ml and did not decline during the monitoring period of half a year. Although the treated water had initially somewhat elevated faecal coliform concentrations of more than 10 CFU/100 ml, the effluent concentration levelled out to about 1 CFU/100 ml after three weeks of operation. This corresponds to the period of maturation of the slow sand filter. The overall turbidity and apparent colour reduction, however, indicated a distinct improvement within the first six months of operation. With progressive filter operation, the respective treatment efficiencies also increased in the roughing filter, most probably on account of the gradual development of biological processes in this filter.

Table 4 summarises treatment efficiencies of roughing filters operated at different flow directions. The filter material in the downflow and horizontal-flow roughing filter is rather coarse compared to the one used in the upflow roughing filter operated, however, at more than double the normal filter velocity. Nevertheless, in all three treatment plants, turbidity reduction by the roughing filters amounts to about 70 - 90%. The bacteriological water quality improvement was about of the same order for these three treatment plants.

Treatment efficiency of roughing filters is also limited as they are not capable of treating any type of water as illustrated by the following example [56]. Construction of a water supply scheme was one component of the Laka Laka multi-purpose project. The project team decided to draw raw water from the newly constructed water irrigation reservoir to supply their scheme. High raw water turbidity lead to extremely short filter runs of the two slow sand filters. Two horizontal-flow roughing filters were therefore designed on the basis of the available literature data in order to improve operation of the slow sand filters. The 18-m long roughing filters were operated at 2.5 m/h filtration rate. Since filter efficiency was very poor at this rate, filter velocity was gradually reduced to 0.5 m/h, but without achieving a substantial treatment efficiency improvement. These problems were encountered mainly because roughing and slow sand filters have never been used in this area before. However, they could have been avoided by pilot plant tests (which are strongly recommended in such a situation) conducted during the project design phase.

Microbiological Benefits from Gravel Filters


Microbiological Benefits from Gravel Filters

In 1977, a water supply was constructed in the community of Cocharcas located in an agricultural area of the high Andean Sierra and numbering about 1,000 villagers. Its typical design comprises an abstraction from an irrigation canal, a sedimentation tank, two slow sand filters a reservoir, and a distribution system with single-tap household connections. By 1985, the water supply scheme had seriously deteriorated. The system was only working two to three hours a day owing to the frequent use of the irrigation canal by other villagers. Neither the intake nor the treatment plant had a flow control system. The caretaker was only concerned with filling up the reservoir as quickly as possible. Thus, since the slow sand filters were heavily overloaded and without treatment efficiency, faecally polluted water was supplied to Cocharcas. Rehabilitation of the system was thus necessary and an agreement on water use with the neighbouring communities was therefore concluded A small weir installed at the intake site revealed the limited need for water of the village as compared to that required by agriculture. To allow adequate operation of the slow sand filters and as additional raw water pretreatment step, two gravel filters were constructed with community participation. The treatment plant is now running at a constant flow and the efforts were rewarded by the following water quality improvement data:

Faecal Coliforms

mean

% reduction

% reduction

(counts/100 ml)

value

per trmt step

cumulative

raw water

20,000

-

-

sedimentation tank

14,500

27

27

gravel filter

1,200

92

94

slow sand filter.

20

98

99,9


The Andean experience reveals that gravel prefilters enhance slow sand filter. operation and increase the overall plant performance. The multiple barrier system proves to bean appropriate concept for rural water supply.


Fig. 41 Suspended Solids and Faecal Coliform Reduction by Roughing and Slow Sand Filtration

11.2 Pilot plant tests

As described in the previous chapter, the worldwide experience with roughing and slow sand filters documents the significant potential of this treatment concept in producing potable water from polluted turbid surface water. There is no doubt about the general treatment efficiency of slow sand filters, since a biologically mature filter will consistently reduce the concentration of microorganisms by 2 to 4 log (99 to 99.99% reduction). It is more a question of specific treatment efficiency of roughing and slow sand filters when fed with a local raw water source. Hence, treatability of a particular raw water is of major concern to design engineers, especially if local practical experience with the considered treatment process and raw water source is not available.


Fig. 42 Turbidity, Apparent Colour and Faecal Coliform Reduction at the Treatment Plant La Javeriana, Colombia

Table 4 Examples and Practical Experience with Roughing Filters

Layout and Performance

Azpitia, Peru

El Retiro, Colombia

Blue Nile Health Project, Sudan

type of roughing filter

downflow

upflow
(multi-layer filter)

horizontal-flow

filtration rate

0.30 m/h

0.74 m/h

0.30 m/h

design capacity

35 m³/d

790 m³/d

5 m³/d

filter length

60 cm, F 40-25

20 cm, F 18

270 cm, F 25-50

and size (mm)

60 cm, F 25-12

15 cm, F 12

85 cm, F 15-20

of material

60 cm, F 12- 6

15 cm, F 6

85 cm, F 5-10



15 cm, F 3


turbidity (NTU)

· raw water

50 - 200

10 - 150

40 - 500

· prefiltered water

15 - 40

5 - 15

5 - 50

faecal coliforms [/100 ml]

· raw water

700

16,000

> 300*

· prefiltered water

160

1.680

< 25*

reference

[53]

[54]

[55]

* as E.coli

Limits of Roughing Filters


Limits of Roughing Filters

The Laka-Laka Project in the Andean region is a multi-purpose project aiming at providing water to a large irrigation scheme and to Tarata, a small town of 3,000 inhabitants located next to the newly constructed gravity dam. The water in the reservoir was brownish in colour and had to be treated before it could be used as drinking water. A local non-governmental organisation (NGO) experienced in community work but lacking technical know-how in water supply was responsible for project implementation. Water treatment design was based on some Literature gathered by the local staff.

Two large slow sand filter. units were constructed in a first phase, however, they were rapidly clogged by the turbid raw water. The literature was again consulted and the staff decided to construct two horizontal-flow roughing filters as recommended in the manual Each of these filters had a total filter length of 18 m and were operated at a flow rate of more than 2.5 m/in. However, turbidity could skill not be reduced significantly by the prefilters. Since treatment plant construction had been carried out with community participation, Tarata's citizens expected a good water quality after their substantial contribution towards the treatment plant construction. Relations between field staff and local population became tense.

As roughing filters had not been used in their country so far, the NGO sought advice from water treatment experts of a neighbouring country. Ana María was contracted as consultant to the project. During her first field visit, she went to inspect the reservoir and saw the same brownish raw water flowing out of the roughing filters operated at reduced flow rates as recommended before she visited Tarata. The last rain had ended three months prior to her visit, however, the raw water stored in the reservoir had hardly changed appearance since then. Turbidity was still around 300 NTU. Ana María's preliminary conclusion was confirmed by laboratory tests which revealed that the raw water was carrying a large amount of colloidal matter which could not settle in this stable suspension.

Field tests had to be conducted to determine the most adequate treatment scheme for this cliff cult raw water. The local NGO set up a small pilot plant according to the design of the consultant. It was located next to the inlet of the old gravel filters consisting in three concrete rings used as upflow roughing filters and a larger ring simulating the slow sand filter. The three columns were filled with gravel from the old filter, however, alum sulphate and lime were added to the effluent of the first column. Hence, the second two units were operated as contact filters and their efficiency was extraordinary. The raw water turbidity of about 350 - 400 NTU was reduced to about 340 NTU in the first filter column, to about 20 NTU in the second, and to 1.5 NTU in the third filter column at a dosage of 40 mg/l alum sulphate and a pH of 10 adjusted with the addition of lime. The pilot plant results were used as design values for the rehabilitation of the treatment plant.

This experience proves that each treatment process has its limitation just as the competence of field staff.

A wide range of raw water qualities can theoretically be treated by conventional water treatment processes; i.e., coagulation, flocculation, sedimentation, rapid sand filtration and chlorination, as these treatment schemes are flexible with regard to chemical dosage, detention time, hydraulic loads, and water pressure. In contrast to such schemes, roughing and slow sand filters are rather limited in operational flexibility but provide high process stability. Owing to the simplicity of the roughing and slow sand filter technology, only the following three salient points will have to be answered by pilot plant studies:

· can roughing filters reduce raw water turbidity to a level required for reasonable slow sand filter operation?

· at what rate does the headloss in the slow sand filter increase?

· on what design values should the project layout be based?

The first question centres on pretreatment efficiency of roughing filters with regard to turbidity reduction. A comprehensive literature review [17] reveals that an upper turbidity limit amounting between 5 and 20 NTU will allow a reasonable slow sand filter operation. The most adequate pretreatment scheme is dependent on the raw water characteristic. However, information on raw water quality is quite often scarce or not available, especially for small surface water sources. The lack of water quality data can be partly offset by a characterisation of the raw water source. A highland river, lowland stream or a still surface water will carry different types of solid matter. An inspection of the water course and the study of sludge deposits in the river bed and on the embankment will provide information on type and size of solids found in the water during periods of high discharge. Interviews with the local population might provide some details on seasonal water level fluctuation and type of turbidity (colour, period of turbidity peaks) over the year. Finally, simple tests, such as settleability and suspension stability tests as described in Annex 1, will generate valuable information on the separation characteristics of the solids. The information obtained will help to select the type and number of pretreatment steps as presented in Chapter 12. Efficiency of the chosen pretreatment scheme will then be assessed in a small pilot plant as outlined in Annex 5.

The second question focuses on the development of headloss in the slow sand filter. The rate of filter resistance increase is crucial for the determination of slow sand filter performance in treating a specific pretreated raw water. Slow sand filter runs (time between two consecutive filter cleanings) of at least one month should be possible. Frequent filter cleaning would interfere with the biological activities concentrated mainly on the filter bed; i.e., in the so-called "Schmutzdecke". Slow sand filters with short filter runs of a few days act predominantly as physical filters and are thus not able to substantially improve the microbiological water quality. Development of the "Schmutzdecke" is known as ripening period and greatly depends on the organic load and biological raw water composition. This biological layer gradually grows on top of the sand bed and becomes more compact with progressive filtration time. Thus, the water level will start to increase in an inlet controlled slow sand filter. The filter has to be cleaned the moment the supernatant water level reaches the overflow. Since every water is unique with respect to the building up of the "Schmutzdecke", development of the headloss should be recorded by simple piezometer readings. Operational characteristics of slow sand filters should therefore be studied by pilot plant tests if practical experience is not available locally.

The last question aims to optimise treatment plant design. Size and filter layout may be modified once the selected treatment scheme has proven its general suitability. The hydraulic filter load has a direct impact on the size of the structures as it influences them proportionally. However, roughing and slow sand filters should not be designed on the basis of their highest permissible filtration rate. Use of more conservative values is recommended, e.g. a filtration rate of 0.1 0.2 m/h for slow sand filters. Higher filtration rates may anyhow be necessary with increasing water demands. However, installation of a prefilter as a first pretreatment step, use of finer filter material in the roughing filters or reduction of the depth of the sand could offer cost saving alternatives which can be assessed by pilot plant studies.

Additional aspects are, however, necessary in the planning and implementation phase of pilot plant studies. These will include:

- location of the raw water intake should, whenever possible, be identical with that of the planned treatment plant. However, the raw water supply might create some problems, especially if the water has to be pumped. In this case, tapping of raw water from another water supply system using the same raw water source should be investigated. A continuous raw water supply is essential for adequate pilot tests. Provision of a raw water tank is necessary if water cannot be pumped or supplied continuously.

- access to the pilot plant should be easy and possible throughout the year. The site should be protected from vandalism and robbery and allow easy discharge of filter drainage water. Availability of a small storage room for field test equipment near the pilot plant would be advantageous.

- the material required for the pilot plant should be available locally. PVC or concrete pipes with a minimum diameter of 30 cm can be used to simulate vertical flow roughing or slow sand filters. Slow sand filters can also be installed in ferro-cement tanks. Horizontal-flow roughing filters however require the construction of open channels to allow adequate filling of the filter material. Recommendations and design examples of pilot plant layouts are illustrated in Annex 5.

- the pilot plant tests should last for several months. The field test period should at least cover the period with the highest raw water turbidity and ideally run over a full year. To gain preliminary operational experience with the pilot plant, field tests should start a few months prior to the expected turbidity peaks.

- pilot plant operation must be performed at constant flow conditions. Generation of conclusive test results requires unchanged operational conditions throughout a complete filter run. Since slow sand filter test runs might last more than a few months, operation of filter units in parallel are recommended for the study of different design options.

- the pilot plant should be monitored by local people trained on the job. A daily visit should entail the control of the flow through the filters, measurement of the raw water turbidity and that of the different treatment steps, as well as recording of the headloss development in the slow sand filter. Additional water quality analyses with field test kits or in the local laboratory are included in the monitoring programme. A monitoring programme is outlined in Annex 5.

- the field test report presents the results of the monitoring programme, evaluates the data and draws conclusions for the design of the full-scale treatment plant. The large number of data are best reported in tables and in the form of graphs. Water quality data are usually graphically illustrated on a normal or logarithmic scale as a function of filtration time plotted on a normal scale.

Field tests with pilot plants not only cover technical issues, they also have the following important side effects:

- presentation of the treatment process to the future beneficiaries. Laymen may have little knowledge about the technical aspects of a treatment plant, but may still have to construct their own treatment plant through a self-help project. Motivation of community work could prove very difficult if the villagers have no idea of the kind of structures they are supposed to build. A pilot plant is best suited to introduce the prospective water treatment facility to the general public.

- demonstration of the treatment efficiency to the future consumers. Villagers are far more motivated to contribute by cash and kind to the proposed treatment plant if they can see for themselves how the water quality changes. They should also taste the treated water and look at its appearance. Bacteriological water quality improvements could be demonstrated to the public with colony counts on membrane filters for raw and treated water. Appreciation and acceptance of the treated water quality by the consumers are important criteria for long-term use of a treatment plant.

- training of future treatment plant personnel. Involvement of local staff in the construction, operation and monitoring of a pilot plant is an excellent training opportunity for future treatment plant operators. Experience with pilot filter operation is directly transferable to full-scale operation.

It can therefore be concluded that pilot plant tests should be conducted with roughing and slow sand filters in areas where practical experience is not yet available. Field tests are recommended particularly with raw water exhibiting a high suspension stability. Pilot plant tests should also be conducted prior to the design of large-scale treatment plants to achieve a more cost-effective layout. Finally, field tests will determine raw water treatability and avoid failures with respect to roughing and slow sand filter application.


Photo 7 Vertical Roughing Filter Column


Photo 8 Slow Sand Filter Column

Unexpected Iron Mine in Roughing Filters


Unexpected Iron Mine in Roughing Filters

The town of Damongo in West Africa, which numbered 12,000 inhabitants, had a piped water supply system with a daily water capacity of 180 m³ . This capacity was limited by the package water treatment plant which had to be replaced due to serious corrosion and unavailability of spares. The regional water authority therefore started to study alternatives for the package plant. As practical experience with roughing and slow sand filters was now available in the region, such a treatment Option had to be field-tested.

Daniel and Charles, two enthusiastic junior engineers were in charge of pilot plant design. Two 5m long horizontal-flow roughing filter units were constructed and filled with gravel from a nearby quarry identified as potential filter material source for the planned 1000 m³/d treatment plant capacity.

Field tests started soon after completion of the pilot plant. Turbidity reduction by the roughing filters was noticeable but not sufficient. Turbidity removal of the slow sand filter. was good and its effluent generally amounted to less than 5 NTU. However, the prefiltered water increased in turbidity and the colour of the wafer did not charge. Therefore, a laboratory chemist was called to the site to take water samples for quality analysis.

The chemical analysts did not disclose spectacularly new facts apart from a total iron content of 0.05 - 0.1 mg/l in the raw water and 0.2 - 0.6 mg/l in the filtrate of the gravel filters Daniel and Charles blamed the chemist for his inaccurate work and accused him of having mixed the samples. The analysis was repeated but produced similar results. Perplexed by the situation, the young engineers started to investigate the filters. How can a filter increase the iron concentration ? The red surface of the gravel led them to the solution; i.e., the water flowing through the filter dissolved iron from the lateritic material.

The roughing filters performed well after the gravel had been exchanged by filter media found elsewhere. However, the experience with the "hidden iron mine" saved the project from additional costs, as replacement of filter material in the 1000 m³/d would have been quite an expensive undertaking.

12. Selection criteria for roughing filters

Roughing filters are primarily used to separate fine solids from the water that are only partly or not retained at all by stilling basins or sedimentation tanks. Roughing filters mainly act as physical filters and reduce the solid mass. However, the large filter surface area available for sedimentation and the relatively small filtration rates also support adsorption as well as chemical and biological processes. Therefore, besides solid matter separation, roughing filters also partly improve the bacteriological water quality and, to a minor extent, change some other water quality parameters, such as colour or amount of dissolved organic matter.

Since several different prefilter types are available, such as intake and dynamic filters, downflow and upflow roughing filters, and finally horizontal-flow roughing filters, choice of the most appropriate pretreatment method becomes difficult. Selection of an adequate treatment scheme should be based on the following criteria:

· raw water characteristics
· type of surface water
· topography at the intake and at the treatment plant site
· economic aspects
· operational aspects

The first two aspects focus mainly on raw water quality and are discussed in the next chapter. The last three criteria deal mainly with treatment plant layout and operation, and are therefore considered in a second separate chapter.

12.1 Raw water quality as selection criteria

The raw water characteristics determine to a large extent the type of pretreatment process. Turbidity and suspended solids fluctuation is thus the most important information required for the selection of the pretreatment scheme.

· Average and maximum levels of turbidity and suspended solids concentration are of great importance for the design of pretreatment units. In addition, information on the period of turbidity and suspended solids concentration peaks is essential. Do such peaks last for a few hours, some days or a few months? Furthermore, the solids should also be characterised according to their settleability and size. Do particles settle easily in the water or remain suspended? Finally, some information on the organic matter content would be useful.

· Information, especially on peak values of solids concentration, is unfortunately often missing. The sanitary engineer is thus forced to assess peak values or, in case of an available database, he will use the probability paper analysis before designing a treatment scheme. Some simple sedimentation tests carried out during periods of high and normal river discharge will allow the study of the settling properties of the solid matter and characterisation of the suspension stability. Separation of coarse sand and silt can certainly be achieved by a grit chamber, while finer settleable matter can be removed by sedimentation tanks. Roughing filters will separate suspended solids, but may only partly remove colloidal matter.

· The faecal pollution level should also be taken into account when designing pretreatment units as they can improve, to some extent, the microbiological quality of the raw water. Hence, they act as first hygienic barriers and reduce the load of pathogenic microorganisms on the slow sand filters. The faecal pollution level in a raw water source can be assessed by bacteriological analysis; i.e., determination of faecal conform concentration. This type of analysis requires special equipment and expertise. Furthermore, a random water test is only representative of the water quality at the time of sampling. Several samples have to be taken at different times, especially in flowing surface water, to characterise the faecal pollution level in surface water. A sanitary survey of the catchment area may roughly assess the possible magnitude of faecal water contamination. This requires inspection of the water course and its contributors, investigation of wastewater and faecal disposal practices, assessment of dilution during minimum flow, as well as study of human activities in the catchment area. The adapted Table 5 proposed in [6] presents a rough surface water classification system with respect to hygienic risk. It may be used as preliminary determination of the faecal pollution level in surface water.

Table 5 Speculative Surface Water Classification with Respect to Health Risk

health risk by consumption of untreated water

E.coli/faecal coliform [count/100 ml]

possible situation for surface water

no risk

0

draining a well-protected catchment area

low

1 - 10

extensive farming in catchment area

intermediate

10 - 100

farming and scattered houses in catchment area

high

100 - 1000

small settlements and water use upstream of intake

very high risk

> 1000

large settlements with wastewater discharge upstream of intake

In brief, average and maximum turbidity levels and suspended solids concentration, solids settling properties, as well as peak concentration period, are the most important raw water characteristics for selection and design of pretreatment units. Faecal pollution level must be taken into consideration when designing entire treatment schemes.

Surface water type has also a strong impact on the characteristics and amount of solids carried by the water. Small upland rivers, large lowland streams and still surface water generally differ from each other as shown in Fig. 17 and described hereafter.

· Small upland rivers draining a catchment area, protected by a manifold and rich vegetation, will probably have a clear or tinted water colour during periods of mean discharge. Coloured water can be observed especially in slow flowing waters in contact with organic matter, such as in rivers flowing through dense forests or swampy areas where water washes out humic substances from decaying material and turns yellowish or brownish. The colour, which may be partly reduced by roughing filters due to biological activities, will not affect slow sand filter operation which will further reduce colour. The small upland rivers will react to heavy but short periods of rainfall with a sudden increase in run-off and water quality change. Turbidity peaks and/or increase in colour are usually correlated with river discharge. These peaks decrease with falling water level as soon as precipitation stops. In such cases, either intake or dynamic filters may be used to reduce the extreme peak values or to protect the treatment plant from heavy solid loads discharged by the river for a few hours.

· Large lowland streams have a different regime. Local showers do not greatly affect their discharge or water quality. Annual rainfall distribution, including the wet and the dry seasons, have a greater influence on the discharge. Changes occur gradually over a period of some days or weeks when increased turbidity levels or suspended solids concentration are recorded for a few weeks or months. Water quality fluctuations, expressed as ratio between average and maximum values, are usually smaller than in upland rivers. Therefore, pretreatment is permanently required and use of roughing filters, possibly combined with intake filters, is recommended. The choice of roughing filters is dependent, among other aspects, on the level and period of high turbidity or suspended solids concentration. As a rule, moderate turbidities can be treated with vertical-flow roughing filters in series and higher raw water turbidities possibly with horizontal-flow filters.

· Still surface water will probably exhibit the smallest water quality changes. The influent of reservoirs, ponds and lakes undergoes natural treatment processes. Suspended matter will settle and microorganisms will die off with increasing retention time. Nevertheless, suspended and colloidal matter may still remain suspended and algae may grow depending on the degree of eutrophication and extent of solar radiation. To protect the subsequent slow sand filter units from excessive fine solids and algal loads, use of finely graded roughing filters may be appropriate and necessary in such situations.

In short, small upland rivers draining erosion-protected catchment areas are likely to be of low turbidity which may, however, increase to peaks of short duration during periods of heavy rainfall. Such conditions favour the use of dynamic and intake filters. Large lowland streams are generally more turbid and change their quality only gradually and according to the annual seasonal pattern. Use of roughing filters, possibly combined with intake filters, may offer an appropriate option for the pretreatment of lowland river water. Suspended solids, colloidal matter, and algae of a stagnant water source, require as pretreatment method the application of finer graded roughing filters.

Fig. 43 offers a matrix for the selection of an adequate surface water treatment scheme. Type and concentration of solid matter, as well as level of faecal pollution, are the decisive criteria for the determination of the most appropriate separation process. Surface water greatly differs with respect to these quality parameters. However, information on these characteristics and values for a specific raw water source is generally rather basic. Hence, this matrix provides engineers with some guidelines for designing water treatment schemes.

The design of roughing and slow sand filters is usually conservative, i.e., it allows uncertainties with respect to raw water quality and treatability. However, additional tests will allow a more accurate design of the treatment units. Settleability and suspension stability tests, characterisation of solids according to type and size (inorganic matter such as silt or clay particles; organic material such as plankton or algae) and their concentration in the raw water will assist in selecting the appropriate filtration rate, gravel size and filter length. In addition, raw water may contain other pollutants, such as true colour, dissolved organic matter, iron or manganese which need to be separated or reduced. Field tests are usually necessary to determine the removal rate of these substances by roughing and slow sand filtration.

12.2 Layout and operational aspects as selection criteria

The topography has to be taken into consideration in the design of water supply schemes. Location of the intake, topographical conditions of the site and operational aspects are essential criteria for the conceptional layout of water supply systems.

· Surface water intakes often have to be located in remote places to allow the strongly recommended construction of gravity schemes. However, access to the remote intake sites is often difficult, usually time-consuming and regular control and cleaning of the installations not guaranteed and quite often neglected. In such a case, pretreatment at the intake should be reduced to coarse solid removal, and the actual water treatment should only be carried out at the treatment plant, generally located in front of the reservoir and as close to the supply area as possible.

· Local topography may favour construction of a small canal for controlled diversion of surface water and, consequently, installation of an intake or dynamic filter. Favourable river bed conditions may also allow construction of infiltration galleries.

· Drainage aspects should be considered carefully. Intake filters usually operate with drained excess raw water. Hence, their use in a pumped raw water supply system according to standard design (see Fig. 37) is generally not the best option. Intake filters without raw water discharge should be used instead. Furthermore, operation of roughing filters requires an adequate topography for washwater disposal. High wastewater discharges must be possible without causing erosion. The installations should be large enough for runoff to discharge into a receiving water course or, preferably, into a pond especially constructed for washwater storage.

Summing up we can say that gravity schemes should be constructed whenever possible, although they may often require remote intakes which are difficult to maintain. Nevertheless, favourable topographical conditions should be used for the installation of intake and dynamic filters to reduce wastewater discharge problems at the treatment plant site; an aspect requiring careful consideration with roughing filters.


Fig. 43 Algorithm for the Design of Surface water Treatment Schemes Using Roughing and Slow Sand Filtration

Cheap Gravel


Cheap Gravel

Fontanero Tulio, caretaker of Taminango's water supply scheme, located in a south-western region of the Andean range, led our small expedition towards the water intake structure. Along the steep path winding through dry barely cultivated or used grassland, we passed a few rundown haciendas providing shade to some cattle. Although it was already late afternoon, the sun was still strong A splendid view of the hilly highland spread peacefully below us and rewarded our tedious 2-hour walk. The narrow trail flattened after the vantage point and led into a narrow valley covered by small trees and bushes, an indication for the presence of water. After regaining our breath on the flat stretch I enquired when the local people had last visited the intake. "About two weeks ago" was Tulio's answer, whereas the District Engineer declared to have inspected the site a month after the intake had been reconstructed within the frame of a field study project. Gentle splashing announced the nearby water source and, after a final jump through small bushes, we reached the brooklet. Rehabilitation work had been adequately carried out and the intake filter placed at the river site as recommended. Water was flowing through the system and everything seemed to be working well. The District Engineer cut a branch off a tree to check the gravel level in the filter. He slowly dipped the branch into the turbid water and lowered it further without ever touching ground. At first everybody was surprised and later embarrassed. The inflow through the inlet pipes was instantly stopped with two plastic sheets and the filter box was drained. The emptied tank revealed that the gravel had been removed or illicitly stolen by some farmer. We discovered horse dung at the site, a clear "fingerprint" of the robbery. The District Officer pushed his cap back onto his neck and stared into the empty filter box. To refill this remote filter box with gravel would certainly require considerable transport efforts. The plastic sheets were removed, the water slowly refilled into the intake structure before it started flowing again - untreated - through the long supply line towards Taminango's water reservoir.

Not much was said during our descent, however, I hoped to find the wheelbarrow recently used for concrete work placed against the wall of a dilapidated cottage. Anyhow, this would have not greatly changed the situation. Tulio, who lives in the village, is unable to properly look after this remote intake filter.

Economic and operational aspects also influence the selection of pretreatment schemes. Construction costs are correlated with operating costs. Regular maintenance increases reliability of the water treatment scheme.

· Construction costs may possibly be reduced with the multibarrier concept. Adequate pretreatment units allow the design of subsequent treatment units operated at higher hydraulic rates or requiring reduced filter lengths. Overall construction costs of the treatment plant will thus be lowered. Apart from taking advantage of the natural pretreatment potential of stagnant surface water or optimally locating surface water intakes, use of grit chambers, sedimentation tanks, as well as intake and dynamic filters should always be taken into account to allow reduced roughing filter sizes. Part of the capital costs might be used for operating costs if the treatment units are reduced in size, and filter cleaning frequency increased. However, since the additional costs for filter cleaning are generally not substantial, use of intake filters as the first pretreatment stage is usually recommended.

· Sedimentation tanks should be used if large volumes of settleable matter are carried by the raw water. The high suspended solids concentration in flowing surface water may be separated to a certain extent by perikinetic (self-induced) flocculation, thereby reducing the solid matter load on the subsequent filter units. Construction of sedimentation tanks is recommended in such cases since tank cleaning is easier than filter cleaning. A sedimentation tank can easily be converted into a roughing filter if the solids removal efficiency of the sedimentation tank is insufficient.

· Regular filter cleaning is not only important to restore the treatment plant's efficiency, but also to enhance the caretaker's responsibility and to keep him on the job. Intake filters requiring weekly cleaning may be a way to support this aspect. Finally, the washwater demand, which is dependent on the type of prefilter used, increases as follows: dynamic filters, intake filters, vertical-flow and horizontal-flow roughing filters. This could also be a decisive factor for the selection of the pretreatment scheme, especially if water is scarce or has to be pumped.

In short, the overall costs may often be reduced by a sound treatment scheme design using a sequence of different treatment steps. Sedimentation tanks and intake filters are adequate pretreatment steps to reduce high solids concentration of readily settleable and filterable matter. Routine maintenance work is essential for good treatment plant performance. The washwater demand and disposal should be taken into consideration when designing a treatment plant.

The solid matter removal efficiency of sedimentation tanks, intake and dynamic filters is illustrated in Fig. 44. These pretreatment processes can considerably improve the raw water quality or protect the treatment plant from heavy sludge loads, providing that the nature and occurrence of the solid matter allows for easy separation in the settling tank or accumulation on the filter bed. Pretreatment by twin stage prefiltration is generally favoured with regard to treatment efficiency and in terms of construction and operating costs. Reduction of the solid matter load on the roughing filters by intake filters enables longer roughing filter runs and, consequently, washwater savings. Longer filter operation may enhance biological processes and, thus, increase filter efficiency with respect to for instance true colour and dissolved organic matter reduction. An existing treatment plant can be increased in capacity by subsequent installation of intake filters. The numerous advantages of intake filters favour a larger use of this filter type.


Fig. 44 Role of Sedimentation Tanks, Intake and Dynamic Filters in Raw Water Pretreatment

Run Down Sedimentation Tank Impairs Roughing Filter


Run Down Sedimentation Tank Impairs Roughing Filter

The village of Plumbon lies on the northern coastal plain of a large Asian island. Owing to the saline groundwater, surface water from the river Cimanuk is used as raw water source. Since the village is situated in the lowlands water has to be pumped in three stages; i.e., raw water is pumped to a sedimentation tank located next to the river, the presettled water is then lifted to the treatment plant comprising two roughing and one slow sand filter. unit, and the treated water is then conveyed to an elevated tank supplying the 3,000 inhabitants of Plumbon.

The water level of the Cimanuk river increases by more than 2 m in the rainy season. During this period, the raw water contains very high and fluctuating loads of suspended solids, as well as turbidity peak values of more than 4,000 NTU. Extensive erosion causes an important sludge flux on the river teed, and it is estimated that the Cimanuk river creates every year 10,000 m² of new land around its estuary. The raw water intake is fixed and the inlet is always on the same level. This leads to a high load of settleable material in addition to the suspended solids always present throughout the year.

The water is pumped into a sedimentation tank which is also used for balancing purposes between the first and second pumping stage. Originally, the tank was 2 m deep, however, since it has no draining facilities, the sludge accumulating in the tank has never been removed. Therefore, the wafer depth in the tank currently amounts to only 0.5 m. Furthermore, the compartment of the first and second tank is by-passed by a pipe leading the raw water directly into the last section of this "sedimentation tank".

Owing to the lack of pretreatment, untreated raw water is pumped to the roughing filters which are unable to meet this heavy silt load. The filters are cleaned hydraulically every three days, however, they had to be cleaned manually after filter operation of only seven months. This cumbersome work was repeated a second time, thereafter, the caretakers refused to carry out this senseless job. Meanwhile, different studies on filter improvement alternatives were carried out by students at the treatment plant. However, an appropriate design, construction and operation of a new sedimentation tank is the key to rehabilitate Plumbon's water treatment scheme.

13. Construction of roughing filters

As a matter of principle, local material, manpower and community participation should be used, whenever possible, in the construction of any water supply scheme in developing countries. The initial costs might be higher than for package or conventional water treatment systems, however, with the construction of roughing and slow sand filters, most capital costs flow back into the local economy. Furthermore, use of local material and manpower is also important with regard to maintenance, repair and extension work, since these resources will remain available even after completion of the treatment plant. The filter structures should be simple, sturdy and of good finish to guarantee their long-term use and reduce future maintenance and repair costs. The layout should facilitate both operation and maintenance.

Local climate and a varying relationship to time will be the determining factors for the construction schedule. Project implementation should be initiated long before site clearance and excavation are started. Ideally, the project engineer should be called by the village after the community's decision to improve the water quality supplied by the system in use or to construct a new water supply. Quantity and quality of potential water sources will then have to be assessed. At this point, the engineer must be aware that a water treatment plant is usually the most complex component of a simple water supply system. Once again we refer to the saying: "the best treatment is no treatment". Use of a remote spring instead of nearby surface water should be taken into consideration. If the community has to rely on surface water, the water treatment project will have to start monitoring the raw water quality, especially during the rainy season. The subsequent dry season will be used to design the treatment plant, estimate the construction costs and secure the financial resources. Organisation of construction work and final preparations should be started during the following rainy season and prior to the actual construction work, which will be initiated during the following dry season; i.e., two years after the community's request for support regarding improvement of its water supply. However, this project preparation largely depends on the way the community discusses the project, decides upon it and organises its contribution in cash and kind. Project preparation quite often takes more than two years, a time span which is not lost if the project can be realised on a strong communal basis. Good site organisation and availability of building material will have a positive influence on the progress of construction work, which can often only be carried out during the dry season when community participation is most likely and climatic conditions favourable. Therefore, large structures might require an additional two or more dry seasons.....- calculation of the total time required by a project is left to the reader.

Sound design, good construction quality and ownership development by community participation are necessary prerequisites to achieve a well-operated treatment plant. Much depends on available skills, on the quality of the material used, and on supervision during construction. A number of key issues need to be considered during the planning and design phase, such as type of locally available material, local construction technique, such as skills with masonry structures, access to the planned treatment plant site, as well as topographic and soil conditions. An experienced construction foreman and regular site inspections by the design engineer will contribute to improve the quality of the structures. Particular attention should be paid to the mixing, compacting and curing of concrete, as this largely determines sturdiness, water tightness, and durability of the structures. Since a water supply should last for more than two generations, during which time the structures are likely to be exposed to adverse climatic conditions, good quality structures are absolutely necessary.

13.1 Filter box

Filter structures can generally be located below or above ground, as illustrated in Fig. 45. The respective choice depends on soil characteristics, available construction material and hydraulic profile. On a flat surface, gravity flow often requires the structures to be placed below ground. This, however, might cause some problems or additional costs for adequate drainage of the washwater. A partially buried filter will require less excavation work and provide support to the sidewalls by the back-filled soil.


Fig. 45 Location and Materials of Roughing Filter Boxes

Roughing filters are usually shallow structures of about 0.6 m (intake and dynamic filters) to 1 - 2 m (roughing filters). The size of the filter box is dependent on hydraulic capacity (see also Section 9.4) and filter length. The filter boxes should not be too big (maximum filter area for vertical-flow roughing filters should amount to 25 30 m², maximum cross section area for horizontal-flow roughing filters about 4 - 6 m²), to avoid problems with high washwater discharge rates. Furthermore, the filter box should also not be too high (preferably around 1 m) to allow easy removal of the filter material during manual cleaning.

A trench excavated in impervious soil, such as clay, silt or lateritic ground, presents a low-cost solution for a filter box. The trench has sloping sidewalls which do not exceed the slope stability of the water-saturated soil (slope less than 1:1). Lining of the base and sidewalls prevents clean filter material from mixing with the surrounding ground. A layer of sand, prefabricated slabs, in-situ applied coatings (concrete lining, ferro-cement, lime mortar) or in exceptional circumstances (e.g. refugee camps), prefabricated plastic linings or the use of geotextiles, are the most appropriate materials to use.

A watertight box has to be constructed in permeable ground or if the filter is installed above ground. In such cases, vertical sidewalls are recommended. Burnt clay bricks with cement mortar lining, concrete bricks or reinforced concrete should be used for such filter boxes. The foundation and floors of the box need special attention to avoid cracks caused by uneven soil settlement. Finally, watertight expansion joints will probably have to be made for long filter boxes constructed for horizontal-flow roughing filters. Alternatively, long filter boxes resting on difficult ground can be split into two or more separate units with flexible pipes interconnecting the compartments. U-shaped units can also reduce the total length of filter boxes. In such a layout, inlet and outlet are to be placed on the same filter side, and the box divided into two equal parts by a longitudinal separation wall.

The filter box should be tested for watertight-ness, preferably before it is filled with filter material. Leaks can be detected and repaired more easily in an empty structure. Special attention must be paid to the joints at the floor-wall interface or the inlet and outlet boxes fixed to the filter box. Watertight joints require water stoppers made of PVC or rubber. Other weak points in the structure include the pipe sealings which possibly need additional reinforcement to prevent cracking of the walls, and seep rings to prevent leaks.

13.2 Filter material

The filter material should have a large specific surface to enhance the sedimentation process taking place in the roughing filter, and high porosity to allow the accumulation of the separated solids. Generally speaking, any inert, clean and insoluble material meeting the above two criteria can be used as filter medium. Filtration tests revealed that neither the roughness nor the shape or structure of the filter material have a great influence on filter efficiency [10]. The following material could therefore be used as filter media:

· gravel from a river bed or from the ground

· broken stones or rocks from a quarry

· broken burnt clay bricks

· plastic material either as chips or modules (e.g. used for trickling filters) may be used if the material is locally available. Attention has to be paid to the uplift forces of the water

· possibly burnt charcoal, although there is a risk of disintegration when cleaning the filter material, it should only be considered in special cases (e.g. for removal of dissolved organic matter)
· possibly coconut fibre, however, due to the risk of flavouring the water during long filter operation, it should be used with care.

Every Day and Every Kilogram Count


Every Day and Every Kilogram Count

I was about to go for lunch when the phone in my office rang. Peter, a former working colleague, was at the other end. With the same enthusiasm as in critical situations, I was informed that his office was contracted by the Disaster Relief Unit to design and construct a water supply system for a resettlement camp in East Africa. The camp should host 20,000 refugees and the infrastructure should consist of simple shelters, a feeding centre, a small hospital, water and sanitation facilities to be set up as soon as possible. Peter needed technical advice on the design of the water treatment plant which had to meet special construction criteria; i.e., installation time and weight of building material had to be kept to a minimum.

After the call, I had my lunch in the train heading towards the capital where I met Peter in his office early afternoon to discuss the water supply project. The raw water had to be pumped from a large irrigation canal whose water quality was unknown but rather turbid looking. Cement is rather expensive and often scarce in that country. We sat between drawings, reports and computers and looked at each other waiting for a stroke of genius. Meanwhile, the water of a small biotope in the back garden was reflecting the sunlight of the warm summer afternoon. Peter suddenly got enthusiastic again and proposed to use the "biotope construction technique". The rest of the design was completed within a short time.

Two weeks later, Toni volunteer of the Disaster Relief Unit and construction foreman, was sitting in a cargo aircraft heading for Africa. The aircraft also carried a number of large plastic sheets and different plastic fittings which were unavailable in the country of destination. Soon after his arrival, Toni started construction of the treatment plant with about 100 casual labourers, and within six weeks the pumping station, two sedimentation tanks, four horizontal-flow roughing filters and the treated water reservoir were set up. The tanks and filters were designed as earth basins with inclined walls and earth dams made of bags filled with the excavated soil. The basins were then coated with the prefabricated plastic linings. Perforated pipes were laid in the roughing filters to allow hydraulic filter cleaning. Trial operation of the treatment plant revealed a satisfactory efficiency; i.e., the raw water turbidity of 1,000 2,000 NTU was reduced to half of its initial value by the sedimentation tanks, and turbidity in the effluent of the roughing filters was recorded at 5 - 20 NTU.

The infrastructure of the refugee camp was then handed over to the local Commissioner for Refugees. However, political disputes about implementation and use of the camp started among the countries involved soon thereafter. Finally, 5,000 refugees settled almost two years after completion of the camp and reminded Toni of an experience he had during construction. A local foreman had told him: "You have a watch but I have the time .... ".

Gravel is the commonly used filter material but it was replaced by broken burnt bricks in the horizontal-flow roughing filters constructed by the Blue Nile Health Project in the Sudan [55], by palm fibre called "ijuk" in a roughing filter project in Indonesia [45], and by plastic material in laboratory tests at the University of Newcastle in England [45]. Table 6 shows that filter efficiency of bricks and plastic as filter material is similar to gravel with respect to turbidity reduction. The filter filled with palm fibre has a better respective performance compared to the gravel filter. Greater porosity (92% versus 37%), responsible for the reduction of the effective flow velocity, is certainly an explanation for this observation. However, since use of the palm fibre caused a considerable drop in the dissolved oxygen concentration, odour and taste problems could occur. Therefore, more detailed investigations are always necessary before palm fibre or any other alternative material is used on a long-term basis.

Roughing filters are usually composed of three filter fractions ranging in size from coarse to fine. The coarse and a large amount of the finer suspended solids are removed by the first filter pack. Since a large pore volume is required in this part of the filter, a coarse filter material is best installed over a considerable filter length. The subsequent filter material is finer and the packs installed over a shorter filter length. The last filter fraction of limited length should assume only a polishing function as it is supposed to remove the last traces of the finest suspended solids found in the water.

Table 6 Relative Filter Performance with Different Filter Material (parallel tests)


Turbidity reduction (size of filter material)

Project

Gravel

alternative filter material

burnt bricks, BNHP/Sudan [55]

87 % (20-30, 15-20 and 5-10 mm)

77 % (bricks 30-50, 15-20,5-10 mm)

palm fibre* Plumbon/Indonesia [57]

39 % (16-25 mm)

67 % (fibre)

plastic material, University of Newcastle [45]

92 % (broken bricks, 30-50 mm; gravel 14-18 and 5-9 mm)

94 % (rings F 38 mm pipes F 30 mm caps width 5 mm)

*only filled in first filter compartment

Since filter efficiency increases with decreasing filter material, one is tempted to use the smallest possible filter material or even to omit the larger filter material and to install only one the finest - filter medium. However, the roughing filter technology requires coarse filter material as denoted by its name. The finest filter material should not be smaller than about 4 mm to ease hydraulic filter cleaning. Filter material which is too coarse, however, has a smaller filter efficiency and would therefore require a longer filter length to achieve the same turbidity reduction. As already illustrated by Fig. 31, use of at least two or generally three different filter material sizes will result in an economic filter design and adequate filter operation.

Table 7 Guidelines on Size and Length of Filter Material for Different Types of Raw Water




filter length of 3 fractions

type of solid matter

filtration rate VF

gravel sizes of 3 fractions

upflow roughing filter in layers

upflow roughing series

horizontal flow roughing: filter

settleable solids


16 - 24 mm

40 - 80 cm




0.6 - 1 m/h

12 - 18 mm

20 - 30 cm





8 - 12 mm

20 - 30 cm



suspended solids.


12 - 18 mm

40 - 60 cm

60 - 120 cm

200 - 400 cm


4 - 0.8 m/h

8 - 12 mm

30 - 40 cm

60 - 120 cm

100 - 300 cm



4 - 8 mm

30 - 40 cm

60 - 120 cm

50 - 150 cm

plankton, algae


8 - 12 mm

30 - 50 cm




0.3 - 0.5 m/h

4 - 8 mm

30 - 50 cm





2 - 4 mm

30 - 50 cm



Table 7 lists some general guidelines on size and length of different filter fractions. These guidelines should not be followed too rigidly. Practical aspects, such as e.g. availability of specifically graded material from a quarry, are more important. If adequately graded filter material is not available, gravel at the construction site can also be sieved through wire meshes or perforated steel plates used as sieves.

During the initial development phase of the horizontal-flow roughing filter technology, the Asian Institute of Technology (AIT) in Bangkok recommended the installation of six to eight small gravel layers [58]. Gravel size should subsequently be reduced from 20 to 2.5 mm and thereafter increased again to 25 mm. There is no reason why the smallest gravel fraction should be located in the centre of the filter bed since the following gravel packs have, by nature, a smaller removal efficiency.

The filter media used for roughing filters has to be clean and free from organic material. It is therefore important to wash the aggregates thoroughly in order to remove all loose and dirty material from the surface of the filter media. If this recommendation is not followed, the effluent quality of the roughing filter will be poor and result in rapid clogging of the slow sand filter.

The different filter fractions should be separated from each other to avoid mixing of the aggregates during manual filter cleaning. The filter material of an upflow roughing filter in layers is preferably separated by a plastic wire mesh. The different filter media of roughing filters in series are separated by the different filter boxes, and perforated separation walls are used for that purpose in horizontal-flow roughing filters. Burnt brick or cement block walls with open vertical joints are best suited for separating the filter fractions. The total area of the open joints should ideally amount to 20 to 30% of the total filter cross section and be equally distributed over the entire cross section to maintain an even flow throughout the horizontal-flow roughing filter. Prefabricated perforated bricks or blocks (e.g. holes F 3 cm, spacing 5 x 5 cm) or loose rubble could be installed instead of open joints. Simultaneous filling of filter material in layers must be observed with loose or weak separation wall structures.

13.3 Inlet and outlet structures

Inlet and outlet structures are necessary to regulate the flow, evenly distribute and abstract the water, and to control the water level in the filter. The inlet and, preferably, also the outlet are equipped with V-notch weirs for flow control if weir overfalls of about 20 - 30 cm can be accommodated in the hydraulic profile of the treatment plant. The V-notch weir at the outlet can be omitted in treatment plants with a small available hydraulic head and replaced by an effluent pipe which will maintain the water level in the filter at a minimum height. A flow rate control allowing accurate flow adjustments should always be installed at the inlet of roughing filters. A flow rate control at the filter outlet is not recommended as backwater effects create flow adjustment difficulties. An inlet weir can control the headloss and the water level increase in the inlet box located after the weir also indicates filter resistance development.

Even flow distribution through the filter bed is achieved either by a false filter bottom or by perforated pipes in upflow roughing filters, and by an inlet chamber with a perforated separation wall in horizontal-flow roughing filters. Fig. 46 illustrates the inlet and outlet structures of a horizontal-flow roughing filter. The middle part of the separation wall next to the inlet chamber should be perforated. A full wall at the bottom and at the top respectively, prevents coarse settled solids or floating matter from penetrating into the filter. The minimum width of the inlet chamber should be at least 60 to 80 cm for easy removal of settled matter. A similar outlet chamber is installed in horizontal-flow roughing filters at the effluent side. However, the openings in the separation wall after the last filter pack are distributed throughout the filter cross section. It is important to protect the pretreated water from algal growth or from airborne pollution. For that purpose and to avoid mosquito breeding, horizontal-flow roughing filters have to be filled to about 30 to 40 cm above the effluent weir level with filter material, and the outlet chamber must be covered. In upflow roughing filters, the effluent pipe located roughly 5 cm above the top of the filter bed, controls the water level. This free filter water surface should also be protected by a layer of large stones (about F 50 - 80 mm, height 20 - 30 cm) or by a removable roof cover.


Fig. 46 Inlet and Outlet Structure of a Horizontal-flow Roughing Filter

13.4 Drainage system

Roughing filters can be cleaned either hydraulically or manually. Drainage systems with a high hydraulic capacity and capable of abstracting the wash water evenly from the filter bed are necessary for hydraulic filter cleaning. Fig. 47 contains different drainage layouts. The installation of a false filter bottom is the best option for vertical-flow roughing filters. About 10-cm high concrete blocks support the perforated filter bottom made of roughly 5-cm thick concrete slabs and perforation holes of about 6 - 8 mm diameter. These slabs are usually installed with open joints of about 4 - 8 mm clear width. Perforated drainage pipes or perforated culverts have to be used in horizontal-flow roughing filters and could be a possible alternative to a false filter bottom in vertical-flow roughing filters. However, a false filter bottom cannot be used in horizontal-flow roughing filters as it would lead to water short circuits. Therefore, perforated drainage pipes and culverts will also have to be installed every 1 to 2 m perpendicular to normal flow direction. Since intake and dynamic filters are surface filters, the sludge which mainly accumulates on top of the filter bed is cleaned manually. Therefore, these filters do not require drainage installations with a high hydraulic capacity.

Pipes and shutoff devices are required for hydraulic filter cleaning and for complete dewatering of the filter box. Large pipe diameters of 150 to 250 mm are necessary for efficient hydraulic cleaning. The hydraulic capacity of these installations should allow an initial filter drainage velocity of 45 - 90 m/in. The outlet of drainage pipes should be located at the lowest possible level in order to make optimal use of the available hydraulic head. For cost reasons, these large diameter drainage pipes should be as short as possible and firmly fixed to the structures in order to withstand the considerable dynamic pressures generated by the flushing cycles. A manhole, as shown in Fig. 48, can be used as interconnection between filter bottom and drainage pipe to alternatively reduce the length of the hydraulic drainage pipes. In contrast to these large pipes, small tubes of 1 - 2 inches in diameter sealed by nipples will adequately dewater the different compartments (inlet, filter and outlet boxes) of a roughing filter. Small structures, however, can also be dewatered with the help of buckets or a tube used as a siphon.


Fig. 47 Layout of Different Drainage Systems for Roughing Filters

Fast opening devices are required to initiate a fast hydraulic cleaning cycle in order not to lose too much washwater during cleaning. These devices should be simple in design, sturdy and easy to operate. In the long run, they must be watertight and equipped with a shut-off device to interrupt the drainage process. Use of butterfly valves is the best but most expensive option. To reduce construction costs, different local designs of fast opening devices have been developed as illustrated in Fig. 34 on page IX-9. A good example of an appropriate technology is the modified milk can cover developed by CINARA in Colombia. ZHAS in China successfully uses a self-designed plug valve installed in a steel box, and Helvetas in Cameroon applies carefully shaped and firmly installed plugs held by a removable bar.


Fig. 48 Levelling of the Drainage System

Finally, structures for fast drainage and safe washwater disposal must be provided. The washwater is generally discharged into an open canal used to convey the hydraulic flush to a nearby surface water or to a small pond used for intermediate storage. Construction of a small lagoon is recommended to recover the solid matter washed out of the filter for use in agriculture. Direct discharge of the washwater in stagnant surface water may gradually silt up the reservoir and adversely affect its water quality.

13.5 Gravel and sand washing facilities

Filter material needs to be carefully washed before it is placed into the roughing and slow sand filters. The gravel and sand must be free from organic material, silt and clay particles, as these impurities cause serious operational problems. The organic matter could decompose and affect taste and odour, and the particles slowly washed out of the filters could thus increase turbidity of the treated water. It must be noted that provision and cleaning of filter material by the community require considerable effort and time.

Filter material washing is best achieved by mechanical stirring of the aggregates in a washwater basin, as mechanical friction rubs the impurities off the aggregates' surface. The washing site should be located in the centre of the treatment plant, preferably next to the slow sand filters which are cleaned manually and more frequently to reduce the transport distance of the filter material. The site should also not be too small and allow 4 - 6 men to wash the filter medium simultaneously. Washwater can be saved and gross impurities eliminated if small filter material loads are stirred and removed with a shovel to a first tank before they are transferred to a second tank for final washing. Such a washing installation is illustrated in Fig. 49. However, centralised cleaning involves transport of the filter material. Use of the open drainage channel located along roughing filters is an alternative to the washing site as it requires less gravel movement.

Raw water of moderate turbidity can be used as washwater, and prefiltered water for final sand cleaning. A flexible hose may also be used to wash the filter material, and should thus also be available if raw water is supplied by gravity to the treatment plant. The washing site may also be equipped with a shower for the treatment plant operator if the washwater is adequately disposed.


Fig. 49 Layout of Gravel and Sand Washing Installation

A Precious Plastic Sheet


A Precious Plastic Sheet

This was already my fourth visit to La Javeriana treatment plant which forms part of the water supply system of a private education centre in a rather large and well-known city in Latin America. I have always looked forward to meeting Alcibiades, the dedicated caretaker of the treatment plant. I enjoyed our interesting discussions and Alcibiades would quite often relate some of his new practical experience he gained since my last visit, or we discussed some pending operational problems for which we found appropriate solutions. We learned a lot from each other, and our working relationship grew into a personal friendship.

Since my visit last year, new houses had been constructed in the catchment area. This further enhanced soil erosion in the rainy season, and uncontrolled wastewater discharges into the rivulet deteriorated the raw water quality especially in the dry season. Alcibiades had to install a small grit chamber in front of the intake filter to reduce the silt load on the filters. He also tried to reduce the increasing bacteriological pollution by the installation of a sand layer in the roughing filter. The first alteration brought the expected amelioration, however, he faced considerable problems with the second modification. The sand layer, which developed a significant filter resistance in the roughing filter, resulted in filter clogging. Since hydraulic cleaning was no longer possible, the roughing filter had to be cleaned manually.

La Javeriana's treatment plant is located on a slightly sloping meadow in a picturesque environment - reason enough to make some photos for my project documentation. I had intended to document the recent changes at the intake filter with some snapshots. What I discovered was a carelessly disposed of plastic sheet near the intake filter, and I was surprised by this litter that did not at all correspond to Alcibiades' working manner. He normally kept the treatment plant and its surrounding in very clean condition. I thought of several reasons for his negligence; i.e., his salary may no longer meet the current standard of living, or he may have personal problems with the administration vat home.

I was about to take away the unpleasant plastic sheet which would had spoiled my photo when Alcibiades arrived on the scene. I told him my problem and asked him to remove the plastic. However, Alcibiades was strongly opposed to my suggestion since this piece of plastic was used to clean the entire filter box during the biannual removal of the gravel from the intake filter. The plastic sheet was used as temporary slab in order not to soil the cleaned gravel. Ashamed of my ignorance I took a picture - along with the plastic sheet right in the middle of the photo!

14. Operation and maintenance of roughing filters

Nowhere in the world will a water treatment run by itself. An input of manpower will always be necessary. Right from the beginning of project implementation, operational and maintenance aspects require careful elaboration and approval of the different parties involved, such as the Ministry of Water, support agencies, and the community. A village water committee is usually formed to manage a water supply scheme. However, the caretaker plays a key role in the operation and maintenance of a water supply. He and his colleagues are normally elected by the water committee which also clearly defines their duties and working conditions, such as salary, fringe benefits, etc. The major tasks of a caretaker at the treatment plant is to control the water flow, monitor the quality, clean the filters and carry out general maintenance work. These activities will be described in the following sections.

Main responsibility for operation and maintenance of a water supply scheme must be given to the community concerned, since reliability of a water supply primarily affects its inhabitants. In other words, the water supply system has to be operated and maintained at village level as much as possible, using locally available resources and infrastructure. Roughing and slow sand filters meet these criteria as they do not require chemicals, mechanical spare parts or highly trained staff. Ownership and self-management of a water supply by a committed community prevents project failures and waste of public funds.

14.1 Caretaker training

Comprehensive training of local staff is essential since technical installations must be run by operators. While most technical problems can be eliminated or reduced by appropriate design and construction, human aspects which might affect treatment plant operation are more difficult to control. Careful, formal training of caretakers and extensive support, guidance, and supervision in the first years of operation are necessary.

Adequate payment of the local staff is equally important. The caretaker of a rural water supply usually has numerous duties; he is often in charge of treatment plant operation, maintenance of the water distribution system, collection of water taxes, clearing irregularities and complaints, etc. Motivation alone will not keep him on the job; his or her work must be adequately compensated.

The caretaker should be recruited from the local village, he should preferably be settled, married, land owner and well-recognised by the community. Ideally, he should also have some technical skills, however, interest and motivation to run a water supply system are more important criteria for his election. He should show his interest and skills during construction of the treatment plant. However, the future caretaker should preferably not be selected during the construction phase of a project but after assessment of the performance of different candidates during this period by the construction foreman and the design engineer who could then propose qualified candidates to the water committee for election. Each caretaker must also have a deputy who can assume operation of the water supply during his absence for reasons of illness, personal matters or other obligations. However, responsibilities of the different staff must be clearly defined and separately developed for each employee.

Formal caretaker training is best carried out by the executing agency and conducted in the local language. Annex 7 outlines a possible training programme. Formal training will be complemented by on-site instructions given by the design engineer. Each treatment plant is different and thus requires the development of individual operation schedules that will have to be elaborated jointly with the supervisor in the first year of operation and reviewed regularly on the basis of the treatment plant performance. Caretaker training is a continuous process. Regular meetings with other caretakers is an ideal platform to exchange experience, enhance reputation and value the importance of the caretaker's inconspicuous daily activities.

14.2 Treatment plant commissioning

Filter operation should only start when construction work has been properly completed. For instance, performance of a horizontal-flow roughing filter only partially filled with gravel will be poor. The water bypasses the impounded gravel layers in such a way that the unit will not act as a filter but as an inadequate sedimentation tank. Emphasis must therefore be placed on a good finish of the construction work, including the installation of proper flow control and drainage facilities, as well as the full supply of filter material. Once the treatment plant is in operation, provision and installation of missing filter material have repeatedly proved impossible as the construction partners might refuse to assume additional work. Subsequent filling of the remaining filter medium could also impair plant performance.

Cleaning of the installed filter material by the drainage system is recommended before starting filter operation. The roughing filters should be filled with water up to the effluent weir level at low flow rates of 0.5-1 m/in. Thereafter, the water is drained off by the first drainage installation situated next to the inlet. Any dust on the surface of the filter material is rinsed to the filter bottom. Impurities accumulated near the drainage system will be flushed out of the filter If necessary, this procedure will have to be repeated two or three times changing the point of drainage from filter inlet to filter outlet. Such filter cleaning will prevent dust particles from settling on the fine gravel fraction and increasing the initial filter resistance. Operational control of the complete drainage system is a positive side effect of the described cleaning procedure.

Project hand over is often combined with the inauguration of the installations. A supply of clean and sufficient water on this special day should be guaranteed. Water treatment operation has to start about two to three months prior to the official inauguration day to ensure a sufficient supply of good quality water and to avoid disappointing the community and the invited guests. The treatment plant may at first not produce the expected water quality, as the biological processes, known as filter maturation, will require some time to develop (a few weeks or months) depending on the raw water characteristics. The treatment plant may be operated at reduced capacity during this period. Pretreatment may be bypassed to accelerate slow sand filter maturation. However, this procedure should be applied only to slightly turbid raw water carrying dissolved organic matter which will not be reduced by the prefilters but used for the development of the "Schmutzdecke" in the slow sand filter.

14.3 Flow control

A 24-hour continuous filter operation makes maximum use of the installations. Continuous and constant flow conditions usually improve treatment plant performance and reduce the required structure size. However, gravity flow is usually necessary for such ideal situations. Continuous flow might not be possible in water supply schemes where the raw water has to be pumped. When pumping is required, the treatment plant might be staffed for 8 or 16 hours a day, depending on whether one or two shifts are available.

Intermittent slow sand filter operation is not recommended for quality reasons. In order not to affect the biological activities in the slow sand filter, this filter can be operated at a declining filtration rate in pumped systems during the unstaffed period of the day. In practice, the stock of supernatant water is drained through the filter at a continuously declining flow rate during the night and in the morning hours, the filter is refilled with pretreated water to reassume normal operation. Such an operation calls for special provisions as pretreated water for the slow sand filter has to be provided at higher pumping rates.

Roughing filters are mainly physical filters. They are less affected by flow interruptions as they do not depend on a continuous supply of nutrients as biological filters. Hence, intermittent operation can be applied without causing a significant deterioration of the prefiltrate, provided smooth restarting of filter operation is observed. Declining filter operation rate of roughing filters to supply slow sand filters with a constant flow is not advisable due to the relatively small water volume stored in the prefilters. The most favourable option in a pumped scheme is the provision of a raw water balancing tank which allows continuous filter operation. Removal of the coarse solids is a positive side effect of such a tank. The different tank volumes required for a 100 m³/d plant are illustrated in Fig. 50.

A Goat and a Bag of Sweet Potatoes

Ngondzen was the fourth water supply system I visited on that day and Ndzenshwai was the last scheme before reaching the hotel in Kumbo, a small district town in West Africa. Tired from the heat and dust, I really looked forward to the evening shower and probably also the entire crew in the four-wheel drive project car. As we entered Nongdzen at rather high speed, the project coordinator suggested to see the caretaker of the treatment plant at once in order not to lose too much fume. Neither Mr Boniface, the local technician, nor I had any objections to his suggestion. As we crossed the junction next to the church we saw a large crowd of people. We assumed that a wedding was being held and drove on to the caretaker's house. However, the chairman of the water committee ran after our car and tried desperately to attract our attention. This is when our schedule got mixed up.

The crowd in front of the church was not celebrating a wedding but had been waiting for us for three hours. We reversed the car and drove it to the church, where a local group of drummers started pounding on their instruments as we were directed to chairs in front of the community hall. The welcoming address was well-prepared, typed on a piece of paper bearing three official stamps, and read by Mr Patrick, the chairman of the water committee. Two dancing groups performed traditional dances after his speech. Thereafter, a colourful cap was placed on my head and I was nominated chief of the village and loudly applauded by the entire community. While another dancing group was starting its performance, a traditional gift commonly donated to chiefs was conferred on me - a goat! Headed by Mrs Dominica, chairperson of the women's group, a cozen women started to dance and deposit a bag filled with sweet potatoes in front of my feet. Overwhelmed by so much of honour, I addressed a word of thanks to the villagers and stressed the importance of maintenance in a water supply scheme.

Mr Boniface, the local technician, was sitting quietly next to me during the entire ceremony. We were then served local dishes and brews in the community hall and more toasts were exchanged. It was late afternoon as we climbed into our project car, the goat attached onto the roof rack and the bag of sweet potatoes loaded in the rear. After cheerfully waving goodbye to the villagers, we left Ngondzen. However, the new chief who was sitting next to Mr Boniface felt embarrassed because he had won, during the two-hour celebration, all the praise for the efforts made by the local technician to mobilise the community, to organise construction material and to supervise this self-help project - a work which had kept him busy for the last two years. We looked at each other without exchanging a word but the message was clear.

The goat and the bag of sweet potatoes were unloaded in front of his home before we drove on to our hotel under a shining moon.

The flow through roughing filters is controlled by a flow control device at the inlet and by a fixed weir at the outlet as illustrated and recommended in Fig. 32 on page IX-7. This is also true for the recommended inlet controlled slow sand filters which compensate the progressive headloss development by a gradual increase of the supernatant water level. For gravity schemes, constant feeding is maintained by a more or less fixed position of the valve in the supply pipe and a subsequent overflow in the distributor box. For pumped schemes with a raw water tank, the flow to the treatment plant is regulated by a mechanical flow rate device as shown in Fig. 33. These two main possibilities are illustrated in Fig. 21 on page Vl-9.

V-notch weirs are generally used for discharge measurements. Permanently installed V-notch weirs or transportable equipment used for flow control are described in Annex 2. The flow rate through each filter should be routinely controlled once a day if V-notch weirs are installed, and with transportable equipment at least twice a week according to the monitoring programme outlined in Annex 8.

Filter resistance in roughing filters is minimal and hardly reduces the flow through the filter. The headloss increases to a few centimetres in well-operated roughing filters. Filter resistance builds up along the entire filter bed as roughing filters act as space filters. It is reduced to its initial value by efficient and regular filter flushing. However, intake and dynamic filters can build up considerable filter resistance as they mainly act as surface filters. Since the headloss in intake filters can increase to 20 - 30 cm within a week [48], the flow through the filter has to be adjusted by gradual opening of the valve located in the effluent pipe. Dynamic filters have to produce by definition a high filter resistance within a short time during periods of high raw water turbidity. This will clog the filter bed and prevent highly turbid raw water from flowing to the subsequent filters. Intake filters are usually cleaned once a week, and dynamic filters after every high turbidity peak.

Filter resistance can easily be determined by measuring the level of the free water tables in the inlet and outlet chamber of roughing filters. The effluent's weir crest level can be used as reference (0-level). Gauging rods fixed to the walls of these two chambers will facilitate the respective measurements.

14.4 Water quality control

A water quality monitoring programme usually aims at:

· characterising the raw water quality

· establishing and monitoring treatment plant performance

· developing operational criteria for the roughing filters and slow sand filters (i.e., schedule for filter regeneration/cleaning)

· optimising layout and operation of the filters (i.e., exchange of filter material, increase or reduce filtration rate).

The most important quality criteria for drinking water is its bacteriological quality. However, improvement of the bacteriological water quality greatly depends on raw water turbidity, efficiency of the pretreatment units in reducing this turbidity, and on adequate slow sand filter operation. Turbidity and bacteriological contamination of the water are, therefore, the key parameters for rural surface water characterisation. Turbidity measurements play a major role in monitoring the pretreatment step(s), slow sand filter efficiency is usually established by bacteriological tests.

However, bacteriological water quality examination requires special equipment, specific field test kits or generally the infrastructure of a laboratory. Well-trained and experienced staff are essential for a reliable analysis. Routinely performed bacteriological water quality tests of rural water supply schemes are generally far beyond the capacity of the responsible institution and, therefore, mostly restricted to random tests. A well-operated slow sand filter is a stable and reliable water treatment unit not requiring frequent bacteriological tests. In practice, test frequency can be reduced to a minimum once the bacteriological efficiency of the slow sand filter is established. Headloss development and length of filter run are appropriate criteria to assess the bacteriological efficiency of slow sand filters. Well-operated slow sand filters use natural treatment processes, and nature will rebel with a headloss increase when filters are overloaded, in contrast to chemical and mechanised treatment processes, where chemical doses and water pressure can often be increased at the cost of the water quality produced. The caretaker may thus greatly influence and control the quality of the treated water by adequate slow sand filter operation and by monitoring the headloss development.


Fig. 50 Required Tank Volume of a 100m³/d Treatment Plant in Correlation to the Flow Pattern

Turbidity measurements are in principle simple and can, therefore, be handled by the local caretaker. However, regular conventional turbidity measurements, although theoretically simple, may be difficult to carry out in rural areas. Transport and communication problems, the fragile nature of delicate instruments and the difficuIties with regard to commodities supply (e.g. batteries, standards), are aspects which may lead to possible failures of the most simple turbidity monitoring programme. Sturdy and simple field test methods have therefore been developed to allow characterisation of mainly physical water properties under actual field conditions. Although the different methods described in Annex 1 will not provide absolute but relative values, they are, however, a useful tool for water quality description of any specific treatment plant.

A simple turbidity test tube developed by DelAgua [7] replaces the common turbidity meters which usually require a power supply. Since the visual method is dependent on the sensitivity of the eye, it is not as accurate as electronic systems, especially in the high turbidity range. The lower practical limit of the tube can measure five TU (Turbidity Units) and therefore meets the turbidity standard required by slow sand filtration.

The filterability test roughly indicates the amount of suspended solids in the water and can therefore be used in place of the standard method for the determination of the suspended solids concentration which requires a highly accurate scale, a vacuum pump and a drying furnace in an air-conditioned room. Furthermore, modified Imhoff cones are used for the determination of the settleable solids volume.

The stability test gives some information on the settling characteristics of the colloidal matter and on the stability of the suspension. The results of this test not only reflect the size and surface properties of the solids but also the chemical and organic composition of the water. Adsorption of Ca2+ and Mg2+ ions on suspended solid surfaces may destabilise a suspension, while humic substances have been reported to increase, in many instances, the stability of a suspension.

Water samples should be drawn from the raw water and from the filter inlets and outlets as indicated in Fig. 51. Additional sampling points may be used to optimise a roughing filter layout (e.g. by possibly exchanging the gravel size). The efficiency of the individual filter layers can be examined by sampling tubes installed at the end of the different filter layers. Water sampling from these tubes should be carried out carefully in order not to resuspend the deposits around the sampling point which would otherwise lead to inaccurate results. Drop-wise sampling is recommended, and the first tube of sampled water must be discarded before starting with the actual sampling.

Simple field test equipment should be allocated to each treatment plant. The caretaker must be properly trained in order to carry out the different water quality tests and monitoring programme for his treatment plant. An example of such a monitoring programme is summarised in Annex 8. The local caretaker should be assisted and guided by a supervisor attached to the operation and maintenance section of the governmental institution responsible for the water supply (i.e., district or regional water administration). The supervisor will initially carry out monthly and later biannual visits to the treatment plant in order to support the caretaker's daily activities and provide a feedback which will be useful for the design and operation of other treatment plants.

14.5 Filter cleaning

Filter efficiency is not constant but may increase at the start of filter operation and certainly decrease when solid matter accumulates excessively in the filter. Hence, periodic removal of this accumulated matter is required to restore efficiency and possibly hydraulic filter performance. Filters are cleaned either hydraulically or manually, and the cleaning methods are dependent on the way solids accumulate in the filter. Hence, the cleaning procedures will therefore have to be adapted to the different filters.

In intake filters, the solids mainly accumulate on top of the filter bed. By increasing flow velocity over the filter surface, a fraction of these accumulated solids may be dragged away by the water. However, intake filters are usually cleaned manually with a rake and shovel once a week. The first step in the cleaning process is the closing of the valve on the prefiltered water line. Thereafter, the inlet control valve is opened to increase the horizontal-flow in the filter box to about 0.20 m/s to 0.40 m/s. The flow over the filter surface may also be increased by closing parallel filter units and directing the total raw water flow into the unit to be cleaned. This method is particularly advisable in systems with limited raw water supply such as in pumped schemes or of small hydraulic pipe capacities. The solid matter retained by the filter is first resuspended by mechanical stirring and then flushed back to the river. Manual cleaning should start at the upper end of the filter and continue in flow direction to avoid silting of the cleaned gravel. The gravel of the intake filter has to be cleaned completely about once a year. A flat concrete slab next to the filter should thus be available to deposit and wash the gravel. A backwash system with a false bottom may be installed in intake filters where a large amount of raw water (at least 10 I/s per m² filter area at a minimum pressure of 2 m water height) is available at the site. Filter operation is restarted by draining the prefiltered water into the river or to waste until it turns clear. Thereafter, the pretreated water can be reconveyed to the subsequent filters of the treatment plant.

Since dynamic filters are also surface filters, they are cleaned manually. The cleaning procedure is similar to that of intake filters, however, dynamic filters have to be cleaned after each high raw water turbidity event or when filter resistance gradually increases over an extended period without turbidity peaks. Cleaning of dynamic filters is easy due to the relatively small filter area as a consequence of the high filtration rate applied (VF > 5 m/h).


Fig. 51 Location of Water Sampling Points

Roughing filters are mainly cleaned hydraulically but can also be cleaned manually if necessary. Regular cleaning of the filter medium is important for proper filter operation. Contrary to filter operation under laminar flow, hydraulic filter cleaning is carried out under turbulent flow conditions. The water stored in the filter is drained out of the filter compartment at high drainage velocities. In order not to lose too much washwater stored in the filter, the valves or gates should be opened quickly. Shock drainage is achieved by a fast opening and closing of the valves or gates connected to the underdrain system of the filter. Starting and stopping the drainage process will induce unstable flow conditions that will loosen and disintegrate the solid deposits accumulated in the filter. Subsequent high drainage rates are applied to flush the resuspended solids out of the filter. High peaks of suspended solids concentrations can be observed in the washwater as illustrated in Fig. 52. However, these high concentrations rapidly decrease with progressive drainage time and additional drainage cycles. The suspended solids concentration in the washwater shows a slight increase at the end of filter drainage when the remaining sludge deposit accumulated at the floor is washed out. In vertical-flow roughing filters, each filter compartment can be drained separately. This allows individual cleaning of the specific filter compartments or of part of a filter if the false filter bottom is divided into segments. Conventional filter backwashing as applied in rapid sand filtration is not possible since the filter bed of roughing filters cannot be fluidised. A large volume of washwater is available in horizontal-flow roughing filters, since the different filter compartment are separated by perforated walls, allowing the stored water of the entire filter to flow into the opened drainage pipe. Hence, a considerable volume of washwater is available to flush the sludge accumulated around the drainage pipe out of the filter. However, unless all drainage pipes are opened simultaneously, large vertical drainage velocities required to flush the deposits accumulated in the entire bed to the filter bottom are more difficult to achieve. In such a situation, the high washwater discharge may create a disposal problem. In horizontal-flow roughing filters, it is very important to start the cleaning procedure at the inlet side as most of the solids are retained in this part of the filter. An initial vigorous drainage at the rear of the filter would wash the bulk of the solids towards this drainage point and enhance the risk of clogging the fine filter part.


Fig. 52 Suspended Solids Concentration in Washwater of Three Subsequent Filter Drainage Cycles

Efficiency of hydraulic cleaning can be assessed by headloss comparison before and after filter drainage. For this purpose, measurements in the filter inlet and outlet must be conducted under the same operational conditions, e.g. with similar filtration rates before and after filter cleaning. Manual cleaning is necessary if initial filter resistance starts to increase and no filter regeneration is observed after hydraulic cleaning. Installation of transparent plastic tubes, used as piezometers and fixed to the outer wall of the filter box at the end of each filter fraction, can be useful for additional headloss control. The headloss data, recorded at these points, is used to determine regeneration efficiency and detect premature clogging of the individual gravel fractions. Careful recording of the water table is important since the difference in head between the subsequent filter layers is usually only within a few millimetres or centimetres. If the water level reaches the top of a horizontal-flow roughing filter, filter resistance might become the decisive criteria for manual cleaning. A free water surface on top of such a filter should never be tolerated since filter efficiency will dramatically drop due to short-circuiting of the water.

Filter cleaning frequency greatly depends on the raw water characteristics, filter layout and operation. Most of the solid matter (80-90%) of tropical surface water is usually composed of stable inorganic material. Since this type of material does not change the chemical properties of the water passing through the filter, it can therefore be stored in the roughing filters without negative impacts. However, high levels of organic matter call for frequent and regular cleaning to avoid consolidation of solid deposits, decomposition of the organics in the filter and to prevent water quality deterioration with regard to taste and odour. Nevertheless, regular hydraulic cleaning is advisable since it enhances filter efficiency and reduces sludge compacting and manual cleaning frequency.

The annual hydraulic cleaning schedule has to be adapted to the annual fluctuation of the raw water quality. High turbidity loads are preferably treated by relatively clean filters to prevent a breakthrough of the solid matter that would affect slow sand filter operation. It is therefore recommended to thoroughly clean the roughing filters before peak loads (e.g. before the beginning of the rainy season). Hydraulic cleaning can be handled by the caretaker and does not normally require external assistance (e.g. community participation). Each caretaker will, therefore, have to establish, through practical experience, the optimal cleaning procedure and frequency required by his own treatment plant. The caretaker will certainly be most interested in an efficient hydraulic cleaning since manual cleaning is time-consuming and labour intensive.

Manual cleaning must be applied when the solids accumulated at the filter bottom or, at worst, all over the filter, can no longer be removed hydraulically. This occurs if proper hydraulic cleaning has been neglected or if solid matter has cohered to the filter material or at the bottom. A slimy layer may cover the filter material if there is biological activity in the filter resulting from high loads of dissolved organic matter in the water. This biological layer will most probably increase filter efficiency at the beginning, but will subsequently hinder the drift of deposited matter towards the filter bottom. Accumulated cohesive matter might also hinder self-regeneration of the filter. Finally, retained material in silted but drained filter beds will also dry up and form a skin around the filter material. Thus, roughing filters should never be kept dry unless the filters are properly cleaned in advance.

Manual cleaning procedure mainly consists in excavating, washing and re-installing the filter material. The filter material is excavated from a drained filter. The coarsest filter material is normally removed first, cleaned and thereafter refilled into the filter section. The first part of the filter material may be stored for awhile, whereas the remaining material can be washed and directly reinstalled to save storage space and reduce cleaning operation. As regards horizontal-flow roughing filters with strong separation walls, each filter fraction is generally handled separately to avoid mixing of material. Simultaneous excavation of the filter material is necessary in upflow roughing filters and in horizontal-flow roughing filter where separation structures are weak, or where these walls are completely missing.

Resieving of the filter material is necessary if mixing of the different fractions occurred or if the filter medium has been broken up into smaller pieces due to excavation and mechanical cleaning. A well-specified, uniform size for each filter fraction is essential to maintain high porosity of the filter bed. In this context, it is clearly more advantageous to install a mechanically-resistant filter material right from the beginning. Reinstallation of the filter material should not create any difficulties. However, the material should preferably be brought into the filter right after having been washed to avoid contamination with dust or other impurities. Disintegrated material in roughing filters must be replaced and filled back to its original level. A stock of additional filter material should therefore be kept at the treatment plant.

Filter cleaning involves a great deal of manual work, often beyond the caretaker's ability. Additional manpower must be mobilised either by contracting local casual labourers or by involving the community. Careful planning and organising is necessary when manual filter cleaning is carried out with village participation. The cleaning schedule should, for instance, not coincide with a period of intensive agricultural work. Adequate material and tools must be provided to allow efficient filter cleaning, otherwise maintenance work will become too tedious and might never be done. Manual filter cleaning requires shovels, sieves, preferably two to three sturdy wheelbarrows, some wooden boards, and buckets. The same material already used for construction should therefore remain at the treatment plant or in custody of the local operator at the end of construction.

14.6 Filter maintenance

Major incidents are often the result of minor causes. This saying also applies to roughing filter maintenance. Filter maintenance is not very demanding as the prefilters do not include any mechanical parts apart from the valves. Nevertheless, maintenance should aim at maintaining the plant in good condition right from the beginning. External assistance for maintenance work can usually be avoided if the following work is carried out properly by the local caretaker:

· periodic upkeep of the treatment plant's premise (grass cutting; removal of small bushes and trees which could impair the structures by their roots; removal of refuse)

· soil protection against erosion (especially surface water intake structures, the washwater drainage channels and surface runoff)

· repairing fissures in the walls of the different structures and replacing the chipped plaster

· application of anti-corrosive agents to exposed metal parts (V-notch weirs, gauging rods, pipes)

· checking the different valves and drainage systems, and occasionally lubricating their moving parts

· weeding the filter material

· skimming off floating material from the free water table

· washing out coarse settled material (distribution and inlet boxes)

· controlling the ancillaries and replacing defective parts (tools and testing equipment).

The term "periodic" does not only apply to the first point in this check list but to all of them. Proper maintenance of the treatment plant guarantees long-term use of the installations at low running costs.


Photo 9 Hydraulic Cleaning of Roughing Filter (Note the Simple Design of the Fast Opening Device as also illustrated in Fig. 34, p. IX-9)

Exciting Natural Science Lectures


Exciting Natural Science Lectures

Mr. Augustine is a secondary school teacher in Rehana, a district centre in a Sahelian region. His favourite subject is natural science as this subject provides the students with a good base for their adult life. However, he was often faced with a passive audience, the pupils also had difficulties in applying the subject taught. For instance, since temperature is of paramount importance in this hot country, Mr Augustine explained that water freezes at 0 °Celsius ( °C) or at 32 °Fahrenheit ( °F). The ambient temperature was around 32 °C which equals about 90 °F, but the water starts to boil at 90 °C or at 90 °F ? The pupils were confused about all the listed figures and could not get familiar with the presented theory as Mr Augustine had no thermometer to make practical measurements.

However, natural science also had its good sides, especially when the school children could clean the gravel and the sand of the community water treatment plant. It was always very shrilling to listen to Mr Dickson's explanations. Mr Dickson was the caretaker of the treatment plant and probably an excellent engineer as he knew a lot about his filters. Mr Augustine's class was invited twice a year to come and clean the filters of the treatment plant. The school children firstly carried out the manual work lasting for about two hours. Thereafter, they could sit under the shade of a palm tree and listen to the exciting stories of Mr Dickson. He told them that very small living particles are found in the turbid raw water, particles which caused diseases such as diarrhoea or the terrifying guinea worm. However, when the water travelled through the filters, these particles, which were retained by the gravel and the sand, started to starve in the filters due to lack of food and eventually died. That was also the reason why filter cleaning was not at all a risky job. The students were able to understand the excellent explanations of Mr Dickson.

Once Mr Dickson showed the students round papers covered with small dots. He had received these papers from the laboratory technician who had recently been examining the raw and treated water for bacteria as he termed these living organisms. The raw water papers were filled with innumerable yellow dots whereas the treated water papers had just two dots, one was even red. The school children were then really persuaded that the filters were an efficient barrier to safeguarding their health from diseases.

The temperature was sky-high and the sun was beating down mercilessly on the students who had to return to their lessons. On the way back to school the debate on bacteria continued and the pupils from the neighbouring communities discussed the idea of introducing a similar treatment system in their villages.

15. Economic aspects

Since numerous factors affect water treatment plant costs, general, absolute values cannot be cited. Such factors include type of treatment plant, local material and labour costs, mode of implementation (construction by private contractors, national institution, or community participation in a self-help project), and geographic location (affecting type of structure used to fulfil climatic conditions, accessibility influencing transport costs, etc.). The overall costs comprise the initial or construction costs, as well as operating and maintenance costs. The different costs can be subdivided into local and foreign costs, an aspect of great importance for developing countries which may have to import part of the equipment and material required for the treatment plant.

15.1 Construction costs

An evaluation of the construction cost structure for different roughing filter projects whose design capacity ranged from 70 to 750 m³/d and located in Tanzania, Kenya, Indonesia, and Australia, reveal the following, rather similar breakdown of construction costs:

Percentage of the construction costs:

- earthwork and structure

about 70%

- filter medium

about 20%

- piping and accessories

about 10%

Topography and soil conditions (required excavation work and type of foundation), including type of structure (reinforced concrete or brickwork), are cost decisive factors for earthwork and structure. Availability of local filter material in the required sizes significantly influences the purchase price; i.e., the supply. These first two cost components only have low economies of scale, however, the relative costs for piping and accessories will decrease with increasing plant size.

The specific roughing filter construction costs per m³ of installed filter volume range between US $ 100 and 175, except for the plant in Australia where the specific costs amount to US $ 600. It is, however, not only the smallest in capacity and built in reinforced concrete, but it also reflects the prices of a private contractor in an industrialised country. In developing countries, specific costs ranging from US $ 150 to 200/m³ will most probably cover the roughing filter construction costs. In self-help projects where only building material has to be paid for, construction costs can be reduced by 30-50%.

The specific roughing filter construction costs per m³/d water output are dependent on filter length and applied filtration rate. For an assumed total filter length of 5 m and a filtration rate VF of 0.5 m/h for 24 in/d, the resulting specific daily costs amount to:


about US $/ m³/ d

construction costs

60-80

material costs only
(e.g. in self-help projects)

30-40


Construction costs for slow sand filters are dependent on the respective filter layout and design. Costs are greatly influenced by type of filter box chosen (earthen basin and reinforced concrete filter box are the two extremes), and by the sand price. A slow sand filtration cost study made in India [59] and based on 1979 prices revealed specific construction costs of about US $ 25-40/m³/d fore daily design capacity ranging from 70 to 750 m³. A material cost estimate in the Slow Sand Filter Manual [60] revealed higher specific costs. For the less expensive slow sand filter options with sloping walls or masonry structure, the material costs were estimated between US $ 4060/m³/d and US $ 160-240/m³/d respectively. However, the cost estimate for these plants, whose design capacity ranges between 70 and 350 m³/d, also includes material costs for small clear water tanks of 20 to 40 m³ volume. Owing to the different material and labour costs, it is difficult to obtain a generally valid cost indication as demonstrated by the two studies.

A more comprehensive costs evaluation was made of 15 slow sand filters constructed in the US [17]. Of these 15 plants, five slow sand filter schemes, ranging in capacity between 130 and 189,220 m³/d, are gravity operated and have no electrical equipment. A construction cost evaluation of these five plants resulted in the following subdivision of construction costs:

Percentage of the construction costs:

site work

about 10%

filter media and gravel

about 25%

pipes, valves and meters

about 20%

filter box about

45%

The specific construction costs for uncovered slow sand filters in the US showed the following clear economies of scale:

C = 9,120´A0.49 (R=0.88)
C = construction costs in US $
A = filter surface area in m²
R = regression value

A slow sand filter plant with a 50 m² filter area, operated at a 0.15 m/h filtration rate, has a capacity of 180 m³/d. Construction of such a plant would cost about US $ 62,000. Based on the above equation, investment costs for a slow sand filter plant with double the filter area and daily capacity would amount to about US $ 87,000. For slow sand filters, this results in the following specific construction costs per daily capacity:

for a slow sand filter plant of:

180 m³/d about

US $ 345/m³/d

360 m³/d about

US $ 242/m³/d

These specific costs clearly demonstrate the economies of scale. Furthermore, when applied to the considered filtration rates in roughing and slow sand filters (0.5 and 0.15 m/h), the specific construction costs have a similar order of magnitude. The modified specific costs in the ratio of 0.5/0.15 for slow sand filters would amount to about US $ 100 and 70/m³/d for the 180 and for the 360 m³/d plant, and can be compared to the costs of US $ 60 - 80/m³/d given for roughing filters.

A construction cost comparison is drawn between slow sand filters and rapid sand filters [18]. According to an evaluation of the specific construction costs for seven slow sand filter plants, they range between about US $ 350 and 2,500/m³/d. However, it appears that the construction costs for small capacity slow sand filter plants are substantially lower than for equivalent rapid sand filter plants on account of their simple design and minimum mechanical equipment requirement. In addition, roughing and slow sand filter plants tend to a have long service life which reduces the annual depreciation rates of the capital costs.

15.2 Operating and maintenance costs

Filter cleaning costs are the main operating costs for roughing and slow sand filters as the filters do not require any chemicals. On the one hand, since hydraulic roughing filter cleaning is cheap, as the work can be carried out by the caretaker, the running costs will remain low. On the other hand, hydraulic filter cleaning is very cost effective with respect to total operating costs as it reduces the frequency of manual cleaning known to be labour and cost intensive and generally requiring additional manpower. The manual cleaning frequency differs for each filter type. Intake filters are usually cleaned once a week, dynamic filters after every heavy rainfall. Manual cleaning of roughing filters may be required every three to five years, or may not be necessary with the installation of an efficient drainage system. Finally, a slow sand filter run may last from one to six months.

Since salaries of water plant operators vary significantly, the time required for filter cleaning is the best way to assess its costs. Manual cleaning of a 2-m² large intake or dynamic filter may take about half an hour if the gravel does not have to be removed from the filter box. Manual cleaning of roughing filter media is more time-consuming as the gravel has to be removed from the filter box, transported to the washing place, washed and reinstalled into the filter box. As a rule, about 1.5 m³ gravel per man/day can be cleaned. Hence, upflow roughing filters run at 0.5 m/h filtration rate for a 240 m³/d capacity treatment plant will require a total labour input of about 14 man/days for manual cleaning or, more practically, three men could clean 20 m³ of gravel in one week. Finally, a man's daily ability to scrape a 2.5-cm thick layer from a slow sand filter and to transport the sand in buckets to the sand washing place may be in the order of 100 m² filter area. 50 m² slow sand filter area (filtration rate 0.20 m/h) would be required for the 240 m³/d treatment plant, or half a day for one man. More realistically, two men would be able to scrape the sand from a 240 m³/d slow sand filter plant in half a day. Sand washing can be carried out later when the slow sand filters have restarted operation. However, a 240 m³/d plant capacity is split into several roughing and slow sand filter units, the different filters are cleaned successively in order to guarantee an uninterrupted supply of water. These specific cleaning capacities and the annual cleaning time required for the operation of 240 m³/d treatment plant are summarised in Table 8.

Table 8 Annual Cleaning Time for a 240 m³/d Treatment Plant

Treatment Scheme

intake filter

uppflow roughing filter

slow sand filter

Treatment Design

·filtration rate vF

1.25 m/h

0.5 m/h

0.20 m/h

· filter bed area A

8 m²

20 m²

50 m³

· filter bed height H

0.4 m

1 m

1 m

· filter material volume V

3.2 m³

20 m³

50 m³

· filter units -

2

2

2

· filter area per unit

4 m²

10 m²

25 m²

Cleaning Interval

· dry season 8 months

2 x/month

1 x/month

1 x/4 months

· rainy season 4 months

4 x/month

2 x/month

1 x/4 months

Cleaning Time per Filter

· hydraulic cleaning

-

0.25 man hour


· manual cleaning

0.5 man hour


8 man hours

Cleaning Time

· dry season

16 man hours

4 man hours

32 man hours

· rainy season

16 man hours

4 man hours

16 man hours

Annual Cleaning Time

32 man hours

8 man hours

48 man hours

Manual Filter Cleaning

· frequency of manual filter material washing

1 x/year

1 x/5 years

1 x/10 years

· cleaning capacity

1.5 m³/man/day

1.5 m³/man/day

1 m³/man/day

· cleaning time per filter 1 man/day

7 man/days

25 man/days


· contribution to annual cleaning time

16 man hours

22 man hours

40 man hours

Total Annual Cleaning Time

48 man hours

30 man hours

88 man hours

Since operation of roughing and slow sand filters only requires labour input, any community with a strong interest in treated water can afford the use of such filters. The running costs can be reduced to a minimum if the community participates in filter cleaning. However, routine operation and maintenance of a treatment plant will be carried out by a caretaker or operator who significantly influences efficiency, reliability and water treatment costs. The community should appreciate his work and reward him accordingly. The fully self-reliant treatment processes are therefore not dependent on any external financial and technical support. Important operating and maintenance costs, which are often too high for a rural community, can be reduced to an absolute minimum by the installation of self-reliant treatment processes, such as roughing and slow sand filtration. This is one criteria for long-term operation of any water supply scheme.

15.3 Overall costs of water supply schemes

The construction costs of a water treatment plant may make up an important part of the overall investment costs of a water supply scheme. Cost comparisons between different water supply alternatives should therefore be made in the preliminary project design phase.

Selection of the water source should be based on technical and economic considerations. Operating and maintenance costs of a gravity-operated system are low compared to a slow sand filter plant, which requires about 40% of the initial construction costs to operate a plant for a period of 20 years. Under such aspects, it may be more economical to tap a more remote source of good quality water and invest in a longer water supply main than in a treatment plant.

Construction costs for rural water supply schemes can be subdivided as follows:

Percentage of the construction costs:

- intake works

5 - 25%

- treatment plant

15 - 30%

- distribution system

50-70%

Annual operating and maintenance costs have to be added to the annual capital recovery costs to obtain a correct cost analysis. However, since operating and maintenance costs greatly differ, a general estimate is difficult. 2% of the construction costs may be an indicative figure to estimate operating and maintenance costs of roughing and slow sand filters, excluding the depreciation costs for the treatment plant.

Finally, the local and foreign currency cost component can also be an important factor in project budgeting. Roughing and slow sand filters are an essentially self-reliant technology which is largely reproducible with local means. Based on the construction cost structure, 80 - 90% of the investment costs are expenditures for construction material, such as gravel, sand, cement, bricks and stones, and for labour, both readily available in the country. The remaining 10 20% are costs for the purchase of pipes, valves and accessories (V-notch weirs, gauging rods) which may partly have to be imported. Hence, roughing and slow sand filters make maximum use of local resources, require mostly local currency and reduce the need for foreign currency.

Padlocks Enhanced Collection of Water Fees

The tribe of the Ewes in West Africa is known for its strong communal spirit and leadership. These attributes also formed the basis for the successful water supply project implemented as self-help project six years ago. The population had been suffering from bilharzia and guinea worm which had spread over the village through ponds used both as water source by the villagers and as breeding place by the two tropical diseases. The community decided to improve its water supply during the annual assembly held at Easter. Kolly, one of their citizens who had been trained abroad in civil engineering, designed the water supply scheme. It consisted of roughing and slow sand filters fed by gravity from the largest lagoon, a pumping station, a reservoir located on top of the central hill, and a distribution system supplying the nine community settlements of 3,500 inhabitants.

The community, which contributed in cash and kind to the project, could cover half of the total costs of the project which was completed in three years of hard communal labour. Leadership was not always easy during this period as technical problems had to be solved and the community motivated to work. However, the last tap on the most remote public standpost was finally installed and the electric pumps connected to the grist system. At that moment, water should have started to flow but it did not. Since some of the settlements had not yet paid their fees to the water committee, operation of the water supply was put off until all due payments had been made. The community went through a rough period, however, when the last Cedi was finally paid to "Mister Money", the nicknamed treasurer of the project, an important celebration was organised by the entire community to inaugurate the new water supply scheme.

Public standposts located in every settlement significantly reduced the walking distance to the water sources. Most inhabitants enjoyed the commodity, however, some citizens wanted to know why they still had to pay for water although they had extensively contributed to the project. The water committee fixed the monthly water rate for each adult at 500 Cedis, the equivalent price of a bottle of beer. However, the electricity bill, the salary of the two caretakers and minor maintenance costs had to be covered by the water fees levied separately in each settlement.. Despite lengthy meetings with the water committee, a few villagers were still not willing to pay the fixed rate. This gave rise to tariff policy disputes and jeopardised smooth operation of the water supply scheme until the local blacksmith suggested the installation of padlocks with steer cylinders on the taps. All the taps were thus equipped with padlocks which allowed a controlled supply of water to all those who settled their water bill regularly.

Today the opponents of the water fees are no longer contesting them, and the padlocks installed at the public standposts hinder people from neighbouring villages trying to collect water illegally.

16. Design examples

Five design examples are presented hereafter to illustrate prefilter and roughing filter application. The population of rural communities is often in the range of 500 to 5,000 inhabitants. The daily water demand is dependent on the service level; i.e., whether the population is supplied by public standposts, yard or house connections, as well as on the water price and water rate system used; i.e., flat rate or billed on the basis of water meter readings. In water supply schemes with public standposts, daily water demands can vary between 20 and 30 litres per person.

The following design examples are based on the supply of a village with a current population of about 1,500 inhabitants and annual growth rate of 3 %. The current water supply through public standposts amounts to 20 litres of water per inhabitant. However, water supply installations have to be dimensioned to meet future water demands of the design population. For a 10-year design period, a treatment plant operated on a 24 hour basis will require the following design capacity:

· current population

1,500 inhabitants

population in ten years

(1+0.03)10 ´ 1,500 = 2,000 inhabitants

· current specific water demand

20 l/p/d

specific water demand in 10 yrs

30 l/p/d

· current daily water demand

1,500 ´ 20 = 30 m³/d

daily water demand in 10 yrs

2,000 ´ 30= 60 m³/d

Type of raw water source and raw water quality determine extent and type of treatment. Turbidity level and respective peak values are the most important parameters for pretreatment unit design. Raw water quality data are often scarce and records of peak values generally unavailable. With time, raw water sources may deteriorate in quality and quantity. Watershed protection is therefore essential for a long-term use of the source. However, such projects may not prevent water quality deterioration and, therefore, the treatment plant layout should allow for the integration of additional pretreatment steps if these turn out to be necessary in the future. Fig. 53 illustrates possible annual raw water quality variations for the following design examples presented hereafter.

16.1. Treatment of an upland river

Our presumed village is located in a hilly area of a West African country. The area is very rural and scarcely populated. Temperature and climate are pleasant, with cold nights and annual rainfall of about 2,000 mm, ideal for tea and coffee growth. A small upland river flows through tea and coffee plantations located on gently sloping hills surrounded by dense forests. In future, the farms will be expanding their plots further uphill. The central government has recently granted construction of a road into the catchment area to facilitate the exploitation of wood. A water supply is foreseen to compensate the villagers for the now polluted small upland river.

After a sanitary inspection of the catchment area, as well as a discussion with the village chief and with a recently established water committee, it was decided to construct slow sand filters according to the respective graph shown in Fig. 54. However, the slow sand filters have to be protected from high silt loads carried by the river during the short but heavy rainfalls. The algorithm discussed and presented in Fig. 43 of Chapter 12 and attached in Annex 6 is used to determine the type of pretreatment required. Fig. 54 shows that the planned slow sand filters are at present sufficiently protected by dynamic filters, however, intake filters may be required in future if the raw water quality deteriorates due to over exploitation of the catchment area.

Please note that Figs. 54 - 57 are duplicates of Fig. 43 shown on page XII-4 to facilitate its use.


Fig. 53 Annual Turbidity Variation of Different Surface Water Sources

The different filter units for the treatment of an upland river water are dimensioned as follows:

· treatment plant capacity

60 m³/d


60:24= 2.5 m³/h

· dynamic filter

filtration rate

5 m/h

total filter area required

2.5 m/h: 5 m/h = 0.5 m²

number of filter units

1

· slow sand filters

filtration rate

0.125 m²

total filter area required

20 m²

number of filter units

2

filter area per unit

10 m²

· Intake filter

(foreseen in case of future water quality deterioration)

filtration rate

1 m/h

total filter area required

2.5 m²

number of filter units

1

A possible dynamic filter layout is illustrated in Annex 6/1 and general design guidelines are summarised in Fig. 37 of Chapter 10. Layout and design of slow sand filters are described in Annex 3.

16.2 Treatment of a lowland stream

The village in question may be situated in a valley of the Latin-American Andes. At that high altitude, grass and farmland may predominate and forests are scarce. The living condition of the population is difficult and the farmers are forced to use every possible plot of fertile land as a means of subsidence and for cash crops. The only perennial water source and water supply of the population is the valley river loaded with lateritic soil eroded into the stream. The yield of the few springs generally emerging at the bottom of the hills is low and the springs dry up in the hot season. Groundwater is non-existent in the valley.

The river and its small waterfalls upstream fortunately allow construction of a gravity water supply scheme. However, the river is considerably polluted by the villages located in the upper part of the valley. The Junta Administrativa, a village committee also responsible for community water supply, is aware of this public health risk and has initiated a water supply project with the support of a non-governmental organisation. Based on the selection criteria illustrated in Fig. 55, the project team has designed a water treatment scheme consisting of intake filters, horizontal-flow roughing filters and slow sand filters. Up flow roughing filters in series are an economic alternative to horizontal-flow roughing filters, and their hydraulic cleaning is also easier than the proposed option.


Fig. 54 Treatment option for an Upland River


Fig. 55 Treatment Option for a Lowland Stream

The different filter units for the treatment of a lowland river water are dimensioned as follows:

· treatment plant capacity

60 m³/d

60:24 =

2.5 m³/h

· intake filters

filtration rate

0.8 m/h

total filter area required

3.2 m²

number of filter units

2

filter area per unit

1.6 m²

· horizontal-flow roughing filters

filtration rate

0.5 m/h

total filter area required

5 m²

number of filter units

2

filter area per unit

2.5 m²

layout of filter bed

1st gravel fraction F 12 -18 mm

3.5 m

2nd gravel fraction F 8 - 12 mm

2.5 m

3rd gravel fraction F 4 - 8 mm

1 m

· slow sand filters

filtration rate

0.125 m/h

total filter area required

20 m²

number of filter units

2

filter area per unit

10 m²

· upflow roughing filters in series

(as an alternative to horizontal-flow roughing filters)

filtration rate

0.4 m/h

total filter area required

6.25 m²

number of filter units

3

filter area per unit

6.25 m²

layout of filter bed

1st filter unit F 12 -18 mm

1 m

2nd filter unit F 8 - 12 mm

1 m

3rd filter unit F 4 - 8 mm

1 m

A possible layout of the intake filters is illustrated in Annex 6/2, and the general design guidelines are summarised in Fig. 37 of Chapter 10. A design example for horizontal-flow roughing filters is attached to Annex 6/3, and the respective design guidelines are listed in Fig. 39. Layout and design of upflow roughing filters are described in Annex 6/ 4 and Fig. 38, and those of slow sand filters in Annex 3.

16.3 Treatment of reservoir water

The village may be located in Asia. The landscape there may be very flat and interlaced by many canals regulating the water table essential for the cultivation of rice. Land is very scarce and, therefore, even the smallest plots are used for agriculture. Nevertheless, some larger lagoons for duck farming can also be spotted. In former times, the population used the canal water as raw water source, however, this source has become increasingly polluted due to increased motorisation of the ships and to industrial wastewater discharge. Hence, the lagoons although exposed to pollution from aquaculture and agriculture - are qualitatively the best raw water source nowadays. Groundwater may in the long run not be used as water source due to the progressing infiltration of sea water which gradually increases water salinity.

To avoid constructing a water supply scheme with two pumping stages, the water treatment plant will have to be located at the lowest point next to the dam of a lagoon. The treatment plant will have to be gravity-fed, which will ensure its continuous operation. Ducks and human activities around the lagoon deteriorate/he microbiological water quality. Furthermore, use of agricultural fertilisers enhances eutrophication of this reservoir water. A treatment scheme, as illustrated in Fig. 56, is therefore necessary to turn the raw water into drinking water. The population's high drinking water standards will not allow the supply of chlorinated water as it affects the taste of tea. It was, therefore, decided to construct a treatment scheme applying natural purification processes such as upflow roughing filters in layers and slow sand filters. A construction brigade started constructing the treatment plant which was commissioned six months later. This short construction period was possible only thanks to the availability of local material.


Fig. 56 Treatment option for a Reservoir Water

The different filter units for the treatment of a reservoir water are dimensioned as follows:

· treatment plant capacity

60 m³/d

60 : 24 = 2.5 m³/d


· upflow roughing filters in layers

filtration rate

0.3 m/h

total filter area required

8.33 m²

number of filter units

2

filter area per unit

4.2 m²

layout of filters bed


1st gravel fraction F 8 - 12 mm

0.4 m

2nd gravel fraction F 6 - 10 mm

0.3 m

3rd gravel fraction F 2 - 6 mm

0.3 m

· slow sand filters

filtration rate

0.125 m/h

total filter area required

20 m²

number of filter units

2

filter area per unit

10 m²

An example of a layout of an upflow roughing filter in layers is illustrated in Annex 6/4, and general design guidelines are summarised in Fig. 38 of Chapter 10. Layout and design of slow sand filters are described in Annex 3.

16.4 Rehabilitation of a slow sand filter plant

Finally, the village in question may have completed its community water supply 25 years ago. However, the situation in this West African country has changed in the meantime. The population has increased, however, most of its young people have left the village for town. Their income, earned in the commercial capital, allows them to construct stately houses which they use during weekends and after retirement, and to support the infrastructural projects in the village. Inflation and a drop in prices for agricultural products forces the rural population to practice extensive land farming. Feeder roads are constructed to improve transport capacity to the capital and export to foreign countries. Indigenous forests are cut down and tropical wood exported. The sturdy structures of the water supply allows a more or less regular water supply to the village.

However, the distributed water quality has deteriorated significantly in the last ten years and has given rise to consumer complaints. The existing sedimentation tanks and slow sand filters can no longer cope with the increased raw water turbidity.

The small upland river, which was well-protected by a dense forest in former times, is now exposed to numerous sources of pollution. Extensive and careless farming has enhanced soil erosion, cows in the grassland have considerably increased in numbers and neighbouring villagers have started farming in the catchment area. As shown in Fig. 53, river water turbidity has increased noticeably and springs are now running dry in the hot season. Slow sand filter runs amount to a few weeks in the dry season and are reduced to a few days in the rainy season. The sand has therefore been removed from the filter boxes and the water now flows unfiltered into the reservoir. As the sedimentation tanks cannot cope with the increased turbidity, they will have to be converted into roughing filters to allow a reasonable slow sand filtration. However, the vault-type sedimentation tanks are not easily converted into roughing filters. In such situations, part of the slow sand filter area may be used for the installation of upflow roughing filters. The capacity loss of the reduced slow sand filter area can be compensated by higher filtration rates of adequately pretreated raw water.

A rehabilitation option for an overloaded slow sand filter plant is illustrated in Fig. 57.

An example of a possible layout of an upflow roughing filter in layers is illustrated in Annex 6/4, and general design guidelines are summarised in Fig. 38 of Chapter 10. The Integration of an upflow roughing filter into a sedimentation tank or into a slow sand filter is illustrated schematically in Annex 615.


Fig. 57 Rehabilitation option for a Slow Sand Filter Plant

The rehabilitated treatment plant is dimensioned as follows:

· original treatment plant capacity


60

m³/d


60: 24 =

2.5

m³/h

· existing sedimentation tank


length

4

m


width

1.5

m


depth

1.7

m


tank volume

10


number of units

1



surface load

0.4

m/h


retention time

4

hours

· existing slow sand filters


filter length

5

m


filter width

2

m


filter area

10


number of units

2



filtration rate

0.125

m/h

rehabilitation of the treatment plant

· new treatment plans capacity


90

m³/d


90: 24=

3.75

m³/h

1st option:

· transformation of the sedimentation tank into two upflow roughing filter units

· upflow roughing filters in layers

total filter area required


6

number of filter units


2


filter area per unit


3

filtration rate


0.6

m/h

layout of filter bed





1st gravel fraction F 12 - 18 mm

0.7

m


2nd gravel fraction F 8 - 12 mm

0.4

m


3rd gravel fraction F 4 - 8 mm

0.4

m

· slow sand filters

total filter area required


20

number of filter units


2


filter area per unit


10

filtration rate


0.19

m/h

2nd option:

transformation of part of the slow sand filters into upflow roughing filters

· existing sedimentation tank

new surface load


0.6

m/h

new retention time


2.7

hours

· upflow roughing filter

integrated into slow sand filter box

filter length


1.25

m

filter width


2

m

filter area


2.5

number of units


2


total filter area


5

filtration rate


0.75

m/h

layout of filter bed


1st gravel fraction F 12 - 18 mm

0.7

m


2nd gravel fraction F 8 - 12 mm

0.4

m


3rd gravel fraction F 4 - 8 mm

0.4

m

· reduced slow sand filters

available filter length


3.75

m

available filter width


2

m

filter area per unit


7.5

number of filter units


2


total filter area


15

new filtration rate


0.25

m/h

16.5 Standard designs for compact water treatment plants

Water treatment plant projects can be implemented on a standard design basis to reduce design inputs as well as construction time and costs. This approach is especially appropriate in rural water supply programmes for the construction of several treatment plants having to treat raw water of similar quality. In such situations, routine construction procedures can be developed to reduce construction periods. Furthermore, compact designs and careful supervision of the construction will lower investment costs and enable the use of economic construction procedures such as the ferrocement technique. Standard design modules often cover a range of different design capacities. They may be implemented successively in different construction phases to meet the actual water demand of the community. Every water treatment project will nevertheless have to be carefully adapted to the local situation and, therefore, calls for a critical evaluation of the prevailing conditions.

A standard design example is illustrated in Annex 6/6 . Upflow roughing filter(s), slow sand filter(s) and a reservoir are integrated in one structure. This example uses a circular design, often applied in reservoir construction, and takes advantage of locally available construction techniques. A circular ring, placed around the reservoir located in the centre, provides space for two treatment lines comprising upflow roughing filters and slow sand filters. Design capacity of the illustrated example amounts to 30 m³/d. Hence, two such standard design units are required to cover the water demand of the village in question. These two units may be located in different places to treat different raw water sources, and may improve the reliability of a water supply system. Depending on the raw water quality, the illustrated structure could be used to host alternative treatment systems such as upflow roughing filters installed in the outer ring and two slow sand filters placed in the centre tank. Such a layout would require a separate reservoir.

The construction of small standard design units also enables a phased increase of the treatment plant design capacity, satisfying the future water demand development. A further advantage of a phased implementation is the integration of the operational experience in the extension design. Filters can frequently be operated at higher filtration rates without affecting the treated water quality or without substantially reducing filter running periods. The filtration rate of slow sand filters may for instance be increased from 0.1 to 0.2 m/h (recommended range in the literature). With an efficient pretreatment and use of sand coarser than 0.15 - 0.35 mm (recommended range in the literature for the specific sand size d10%), it may be increased to 0.3 and exceptionally to 0.4 m/h.

The filter units of a compact water treatment plant are dimensioned as follows:

· treatment plant capacity

30

m³/d

30 . 24=

1.25

m³/h

· upflow roughing filters in layers



filtration rate

0.3

m/h

total filter area required

4.2

· slow sand filters



filtration rate

0.125

m/h

total filter area required

10

17. Final remarks

If you have reached this part of the manual, you are either an experienced reader who first consults the executive summary and conclusions of a publication, or a person with a real interest in the roughing filter technology. After having given enough evidence in favour of prefilters and roughing filters, this manual will conclude with some strong statements on rural water supplies in developing countries, and will emphasise some weak aspects pertaining to the implementation of water treatment plants.

1. No water source will reach people who merely read publications. Therefore, since this manual presents a practical technology for field application, it is not just meant for mental pleasure nor to be filed away in a bookshelf, the reader is kindly requested to take action in his field by promoting and implementing appropriate technologies.

2. Appropriate means adapted to the local condition. Therefore, no technology can be universally appropriate. This is also true for slow sand filtration. The often negative experience with this treatment process is frequently the result of an inappropriate raw water quality.

3. Application of similar technological levels is a critical factor to achieve a sustainable system. Insufficiently flocculated and settled water pretreated by complex and unstable processes will create operational difficulties even for the simple and sturdy slow sand filters. Raw water conditioned by prefilters and roughing filters will usually meet slow sand filter requirements.

4. Actual demand and economic aspects are decisive factors for the selection of a water supply system. Prefilters, roughing filters and slow sand filters are fascinating treatment combinations as they are based on a reliable, sustainable and reproducible technology. However, since these filters require a considerable structural input, they should only be favoured if no superior water quality source is available and if water treatment is truly necessary.

5. This manual is mainly a technical document. However, water supplies can be compared to computers as they both depend on hardware and software. The water supply users have to decide, contribute and operate these facilities. Sociocultural aspects must be integrated in a project, and institutional aspects considered carefully. Degree of training, support and assistance to caretakers greatly influences the performance and lifetime of a water supply. Hence, an appropriate and sustainable technology always requires an interdisciplinary input as illustrated in Fig. 58.


Fig. 58 Multidisciplinary Inputs for Appropriate and Sustainable Technologies

6. Information exchange should be reciprocal. Your experience with roughing and slow sand filters is important and your feedback essential. SANDEC, therefore, hopes to receive your views on this manual, especially your practical experience with the presented filter technology.

Provision of safe water is a great challenge. We hope that this manual is a step in the direction of the following policy formulated in New Delhi [61 ] at the end of the International Water Supply and Sanitation Decade

"Some for all rather than more for some"

The Expert's Mirror

The villagers of some town somewhere were ready for the important celebration - the inauguration of their water supply system. Forgotten were the hardships of the past two years and intensive work of the construction of their self-help water supply system. All the villagers and the District Engineer could be proud of having brought safe and clean water in the village. The District Engineer, who have also supervised construction, trained the caretakers in operation and maintenance work and had advised the water committee in bookkeeping, spent the last few days assisting the villagers in completing their system and organising the commissioning ceremony. Everything was ready in time for D-day when the "big shots, the water gurus or los sabios", commonly called experts, honoured the village with their presence. They instantly began to inspect the work of the villagers, to evaluate the system and to propose modifications. They also found the small District Engineer and bombarded him with questions, such as: "what's your role in project etc., etc.". Fortunately the drummers had started to play and the District Engineer did not have to answer the question immediately. After the inauguration act, everybody had time to visit the installations, the intake work, the treatment plant, the distribution system with the reservoir and the public standposts. The atmosphere became more relaxed even for the experts, and the small engineer had the opportunity to explain his role in the projects. They were standing by the reservoir overlooking the village when he told them that the first listened to the real needs of the villagers and had to accepted their final decision even if it meant that they did not want to change their water supply system.

Late afternoon, the District Engineer, tired of the hectic days, boarded the bus to his home town. One of the experts was also in the bus and sat next to an crying boy. The engine of the bus was making an terrible noise. The village was already several miles away but the small boy went on crying. Embarrassed by his unusual situation, the expert concentrated on reading his book. The District Engineer then decided to sit next to boy in tears. To his surprise he discovered that the boy was afraid of the terrible noise of the bus engine. After a while the boy slowly calmed don and starting talking with to the District Engineer. The experts, amazed by situation looked out of the window and only saw his own face reflected by the light of the sunset in the windowpane.

Most people tent to behave like the expert instead of the listening, observing and trying to understand the situation before acting.

References

[1] Baker M.N., The Quest for Pure Water, AWWA, 1948 + 1981

[2] Wagner, E.G., Upgrading Drinking Water Treatment Plants, WHO Working Group for Operation and
Maintenance, (in press)

[3] Hespanhol I., Investigación Sobre el Comportamiento y Applicabilidad de los Filtros Lentos en el Brazil, Universidad de São Paulo, Brasil, 1969

[4] Wegelin M., et al, Slow Sand Filter Rehabilitation and New Treatment Plant Design in Rural Cameroon, Proceeding 3rd International Slow Sand/Alternative Biofiltration Conference, John Wiley & Sons, 1996

[5] NEERI, Evaluation of Four Slow Sand Filter Plants in Andrah Pradesh, 1993

[6] Lloyd B., Helmer, R., Surveillance of Drinking Water Quality in Rural Areas, WHO and UNEP, John Wiley & Sons, 1991

[7] Oxfam/DelAgua Water Testing Kit, OXFAM, Oxford, UK, August 1988

[8] Hutton, L.G., Field Testing of Water in Developing Countries, WRC, Water Research Centre, Loughborough UK, 1983

[9] De Lange, E., Manual for Simple Water Quality Analysis, IWT Foundation, Amsterdam, NL, 1994

[10] Wegelin, M., Boller, M., Schertenleib, R., Particle Removal by Horizontal-flow Roughing Filtration, Journal of Water Supply Research and Technology - Aqua Vol. 36, pp. 80-90,1987

[11] Collins, M.R., Westersund, C.M., Cole, J.O., Roccaro, J.V., Evaluation of Roughing Filtration Design Variables, AWWA Research Foundation and American Water Works Association, 1994

[12] Pardon, M.O., Treatment of Turbid Surface Water for Small Community Supplies, Ph. D. Dissertation. Robens Institute, University of Surrey, Surrey, England, 1989

[13] Del Mundo Jusi, O., Pretreatment Applications of Horizontal-flow Coarse Media Pre-Filtration, Thesis, AIT, Asian Institute of Technology, Bangkok, Thailand, April 1987

[14] Boller, M., Filtermechanisms in Roughing Filters, Journal of Water Supply Research and Technology - Aqua Vol. 42, pp. 174-185,1993

[15] Visscher J.T., Paramasivam R., Raman A., Heijnen H.A. Slow Sand Filtration for Community Water Supply, IRC, Technical Paper No. 24, June 1987

[16] Hendricks D. (editor) Manual of Design for Slow Sand Filtration, AWWA Research Foundation, 1991

[17] Logsdon G. S. (editor), Slow Sand Filtration, ASCE Report, 1991

[18] Lambert, S.D., Graham, N.J.D., A Comparative Evaluation of the Effectiveness of Potable Water Filtration Processes, Journal of Water Supply, Research and Technology - Aqua Vol. 44, pp. 38-51,1995

[19] Graham, N., Hartung, H., Performance of Slow Sand Filters in Refugee Water Supplies in Somalia, Waterlines, _,3,p. 19, 1988

[20] Mbwette, T.S.A., Graham, N.J.D., Pilot Plant Evaluation of Fabric-Protected Slow Sand Filters. In [28]

[21] Schalekamp, M., Slow Sand Filter for Ground-Water Recharge. Ten Times longer Filter Run Than was Usual up to Now. Indian Water Works Association Journal, 1992

[22] Barrot L.P., Llloyd B.J., Graham N.J.D. Comperative evaluation of two novel disinfection methods for small-community water treatment in developing countries, Journal of Water Supply Research and Technology - Aqua Vol. 39, pp. 396-404,1990

[23] WHO, Disinfection of Rural and Small-Community Water Supplies, Water Research Centre, Medmenham, UK, 1989

[24] Solsona, F., Disinfection for Small Water Supplies, Water Technology, CSIR, Pretoria, South Africa, 1990

[25] Grondin, P.M., Chloration en milieu rural dans les pays en vole de développement, Programme Solidarité Eau, Paris, France, 1996

[26] Jeffery, T.D. et al., Hydraulic Ram Pump: A guide to ram pump water supply systems, IT Publication, 1992

[27] van Loodsrecht, C.M.C., Lyklema, J., Norde, W. and Zehnder, A.J.B., Hydrophobic and electrostatic parameters in bacterial adhesion, Aquatic Science 52, pp. 103-114, 1990

[28] Graham, N.J.D. (Ed.) Slow Sand Filtration, Recent Developments in Water Treatment Technology, Ellis Horwood Limited, Chichester, UK, 1988

[29] Collins, M.R., Graham, N.J.D., (Eds.), Slow Sand Filtration, An International Compilation of Recent Scientific and Operational Developments, AWWA, American Water Works Association, Denver, CO 80235, USA, 1994

[30] Graham, N.J.D., Collins, M.R. (Eds.), Advances in Slow Sand and Alternative Biological Filtration, John Wiley & Sons, 1996

[31] Probst, E., Von Besonderheiten in der Wasserversorgung auf Burgen, Nachrichten Burgenverein 6/1937

[32] Kuntschik, O., Optimization of Surface Water Treatment by a Special Filtration Technique, Journal of the American Water Works Association, October 1976

[33] Thanh, N.C., Horizontal-flow Coarse-Material Prefiltration, Research Report No. 70, AIT, 1977

[34] Monitoring and Evaluation of Village Demonstration Plants, Technical Report, Project Managing Committee and AIT, October 1981

[35] Perez, J., Modular Plants for Water Treatment, Volumes 1 and 2, CEPIS Technical Documents Series 8,1982

[36] Wegelin, M. and Mbwette, T.S.A., SSF Research Report No. 2, University of Dar es Salaam, 1980

[37] Wegelin, M. and Mbwette, T.S.A., SSF Research Report No. 3, University of Dar es Salaam, 1980

[38] Wegelin, M., Boller, M. and Schertenleib, R., Particle Removal by Horizontal-flow Roughing Filtration, AQUA, Vol. 36, pp. 80-90,1987

[39] Wegelin, M., Horizontal-flow Roughing Filtration: A Design, Construction and Operation Manual, IRCWD Report No. 6/1986

[40] Wegelin M., Schertenleib R., Boller M. The decade of roughing filters - Development of a Rural Water treatment Process for Developing Countries, Journal of Water Supply Research and Technology - Aqua Vol. 40, pp. 304-316,1991

[41] Riti M.M., Horizontal Roughing Filter in Pretreatment of Slow Sand Filters, Thesis, Tampere University of Technology, 1981

[42] Tilahun G.T., Direct Filtration with Horizontal Roughing Filter as Pretreatment, Thesis, Tampere University of Technology, 1984

[43] Symonds Ch.N., Aspects of prefiltration concerned with the application of small scale slow sand filtration in rural communities, University of Surrey, 1985

[44] Siripatrachai T., Physical and mathematical analysis of the performance of horizontal roughing filtration, Intemational Institute for Hydraulic and Environmental Engineering, Delft, 1987

[45] Brown D., Horizontal-flow roughing filtration as an appropriate pretreatment before slow sand filtration in developing countries, Thesis, University of Newcastle, 1988

[46] Ives, K.J., Rajapakse, J.P., Pretreatment with Pebble Matrix Filtration, Proceedings 1 st International Seminar on Advances in Slow Sand Filtration, John Wiley & Sons, 1988

[47] Proyecto integrado de investigación y demostración de metodos de pretratamiento pare sistemas de abstecimiento de ague, Informe Resumen, CINARA, Diciembre 1991

[48] Galvis, G., Visscher, J.T., Fernández, J., Berón, F., Pre-Treatment Alternatives for Drinking Water Supply Systems; Selection, Design, Operation and Maintenance, lRC, the Hague, NL, Dec. 1993

[49] Trüeb, E., Horizontal durchflossene Kiesvorfilter zur Vorreinigung von Oberflächenwasser, besonder in Entwicklungsländern, 3R International, l/2 1982

[50] Peres Farras L., Filtros Dinamicos, Plan Nacional de Agua Potable Rural, Buenos Aires, Argentina, 1972

[51] Solsona, F., Dynamic Filtration, CSIR /WRC, Pretoria, South Africa, 1993

[52] CINARA, Proyecto Filtración Gruesa Horizontal, Informe Final, 1990

[53] Pardon, M., Consideraciones, Desarrollo y Evaluación de un Sistema de Tratamiento que implementa la Filtración Gruesa de Flujo Vertical en Grava, CEPIS, Aug. 1987

[54] Galvis, G., Visscher, J.T., Filtración Lenta en Arena y Pretratamiento, Proceedings of an International Seminar on Simple Water Treatment Technology, organized by ACODAL in Cali/Colombia, Aug. 1987

[55] Basit, S.E., Brown, D., Slow Sand Filter for the Blue Nile Health Project, Waterlines, Vol. 5, No. 1/1986

[56] Ingallinella, A.M., Stecca, L.M., Propuesta pare la rehabilitación de la Planta potabilizadora de ague de Tarata, Infomme Final Fase 2, Rosario, Febrero de 1995

[57] Fellinga, W.J., Pilot Tests on a HRF, Diploma Report, Delft University of Technology, Oct. 1988

[58] Thanh, N.C., Hettiaratchi, J.P.A., Surface Water Filtration for Rural Areas - Guidelines for Design, Construction, and Maintenance, AIT, Bangkok, Thailand 1982

[59] Paramasivan, R., Mhaisalkar, V., Berthouex, P., Slow Sand Filter Design and Construction in Developing Countries, JWWA, 4/1981

[60] Slow Sand Filtration for Community Water Supply in Developing Countries, A Design and Construction Manual, Technical Paper 11, IRC, Dec. 1978

[61] UNDP, The New Delhi Statement. Global Consultation on Safe Waterand Sanitation for the 1990s. September 1990. New Delhi, India. United Nations Development Programme. New York 1990

[62] Kobler, D., Wegelin, M., Boller, M., Ingallinella, A., Sequential Filtration Tests for Particle Size Analysis, EAWAG/SANDEC, 1996

[63] Visscher, J.T., Veenstra. S., Slow Sand Filtration. Manual for Caretakers. Trainina Series No. 1, IRC, Nov. 1985

Abbreviations

CFU

Colony Forming Unit

NTU

Nephelometric Turbidity Unit

VF

filtration rate, filter velocity

Q

flow rate, design capacity

RF

Roughing Filter, Roughing Filtration

DF

Dynamic Filter

IF

Intake Filter

DRFS

Downflow Roughing Filter in Series

HRF

Horizontal-flow Roughing Filter

MHRF

Modified Horizontal-flow Roughing Filter

URFL

Upflow Roughing Filter in Layers

URFS

Upflow Roughing Filter in Series

SSF

Slow Sand Filter, Slow Sand Filtration

ESA

External Support Agency

NGO

Non-Governmental Organisation

AIT

Asian Institute of Technology

BNHP

Blue Nile Health Project

CAPM

Chinese Academy of Preventive Medicine

CDC

Centre for Developing Countires

CEPIS

Centro Panamericano de Ingeniería Sanitaria y Ciencias del Ambiente

CINARA

Instituto de Investigación y Desarrollo en Agua Potable, Saneamiento Básico y Conservación del Recurso Hídrico

EAWAG

Swiss Federal Institute for Environmental Science and Technology

EIER

Ecole Inter Etats d'lngenieurs de l'Equipement Rural

ETH

Swiss Federal Institute of Technology

EWW

Ethiopian Water Works

Helvetas

Swiss Association for Development and Cooperation

IRC

International Water and Sanitation Centre

IWSA

International Water Supply Association

NEERI

National Environmental Engineering Research Institute

NWDB

National Water Supply & Drainage Board

PAHO

Pan American Health Organisation

SANDEC

Water & Sanitation in Developing Countries

SDC

Swiss Development Cooperation

SDR

Swiss Disaster Relief Unit

SKAT

Swiss Centre for Development Cooperation in Technology and Management

SVGW

Swiss Gas and Water Industry Association

UDSM

University of Dar es Salaam

UNDP

United Nations Development Programme

UNR

Universidad Nacional de Rosario

UoZ

University of Zimbabwe

USP

Universidade de São Paulo

WB

World Bank

WHO

World Health Organisation

WRC

Water Research Commission

ZHAS

Zhejiang Health and Anti-Epidemic Station

TO PREVIOUS SECTION OF BOOK TO NEXT SECTION OF BOOK