Back to Home Page of CD3WD Project or Back to list of CD3WD Publications

CLOSE THIS BOOKOperations with Routing Machines - Course: Mechanical woodworking techniques. Trainees' handbook of lessons (Institut für Berufliche Entwicklung, 13 p.)
VIEW THE DOCUMENT(introduction...)
VIEW THE DOCUMENT1. The Purpose of Routing Machine Milling
2. Assembly of a Routing Machine
VIEW THE DOCUMENT3. Routing machine tools
VIEW THE DOCUMENT4. Tool Guiding Possibilities
VIEW THE DOCUMENT5. Basic Provisions of Labour Safety when Operating Routing Machines

4. Tool Guiding Possibilities

Stop strips or a stop rule can be attached to the machine table surface for tool guidance.

The table surface features tap bores to retain the holding screws for the stops. In addition, the stops can be held by means of screw clamps.

Curved models can be prepared at the locator pin. Commensurately, the locator pin can be raised at various heights above the table surface.

The tool shall not touch the locator pin. Tool and locator pin can otherwise be damaged and there is a considerable accident risk. The model only has a very small bearing surface at the locator pin and should, therefore be of particularly hard and durable material.

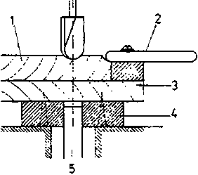
Special guide facilities must be prepared for milling operations with varying milling directions within the range of broad surfaces and for milling contours. Thereby, the sequence of the milled profile is determined by the sequence of the locator slot in the lower face of the guidance facility. During this process the locator pin is in the locator groove and serves as stop. The top side of the guide facility features stops and holding possibilities for the workpiece being processed.

In the Instruction Example 05.3. “Quarter Chamfer and Half Chamfer” the handling of a copying facility as guide device is described.

The following should be heeded when setting up this facility:

- the device must be easy and safe to handle
- during processing the workpiece shall not change its position in the device
- the locator pin must slide easily into the locator groove

Stops and guide strips are screwed, glued or nailed to the base plate.


Figure 9 - Cross-section of a copying device

1 workpiece, 2 workpiece chucking facility, 3 base plate, 4 guide strip, 5 locator pin

TO PREVIOUS SECTION OF BOOK TO NEXT SECTION OF BOOK