Back to Home Page of CD3WD Project or Back to list of CD3WD Publications

CLOSE THIS BOOKStairmaking - Course: Timberwork techniques. Instruction examples for practical vocational training (Institut für Berufliche Entwicklung, 34 p.)
VIEW THE DOCUMENT(introduction...)
VIEW THE DOCUMENTPreliminary Remarks
VIEW THE DOCUMENTInstruction Example 8.1.: Taking off Dimensions at the Stairwell
VIEW THE DOCUMENTInstruction Example 8.2.: Determination for the Ratio of Rise and Tread
VIEW THE DOCUMENTInstruction Example 8.3.: Scribing of landing connections
VIEW THE DOCUMENTInstruction Example 8.4.: Manufacture of Template and Angular Board
VIEW THE DOCUMENTInstruction Example 8.5.: Scribing and Preparing the Stair Strings
VIEW THE DOCUMENTInstruction Example 8.6.: Manufacture of Steps and Risers
VIEW THE DOCUMENTInstruction Example 8.7.: Assembly of the Stair Flight

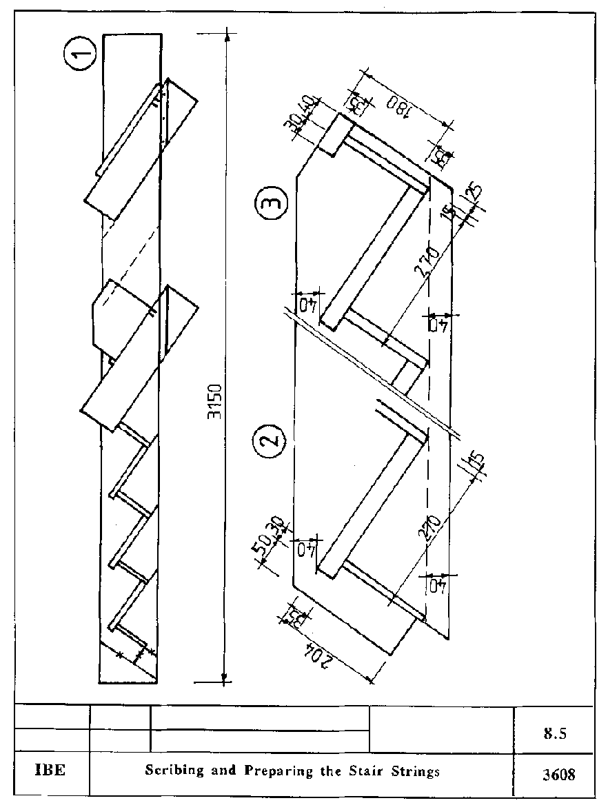
Instruction Example 8.5.: Scribing and Preparing the Stair Strings

The wood of the stair strings is cut to width and thickness and planed on four sides.

Assumed to be known:

- Stair string height = 290 mm

- Stair string thickness = 50 mm

- Step thickness = 35 mm

- Riser thickness = 15 mm

- False tread = 30 mm


- nS = 9,


Figure

Hand tools

Hammer, hand saw, pad saw, ground plane, mortise chisels 12 mm and 24 mm, planing chisel, beating wood

Measuring and testing means

Folding rule, square, sliding T-bevel

Auxiliary accessories

Template, angular board, 35 mm wide and 400 mm long batten, abrasive paper

Necessary previous knowledge

Measuring, scribing, angling, mortising, cleaning, sanding, sawing

Explanations to the working drawing

(1) scribing of the wall string
(2) bottom landing connection
(3) top landing connection

Sequence of operations

Comments

1. Determine stair string length


Required: Lw, Lw = (ns + 0.5) c


Known:

ns = 9



c = 325 mm

Measure from drawing floor.


Lw = (9 + 0.5) 325 mm



Lw = 3087.5 mm



Lw selected = 3150 mm


2. Inspect string wood for grain flow and branch knots and identify with "F" or "W" marking.

"F" for outer string, use better surface. "W" for wall string.

3. Measure the size for the bottom step from the bottom landing connection and measure-in and mark on the string identified with "W" marking.

In this example approx. 500 mm

4. Set template to marking and scribe lower edge of step.

Set exactly! Scribe from "VT" to bottom edge of string.

5. Scribe step thickness.

Do not displace the template!
Put on batten (35 mm wide) and scribe from "VT to "Hs".

6. Scribe front edge of riser and front edge of step.

Do not displace the template!


Remove the batten and set the angular board ("VT" and "VS" must be flush). At "VS" scribe only between top and bottom surfaces of stop. At "VS" scribe over the entire length.

7. Scribe rear edge of riser.

Do not displace the template! Move angular board towards "HS" and scribe thin line over entire length. Set template and angular board exactly!

8. Scribe surface of bottom landing.

Move template towards surface of bottom step and scribe thin line at bottom side of template. Scribe over entire string height.

9. Scribe next step and riser.

Mover template towards top landing connection until bottom side of template is flush with bottom surface of bottom step! Scribe at top side of template. Repeat working steps 5., 6. and 7. Set template exactly! (Bottom edge of pencil scribe-mark must be exactly flush with bottom side of template!)

10. Check scribed step for accuracy to size.

In case of deviations, re-work template and/or angular board.

11. Scribe remaining steps and risers.

Follow the sequence of operations! Always scribe bottom surface of step until bottom edge of string!

12. Put wall string on outer string and transfer bottom edges of steps.

Bottom sides of strings must be flush. Use the square. Lines should not be scribed too thick.

13. Scribe the outer string.

Same procedure as for wall string. Always set top side of template to transferred angulart scribe-markings to achieve exact mirror-immage!

14. Scribe bottom landing connection.

Take off dimensions from drawing floor. Ensure parallelism with rise and tread!

15. Check again string section and mark with cross.

Draw lines a little thicker. Cross means section.

16. Scribe top landing sonnection.

Take off dimensions from drawing floor. Ensure parallelism with rise and tread!

17. Check again string section and mark with cross.

Draw lines of section a little thicker.

18. Prepare the stair strings.

Put strings on solid support to avoid springiness when mortising. Avoid tilting-up of the strings during mortising, otherwise danger of accidents!

19. Mortise all step holes of one string.

Do not put mortise chisel on pencil scribe-marking. Consider grain flow when mortising.

20. Check mortising depth of holes.

Leave about 1 mm on the hole bottom. Exact depth is achieved by means of ground plane.

21. Mortise the holes for the risers.

Use pad saw at opening for step. Use piece of wood so that the teeth of the pad saw cannot slip off. Consider grain flow!

22. Check mortising depth.


23. Clean holes for steps and risers.

Re-chisel sensitively.
Half of pencil scribe-marking must be left visible.

24. Slightly re-chisel edges of hole bottoms with mortise chisel.

Re-chisel sensitively, not too deep.

25. Plane hole bottoms for steps and risers to exact depth.

Use ground plane. Do not plane against grain flow. Guide ground plane sensitively to avoid damage to the hole edges and comers!

26. Saw-out top and bottom landing connections.

Ensure right-angle cutting.

27. Smooth strings with abrasive paper.

Use fine-grain abrasive paper. Do not sand-off hole edges! No scribe-markings must be left visible.


Scribing and Preparing the Stair Strings

TO PREVIOUS SECTION OF BOOK TO NEXT SECTION OF BOOK