Subfloors are made in the following forms:
- Timber beam floor
- Solid floor
- Solid floor with rooms without basement
In the case of a timber beam floor, the following has to be done:
- The inherent stability of the boards is checked. If necessary, they are renailed, replaced or turned.- The timber is checked for pest infestation and, if required, single pieces are replaced.
- If the boarding floor is no longer able to support load, the boards are taken off and replaced by a 24 mm thick layer of blind boards which are nailed on the timber beams.
- If the new floor level must not be higher than the old one, the boards are inserted between the timber beams and fixed to laterally screwed-on laths.
No spiral-grained wood or wood with falling-off knots must be used for the laths. Wooden floors must not be covered with bituminous or tar-saturated felt. The parquet layer can be nailed on the prepared surface.
Figure 9
Parquetry elements on planed boarding
1 floor beam, 2 inserted timber, 3 laths, 4 timbering, 5 lathwork/plaster, 6 parquet deals, 7 planed boarding, 8 filler, 9 tongue
Figure 10
Parquetry elements on planed boarding laid on a lower level between the beams
1 beam, 2 supporting laths. 3 laths, 4 parquet deals, 5 tongue, 6 filler, 7 timbering, 8 lathwork/plaster, 9 planed boarding fitted between the beams
With solid ceilings and solid floors, respectively, the following sequence of operations is to be adhered to:
- Shall the parquetry be laid on a solid floor, make sure that there is a proper thermally insulating and moisture-proofing layer. If required, it has to be supplied additionally.- First of all, the solid ceiling or floor, respectively, is carefully cleaned. In doing so, all loose parts are removed.
- The solid ceiling or floor must not release any sand or show any kind of greater unevennesses in its surface. Possibly it must be repaired or reworked.
- When using parquetry-fillets and/or parquetry elements, a layer of bare bituminous felt, pasted edge to edge, must be laid under the parquetry.
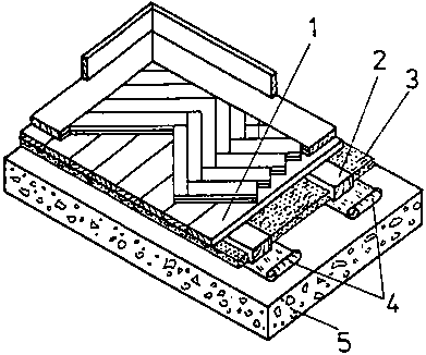
Attention! - not with mosaic parquetry!- Another technique is the laying of supporting beams, if height is no problem. These supporting beams can be covered with a false floor.
Figure 11
Parquetry-fillets with false floor and beam layer on solid subfloor
1 false floor, 2 beam layer, 3 insulating material, 4 bituminous felt strips, 5 solid substructure
In this case, an essential improvement in thermal insulation and sound proofing can be achieved. With this kind of subfloor, parquetry is nailed.
What kinds of subfloors are in use?
________________________________
When is tar-saturated or bituminous felt laid as the immediate base of parquetry?
________________________________
How can the insulation properties of a solid floor be improved in connection with parquet laying?
________________________________
Parquet can be nailed or pasted.
Fillets of mosaic parquetry are always pasted due to their small dimensions.
The most commonly used dimensions of mosaic parquetry-fillets, as well as parquetry-fillets are given in the below survey:
Survey 1: Current dimensions of mosaic parquetry-fillets and parquetry-fillets
Mosaic parquetry-fillets
| |
Thickness |
Width |
Length |
|
Tolerances (mm) |
± 0.3 |
- |
± 0.1 |
|
Dimensions (mm) |
8 |
20... |
120 |
| | |
27 |
130 |
| | | |
150 |
| | | |
160 |
Parquetry-fillets
| |
Thickness |
Width |
Length | |
|
Tolerances (mm) |
± 0.4 |
± 0.5 % |
± 0.2 | |
| |
| |
Short fillet |
Long fillet |
|
Dimensions (mm) |
16,18 |
40,50 |
200 |
600 |
| |
20,22 |
60,70 |
250 |
700 |
| | |
80,90 |
300 |
800 |
| | |
100 |
350 |
1000 |
| | | |
400 | |
| | | |
450 | |
| | | |
500 | |
Adhesive for laying parquetry
This is a bituminous solution or other suitable product which is typical of the respective country. Its properties must be elastic and plastic ones. As precoating, diluted adhesive is used.
Nails for laying parquetry
For this purpose, the below mentioned nails are to be used preferably:
- With 22 mm thick parquet floor - 45 mm or 50 mm long countersunk head nails.
- With thinner parquet floor - 40 mm long countersunk head nails.
- With parquet elements - 50 mm long countersunk head nails.
Before parquetry is laid, all the other constructional and interior work must be completed.
The room temperature with parquet laying must be at least 15 centigrade, and the relative air humidity must be between 45 and 65 %.
Laying of parquetry-fillets on wooden floors
After the careful cleaning of the wooden subfloor, the parquetry-fillets are laid - not parallel to the longitudinal direction of the boards of the false floor or of the deals. The parquetry-fillets are fixed by covered nailing through the narrow surface. With 200 - 400 mm long fillets use one nail, and with 400 - 500 mm long fillets use two nails. Connections with other kinds of floor covering are made with the help of metal strips as splicing pieces.
Laying parquetry-fillets on solid subfloors
After careful cleaning parquetry adhesive is spread with a drawing scraper over the entire surface of the subfloor.
On this a layer of bare bituminous felt - butt-joined - is pasted - not with mosaic parquetry.
On this layer parquetry adhesive is spread in such way that the parquetry-fillets lie in the bed of adhesive by at least 2/3 of their base surfaces.
With parquetry-fillets designed for loose keys the cross-grain keys have to be distributed evenly over at least 50 % of the entire length of the slots.
Laying of parquetry-fillets on supporting beams with or without false floor
The process is the same as with laying parquetry-fillets on wooden floors, vis. Fig. 11.
Laying of mosaic parquet
After careful cleaning of the solid subfloor a precoating of thinned adhesive is made.
Then the parquet adhesive is spread over the subfloor and the mosaic parquet is pressed firmly into the adhesive film.
How can parquetry be connected with the surface under it?
________________________________
How must parquetry-fillets be nailed on?
________________________________
After the parquetry has been laid and the adhesive has aged, which takes at least two days, the floor is mechanically ground and sealed three times afterwards. After each sealing a technical waiting time of 24 hours has to be kept.
Sealers:
The sealer fills the pores of the floor, forms a well-adherent and wear-resistant film which protects the parquet against wear and moisture.
-The following sealers are used for parquet floors:
- Oil and synthetic resin sealers
- Acid-hardening sealers
- Sealers consisting of several components
· Polyurethane sealers
· Epoxide resin sealers
- Combination cellulose nitrate sealers
The sealers show various properties. Therefore, their specific use depends on the future purpose. Greatest hardness is achieved by multicomponent sealers.
Parquetry work has to be integrated in the entire building process in such way that no bricklaying or installation work must be done after the parquetry has been laid.
As a rule, parquetry should be laid even after painting.
How long is the technological waiting period after sealing?
________________________________
Why should parquetry be laid always at the end of all building work?
________________________________
What kinds of sealers are there?
________________________________
Which sealers give the greatest hardness?
________________________________
How is parquetry finished?
________________________________