Back to Home Page of CD3WD Project or Back to list of CD3WD Publications

CLOSE THIS BOOKMaking of Floors - Course: Timberwork techniques. Instruction examples for practical vocational training (Institut für Berufliche Entwicklung, 21 p.)
VIEW THE DOCUMENT(introduction...)
VIEW THE DOCUMENTPreliminary Remarks
VIEW THE DOCUMENTInstruction Example 6.1.: Checking and Levelling of the Beams
VIEW THE DOCUMENTInstruction Example 6.2.: Laying of Mated Surfaced Deals
VIEW THE DOCUMENTInstruction Example 6.3.: Laying of Matched Surfaced Deals
VIEW THE DOCUMENTInstruction Example 6.4.: Fixing of Skirting Boards

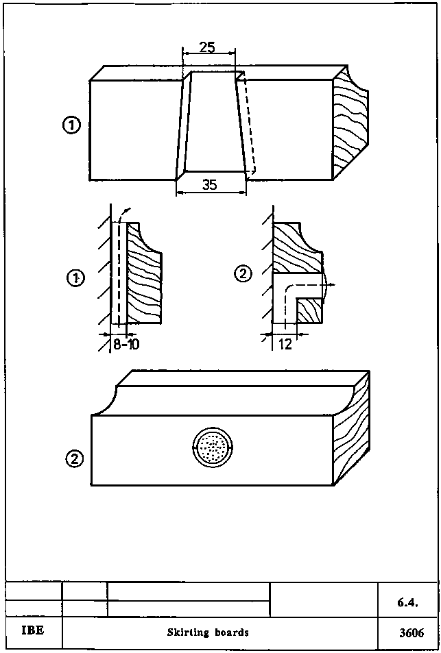
Instruction Example 6.4.: Fixing of Skirting Boards

This instruction example shows how skirting boards up to 50 mm in height are nailed on the deals. The skirting boards may have different profiles according to the requirements.

Material

- Skirting boards

Height: 45 mm
Thickness: 24 mm
Length: 200-400 mm

- Countersunk head nails

Thickness: 3.1 mm
Length: 70 mm


Figure

Tools

Hand saw, hammer, chisel, nail punch

Measuring and testing means

Folding rule, try square

Auxiliary accessories

Trestles approximately 600 mm high, mitre box

Required basic knowledge

Measuring, scribing, sawing, nailing, cutting

Sequence of operations

Comments

1. Preparing the workshop place.


2. Starting work always in reentrant corners, putting the skirting board in the mitre box, cutting mitre inwards with hand saw.

Butt-join the skirting board in the middle of the wall, approximately.

3. Cutting the mitre inwards on the opposite end of the skirting board, too.


4. Pressing the skirting board firmly to the wall, applying the nail obliquely and nailing the skirting board on the deals.

Skirting boards are fixed at distances of approximately 500-600 mm.

5. Cutting the mitre inwards in the next skirting board for the opposite corner.


6. Putting the skirting board on the wall, exactly scribing the butt, then cutting mitre outwards and nailing the skirting board on the deals.


7. With projecting corners cut the reentrant corner first, put the skirting board in place, then scribe the projecting corner and cut the mitre outwards.

If the corners are not accurately right-angled, rework the cut or change the mitre cut.
The operations are repeated until the work is finished.

8. Possibly making ventilation slots in the skirting board.

Ventilation of the beam layer with rooms that do not have a cellar.

9. Final checking.



Skirting boards

TO PREVIOUS SECTION OF BOOK