Back to Home Page of CD3WD Project or Back to list of CD3WD Publications

CLOSE THIS BOOKAttic Completion Work - Course: Timberwork techniques. Trainees' handbook of lessons (Institut für Berufliche Entwicklung, 14 p.)
3. Building-in of Roof Superstructures
VIEW THE DOCUMENT3.1. Building-in of Roof Superstructures in a Couple Roof
VIEW THE DOCUMENT3.2. Partition of Rooms in the Attic
VIEW THE DOCUMENT3.3. Covering of Visible Roof Rafters in the Room and of the Roof Superstructure

Attic Completion Work - Course: Timberwork techniques. Trainees' handbook of lessons (Institut für Berufliche Entwicklung, 14 p.)

3. Building-in of Roof Superstructures

3.1. Building-in of Roof Superstructures in a Couple Roof

If the attics shall be used for housing purposes, roof windows are to be built in for natural lighting and ventilation of the living space.

The width of roof windows is limited by the rafter distance.


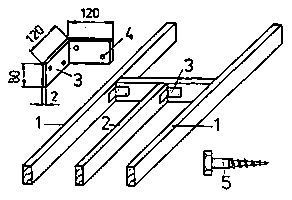
Figure 6 Roof window in the clearance between the roof rafters (rafter distance)

1 rafter of main roof, 2 parapet trimming, 3 lintel transom, 4 window post, 5 string transom, 6 rafter of lean-to dormer roof of window

This is of special importance for couple roofs because the couples support each other at the ridge and the acting supporting forces in the roof rafter are carried off to the end cogging.

Too low supporting forces in the roof rafters involve the danger of collapse!

In this respect, it does not matter whether the roof structure is supported by a wooden beam or solid ceiling.


Figure 7 Direction of forces in a couple roof

(1) Solid ceiling
(2) Wooden beam ceiling

1 rafter, 2 ridge, 3 wooden beam, 4 solid ceiling, 5 cornice, 6 inferior runner, 7 end cogging, 8 ceiling support

In the couple roof, the width of the roof window is dictated by the clearance between the roof rafters.

If roof windows of greater width than the clearance between the rafters are to be built into a purlin roof, the rafters must be interrupted by a rafter trimming to be inserted.


Figure 8 Roof window with interrupted rafters

1 trimmer rafter, 2 parapet trimming, 3 window post, 4 string transom, 5 lintel transom, 6 parapet transom, 7 lower tail rafter, 8 upper tail rafter, 9 rafter trimming, 10 rafter for gable roof of window, 11 valley board

Insertion of a rafter trimming, however, means to change the direction of forces of the supporting structure!


Figure 9 Change of direction of forces

F - acting force
1 trimmer rafter, 2 rafter trimming, 3 parapet trimming,
4 upper tail rafter, 5 lower tail rafter

In a couple roof it is not possible to interrupt the rafters for windows of greater width!

Why is it not possible to interrupt the rafter in a couple roof for windows of greater width?

_____________________________________________________________

Without static verification it is not allowed to interrupt more than one rafter in a purlin roof.

If several roof windows are required for natural lighting of the living space, it is to be made sure that one trimmer rafter must only support one lower and one upper rafter trimming.


Figure 10 Lower and upper rafter trimming

1 trimmer rafter, 2 parapet trimming, 3 rafter trimming, 4 upper tail rafter, 5 lower tail rafter, 6 ridge

Why must a trimmer rafter not support a rafter trimming at both sides?

___________________________________________________________

In order to support the two tail rafters, rafter trimmings are inserted.

The parapet trimming should be inserted at a height allowing a parapet transom to be built in.

The surface of the parapet transom should not exceed the perpendicular size of 900 mm.


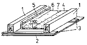
Figure 11 Roof window height limitation

1 trimmer rafter, 2 parapet trimming, 3 window post, 4 string transom, 5 inferior purlin, 6 parapet transom, 7 trussed purlin, 8 king post, 9 attic beam, 10 parapet height, 11 lower tail rafter, 12 lintel transom, 13 upper tail rafter, 14 surface of trussed purlin

The upper rafter trimming can be omitted if the upper tail rafter rests on a trussed purlin.

The height of windows in purlin roofs with double upright truss is limited by the trussed purlin.

It is advantageous when the surfaces of the trussed purlin and lintel transom are located at equal height which provides for a uniform room height when fixing the subceiling.


Figure 12 Limitation of roof window height

1 trussed purlin, 2 lintel transom, 3 king post, 4 valley beam, 5 string transom, 6 roof boards (roofing), 7 subceiling, 8 parapet transom

The visible part of the trussed purlin in the subceiling can be ground and painted or covered (faced).

Conclusions:

- For purlin roofs it is recommended to insert windows fitting into the clearance of the rafters.

- If a window of greater width is necessary, no more than one rafter must be interrupted unless static verification is available.

- It is a must that one trimmer rafter only supports one rafter trimming at one side.

- The number of adjacent rafters that can be interrupted is limited.

- Constructional details.

The opening in the roofing must only be as big as to allow the subceiling or protection against trickling matter to be provided in the roof superstructure (see also Fig. 12).

The timberwork of the roof superstructure to be built in is to be joined.

Though, normally, rafter trimmings and tail rafters are joined by mortise-and-tenon joints, for attic completion work for housing purposes it is recommended to use screw-on squares to provide greater stability.


Figure 13 Joining of structural parts

1 trimmer rafter, 2 tail rafter, 3 steel square, 4 borehole, 5 hexagon-head wood screw

Reasons:

Because of the change of direction of acting forces, there is greater load on the trimmer rafter than before. The cross section of the rafter would be additionally weakened by the mortise.

What effect would the weakened cross section of the trimmer rafter have on its bearing capacity?

_________________________________________________________________

The window post has not necessarily to be the corner post but it may be placed inwards depending on the width of the window.


Figure 14 Arrangement of window and corner posts

1 corner post, 2 window post

A profiled batten for fixing the window frame can be fixed to the window post and lintel transom.

The roof rafters of the lean-to dormer roof of the window are supported on the roof rafters of the main roof with oblique notch. The roof rafters of the gable roof of the window are joined with the string transom by a triangular notch (birdsmouth).

The parapet transom and string transom are supported on the roof rafter or trimmer rafter and not sunk in into the roof rafter.

Why should the parapet transom not be sunk in into the roof rafter?

____________________________________________________________

For hip roofs of windows, a packing piece is to be placed on the lintel transom to birdsmouth the jack rafters.


Figure 15 Hip roof of window

1 trimmer rafter, 2 lintel transom, 3 window post, 4 hip rafter of window roof, 5 packing piece, 6 jack rafter, 7 rafter of window roof, 8 triangular notch (birdsmouth)

The valley boards are to be nailed onto the roof rafters. The width and height of the rafter trimmings are to be suited to the existing roof rafters.

A cross section of 100 · 100 mm2 or 120 · 120 mm2 is recommended for posts and transoms.

The rafter cross section of gable or hip roofs of windows should be 60 · 120 mm2 and of lean-to dormer roofs of windows 80 · 140 mm2 .

Before interrupting a roof rafter, the rafter to be interrupted is to be underpropped. The prop is to be placed on the attic beam and to be secured against displacement or slipping off!

The diameter of the prop should be big enough to avoid collapse of the prop and accidents caused thereby!

The top end of the prop should at least have a diameter of 100 mm.

3.2. Partition of Rooms in the Attic

The rooms to be built into the existing space under the roof (attic) must be limited in their floor space and height. With a purlin roof, the length, width and height of the rooms are not optional but depend on the supporting structure of the roof.


Figure 16 Partition of rooms in the attic

1 king post, 2 trussed purlin, 3 stair landing, 4 staircase, 5 partition walls of rooms, 6 partition wall for attic walkway, 7 door to be built in, 8 opening direction of door

Any king posts and struts in the attic are fixed points for the partition of rooms since supporting structural parts must not be removed or interrupted.

Existing angle braces can be covered or included in the partition of rooms.

Why must supporting structural parts not be removed or interrupted?

______________________________________________________

Upper limitation of rooms

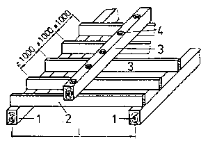
If purlin roofs have no valley beams, wooden beams must be built in for fixing of the subceiling. The wooden beams are to be placed and fixed on the trussed purlin.


Figure 17 Fixing of wooden beams

1 Trussed purlin, 2 wooden beam, 3 steel square, 4 additional rafters, 5 protection against trickling matter (faced particle boards)

Steel squares with boreholes are recommended for fixing the wooden beams to the trussed purlins by means of hexagon-head wood screws.

Fixing to the trussed purling is necessary to prevent any displacement of the wooden beams or lift-off when the subceiling is nailed from below.

The distance of the wooden beams to be built in must not exceed 1000 mm.

The cross section of the wooden beams depends on the span between the trussed purlins.

With a wooden beam distance of 1000 mm, a span between the trussed purlins of 4000 mm and no top ceiling, a beam cross section of at least 100 cm2 will be required.

If the spans between the trussed purlins are greater or if a top ceiling is to be provided in order to make use of the room above, a top beam can be built in to reduce the span. Otherwise the cross sections of the wooden beams must be statically verified.


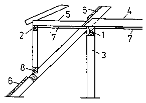
Figure 18 Built-in top beam

1 trussed purlin, 2 wooden beam, 3 top beam, 4 machine bolt l span between purlins

The wooden beams and the top beam are to be connected with machine bolts.

For safety reasons, static calculations are also required for the top beam!

In order to make the subceiling as light as possible, it is recommended to use faced particle boards.

Whether the particle boards can be directly fixed to the existing valley beams or built-in wooden beams or whether additional rafters will be required, depends on the working/processing instructions for the particle boards used.

Wood-wool slabs are not recommended because they need to be plastered which would result in additional load on the wooden beams. If sound or heat-insulating measures are required, insulating mats are to be placed on the particle boards or other types of protection against trickling matter used.

At the existing valley beams or built-in wooden beams the insulating mats are to be placed upwards and to be fixed with wooden strips.


Figure 19 Mounting of sound-insulating mats

1 wooden beam or valley beam, 2 protection against trickling matter, 3 additional rafters, 4 sound-insulating mat, 5 lath, 6 nail, 7 longitudinal side of insulating mat

If the mats are not wide enough, they are to be placed so as to overlap at their longitudinal sides by at least 100 mm, thus avoiding sound or thermal bridges.

Lateral limitation of rooms

Laterally the rooms can be limited by partition walls with king posts and struts being fixed points.

The king posts can be used for stabilization of the partition walls by fixing the wall covering (facing) directly to them. Between the king posts a framework will be required to hold the wall covering.

The thickness of the partition wall depends on the dimensions of the king posts.

Door openings are to be provided in the partition walls for access to the living rooms in the partitioned attic.

The partition walls inserted to permit use of the attic for housing purposes must, in any case, have sound insulation.

Why must the living rooms in the attic have sound insulation?

______________________________________________________

For sound insulation the partition walls are to be provided with sound-insulating material. Textile fibre mats, mineral wool mats or glass wool mats are recommended as sound-insulating material. When mounting the sound-insulating mats it is to be made sure that no sound bridges are produced.

Why must no sound bridges be produced when mounting the sound-insulating mats?

______________________________________________________

To avoid sound bridges, the sound-insulating mats are to be placed so as to overlap at the heading and framing timbers of the framework for the wall covering and are to be fixed with laths.

When mounting the sound-insulating mats, special care is required at the top connection in the area of the ceiling. Here, too, it is indispensable to fix the insulating mats with laths at the transom of the framework, at the trussed purlin, if used, at the valley beam or built-in wooden beams.

Neglect of fixing to the timberwork would result in a waste of material, money and labour employed in the entire sound-proofing measure.

When mounting the wall covering, it is to be made sure that no openings are left to provide access for animals who prefer to live in textile insulating materials and would destroy the insulating mats, thus making the sound insulation ineffective.

3.3. Covering of Visible Roof Rafters in the Room and of the Roof Superstructure

If the rooms in the attic are to be used for housing purposes, the visible roof rafters are to be covered, too. For this purpose, the same material should be used as for the partition wall.

Whether or not additional rafters are to be applied to the roof rafters, depends on the material used and on the working/processing instructions for such material.

In the event of wood covering, the covering can be directly nailed to the roof rafters with hidden nails or be screwed with visible screws.

In any case, the cavity between the roofing and wall covering is to be sound-insulated using the same material. The covering should be connected with the timbering in the same way as for the partition walls.

Before mounting the sound-insulating material, the area of the eaves angle and rafter foot should be particularly checked for access by animals.

But the necessary ventilation for the roof structure is to be ensured to avoid infestation of wood with animal pests which would destroy the roof structure over the years.

When joining the roof superstructure, the necessary covering of the timberwork should already be taken into account to avoid necessary or additional timbers to be included at a later stage.

The same material as used for the wall covering should be used for covering the rafters. When mounting the sound-insulating mats, sound bridges should be avoided by any means.

TO PREVIOUS SECTION OF BOOK