Back to Home Page of CD3WD Project or Back to list of CD3WD Publications

CLOSE THIS BOOKKeyed Joints - Course: Techniques of fitting and assembling component parts to produce simple units. Trainees' handbook of lessons (Institut für Berufliche Entwicklung, 21 p.)
VIEW THE DOCUMENT(introduction...)
VIEW THE DOCUMENTPreliminary Remarks
VIEW THE DOCUMENTHints on Labour Safety
VIEW THE DOCUMENT1. Intended Use of Keyed Joints
VIEW THE DOCUMENT2. Types of Keys
VIEW THE DOCUMENT3. Types of Keyed Joints
VIEW THE DOCUMENT4. Kinds of Stress Acting on Keyed Joints
VIEW THE DOCUMENT5. Tools and Auxiliary Accessories
VIEW THE DOCUMENT6. Selected Technological Operations for Making Keyed Joints
VIEW THE DOCUMENT7. Undoing of Keyed Joints

6. Selected Technological Operations for Making Keyed Joints

The sequence of operations for making keyed joints are different according to the respective type of key that shall be put in.

6.1. Taper Sunk Key Joints

Prefabrication of the slots

If keyed joints shall be made with the help of taper sunk keys, grooves must be prepared in the parts to be joined, in order to receive the key. These parts are machined by “milling”, “broaching” and “shaping”. Mostly, the grooves are given the D 10 fit and must have the taper of 1 in 100 in the hub.


Figure 19 - Individual parts with prepared grooves

Testing the individual parts

The external condition and accuracy to size of the hub and shaft have to be checked. In doing so, make sure that

- the shaft has a clean surface quality without embossments;

- the bore of the hub is free of shoulders or ridges;

- length, width, depth and alignment of the shaft keyway as well as the taper of the hub keyway (1:100) are true to size;

- the accuracy of fit of shaft and hub have been exactly observed (check by external limit gauge or plug limit gauge).


Figure 20 - Checking of the individual parts

1 length of shaft keyway, 2 depth of shaft keyway, 3 fit of shaft, 4 alignment of shaft keyway, 5 width of shaft keyway, 6 width of hub keyway, 7 depth of hub keyway, 8 fit of hub, 9 inclination taper of hub keyway

The clearance between shaft and hub must be kept very small, otherwise the hub moves off the centre by as much as the size of play and cants when the wedge is pressed in.

With high rotational speeds it may therefore come to great balance errors. In order to prevent this it is recommended to joint shaft and hub by a slight interference fit.


Figure 21 - Canting of hub and shaft due to too much play

Deburring of the individual parts

The keys as well as the keyways in shaft and hub are checked for burrs. Deburring is done by using a file or triangular scraper.

Fitting the key in the keyways

By slight driving-in of the tapered driving key in the keyway of the joined machine parts by way of trial it is found out whether the back surface carries well. For this purpose, one searches for drag marks or rubs the back surface with chalk; in order to find out the bearing contact pattern. Reworking is done by filling or scraping.


Figure 22 - Bearing contact pattern

1 surface areas required reworking

A similar procedure is followed with laid-in keys. As distinguished from the tapered driving key, the laid-in key is inserted into the shaft keyway and then the hub is driven on to the key.

Hints on the length of tapered driving keys

- After the test fitting, the respective key is sawn to the required length, so that it does not project from the hub.

- The length of gib-head keys is fixed in such a way that after the wedge is driven in the nose projects from the hub by the measure of the key width.


Figure 23 - Gib-head key put in place

1 width of gib-head key

Projecting gib-head keys must be protected by suitable protective caps. Freely rotating machine parts with gib-head keys may easily be the cause of an accident.

Assembling the individual parts

The shaft journal, the hub bore and the key are slightly greased.

Laid-in keys and Woodruff keys are put in the shaft keyway; then the hub is driven on to the shaft by press.


Figure 24 - Pressing-in of the hub using laid-in keys

1 pressing-in force

Tapered driving keys are driven into the previously joined individual parts with the help of a locksmith’s hammer and a cotter driver.


Figure 25 - Pressing-in of the tapered driving key by means of cotter driver

1 pressing-in force

Long and big tapered driving keys are forced in by about sledges and with the help of light metal backings. Neither the wedge nor the shaft and hub must be damaged when the wedge is forced in.

Testing the joint

After the key is driven in it has to be made sure that

- the key fits tightly
- the hub is in the right place on the shaft
- the hub rotates in truth on the shaft.

By what techniques are the grooves made in the shafts?
_________________________________________________________________
_________________________________________________________________
_________________________________________________________________

By what techniques are the grooves made in the hubs?
_________________________________________________________________
_________________________________________________________________
_________________________________________________________________

What qualities of the individual parts have to be examined if a taper sunk key joint shall be made?
_________________________________________________________________
_________________________________________________________________
_________________________________________________________________

What kind of fit is required between shaft and hub in case of taper sunk key joints?
_________________________________________________________________
_________________________________________________________________
_________________________________________________________________

6.2. Hollow Key and Flat Key Joints

- Preparation of the keyways:

Only hub keyways have to be made.

- Checking of the individual parts:

The external condition and accuracy to size of shaft and hub as well as of the hub keyway have to be inspected.

- Deburring of the individual parts:

Key and hub keyway have to be deburred.

- Fitting the key into the keyway:

By way of trial it is found out whether the key fits in the joined machine parts.
When using flat keys, the shaft has to be flattened corresponding to the bottom surface of the wedge.


Figure 26 - Fitted in hollow and flat keys

1 hollow key, 2 flat key

- Assembling the individual parts:

Shaft and hub are slightly greased and put together. The key is driven in by a locksmith’s hammer and a cotter driver.

- Testing of the joint:

After assembly, the firm fit of key and hub as well as the true running are tested.

6.3. Tangential Key Joint

- Preparation of the keyways:

In each shaft and hub two oblique (tangential) keyways have to be made which are staggered by 120°.

- Checking of the individual parts:

The external condition and accuracy to size of shaft and hub as well as of the keyways have to be checked.

- Deburring of the individual parts:

Wedges and keyways have to be deburred.

- Fitting the keys into the keyway:

At first, keys 2 and 4 are put in, then keys 1 and 3; they are slightly forced in and reworked after their bearing contact pattern has been inspected.

The inclined surfaces of keys 1 and 2 as well as 3 and 4 must be placed against one another for assembly.


Figure 27 - Fitted in tangential keys

- Assembling the individual parts:

Shaft and hub are slightly greased and put together.
After that, keys 2 and 4 are inserted and then keys 1 and 3 beaten in alternately.

- Testing of the joint:

After assembly, the firm fit of the keys and the hub as well as the true running have to be tested.

How is the fit of the keys examined?
_________________________________________________________________
_________________________________________________________________
_________________________________________________________________

What is tested after a shaft and hub joint is made?
_________________________________________________________________
_________________________________________________________________
_________________________________________________________________

6.4. Particularities when Making Conical Connections

- Taper sleeves are adapted to conical shaft butts attaining full bearing capacity by ink-marking and subsequent grinding and scraping.

- Taper pins as longitudinal keys are fitted in shaft and hub joints by the tecique of reaming. For this purpose, shaft and hub are clamped and bored and then reamed by taper reamers. Attention has to be paid that the front ends of shaft and hub level with each other so that they are bored accurately on the line of the shaft circumference.


Figure 28 - Conical joints

1 taper shank in taper sleeve, 2 taper pin as key

6.5. Joining by Using Cotters

- Making of elongated holes:

By the techniques of milling or mechanical filing elongated holes with the required taper of the side faces are made in both machine parts.

- Assembling the individual parts:

The individual parts are deburred and cleaned and put together with the oblong holes being aligned.

- Fitting in the key:

The key is beaten in slightly (on trial) in order to find out the bearing capacity of the inclined surfaces.

- After having been reworked the key is forced into the elongated hole by systematic hammer blows.

- Shall the key stand heavy and changing loads it must be secured against coming loose.


Figure 29 - Fitted in cotter

6.6. Joint Made by Using Tightening Keys

- Mounting the premanufactured individual parts:

The bearing shells are put into the mechanically made through hole. Thin sheet metal insets are placed between the two bearing shells.

The tightening key is put in such a way that a displacement of the key would cause also a displacement of one of the bearing shells.


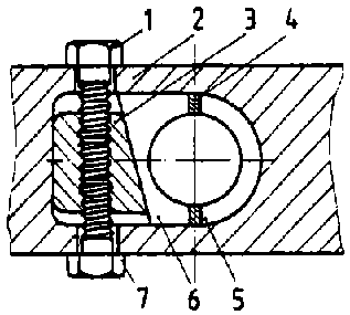
Figure 30 - Mounted adjusting key

1 adjusting screw, 2 casing, 3 tightening key, 4 plate insets, 5 bearing shell I, 6 bearing shell II

- Coarse adjustment of the tightening key:

The adjusting screw is screwed in and tightened till the bearing shells are pressed together. The locking screw is loosely screwed in - if tightened, it secures the tightening key against coming loose.

- Fine adjustment of the tightening key:

The shaft journal is put between the bearing shells. By tightening the adjusting screw the bearing shells are pressed together, but only to such an extent that a fine clearance remains between shaft and bearing shells.

If the shaft journal rattles, parts of the sheet metal insets have to be removed and the tightening key has to be retighten. Then, the tightening key is secured with the help of the locking screw.

TO PREVIOUS SECTION OF BOOK TO NEXT SECTION OF BOOK