Back to Home Page of CD3WD Project or Back to list of CD3WD Publications

CLOSE THIS BOOKManual Working of Material/Metal - Course: Manual working of metal. Methodical course-guide for instructors (Institut für Berufliche Entwicklung, 120 p.)
Riveting
VIEW THE DOCUMENT1. Objectives and contents of the practical vocational training in the working technique of “Riveting”
VIEW THE DOCUMENT2. Organizational preparations
VIEW THE DOCUMENT3. Recommendations for practical vocational training in the working technique of “Riveting”
VIEW THE DOCUMENT4. Application of the working technique of “Riveting”
VIEW THE DOCUMENT5. Captions and legends of the “Riveting” transparencies series

Manual Working of Material/Metal - Course: Manual working of metal. Methodical course-guide for instructors (Institut für Berufliche Entwicklung, 120 p.)

Riveting

1. Objectives and contents of the practical vocational training in the working technique of “Riveting”

By concluding their training the trainees shall have a good command of the working technique of “Riveting”. Therefore, the following objectives have to be achieved:

Objectives

- Knowledge of purpose and application of the riveting technique

- Proper command of the various working techniques of riveting and capability of joining workpieces in a workmanlike way.

- Capability of selecting the appropriate tools and accessories and of using them properly.

- Capability of evaluating the quality of their own work.

The following contents have to be imparted to the trainees:

Contents

- Purpose of riveting
- Kinds of rivets and riveted joints
- Tools and accessories for riveting
- Calculations for choosing rivets
- Technological process of riveting
- Detachment of riveted joints and riveting faults

2. Organizational preparations

In order to guarantee a trouble-free development of the instructions, exercises and practical work it is necessary to prepare this training properly.

This includes the following steps:

2.1. Preparations for instructions in labour safety

Prior to the exercises the trainees have to be given a brief instruction in the proper use of tools and equipment. This comprises hints for accident-free work, too.

The main emphasis is similar to that of the working technique of “Drilling and Counterboring/Countersinking”. The respective hints have to be repeated, and some supplementary points concerning the new working technique have to be added. These are the main points:

- Use flawless and well-fixed hammers only!

- Use suitable riveting supports only!

- Watch out for flying rivet heads during chiselling-off work - prepare protective screens or gratings!

Familiarity with these hints has to be confirmed by the trainees' signatures in a control book.

2.2. Provision of teaching aids

- For demonstration purposes a vice and suitable riveting supports should be installed at the place of instruction.

- The “Trainees' Handbook of Lessons - Riveting” has to be handed out to the trainees in sufficient numbers.

- When using the transparencies series of “Riveting”, check whether the series is complete (transparencies nos. 11.1. - 11.3.) and whether the overhead projector is in proper working order.

(Check the operating conditions at the place of instruction and make sure of the proper mains supply!)

- Surveys etc. which are to be written on the blackboard have to be completed prior to the instruction.

- All the tools and accessories mentioned in section 3 should be kept ready for illustrating the riveting technique.

2.3. Provision of working tools and materials

- Sufficient copies of the “Instruction examples for practical vocational training - “Riveting”” must be handed out to the trainees to provide them with the theoretical foundations for the exercises to be carried out.

- The initial materials necessary for these exercises have to be prepared and laid out in sufficient numbers - based on the materials mentioned in the “Instruction examples ...”.

- Each trainee has to be provided with a workbench at which a vice is firmly installed (check the proper height of this vice!).

- The trainees' workbenches have to be fully equipped with tools and accessories - based on the planned exercises.

Recommended basic equipment:

- steel rule, try square, vernier caliper
- steel scriber, marking gauge, punch
- locksmith's hammer, aluminium hammer
- hand hacksaw
- bastard and smooth files 250 mm (flat)
- C-clamps
- rivet set and header for rivet diameters of 3 to 5 mm.

- Bench- or column-type drilling machines and the necessary clamping tools (machine vices, holding clamps, C-clamps) must be provided for the required preliminary work (drilling and counterboring/countersinking).

- Prior to the start of the exercises the working order of the drilling machines has to be checked in compliance with the regulations on labour safety.

2.4. Time schedule

Time planning is recommended for the following training stages:

- introduction to the working techniques in the form of instructions
- necessary demonstrations
- job-related instructions to prepare the exercises
- carrying out the exercises
- recapitulations and tests.

The necessary time share depends on the respective training conditions. Most of the time is to be allocated to the exercises.

3. Recommendations for practical vocational training in the working technique of “Riveting”

The following paragraphs comprise proposals on conducting trainee instructions, demonstration of working techniques as well as on exercises and tests. Two course variants are recommended:

Variant no. 1

This variant should be chosen for trainees with previous knowledge and generally good achievements and receptiveness.

1.1. Introductory instruction with demonstrations based on the “Trainees' Handbook of Lessons”.

1.2. Exercises in riveting based on the “Instruction examples 11.1. - 11.5.”.

1.3. Final test of theory knowledge based on the “Examples for recapitulation and tests”.

Variant no. 2

This variant should be chosen for trainees with little previous knowledge or poor achievements.

2.1. Introductory instruction with demonstrations based on the “Trainees' Handbook of Lessons”.

2.2. Exercises in the technique of countersunk-head riveting based on the “Instruction examples 11.1. and 11.2.” with subsequent evaluation.

2.3. Additional instruction in the subject of “button-head riveting” based on the “Trainees' Handbook of Lessons”.

2.4. Exercises in riveting of button-head rivets based on the “Instruction examples 11.3. - 11.5.” with subsequent evaluation.

2.5. Final test of theory knowledge based on the “Examples for recapitulation and tests”.

Practical skills should be checked after handing over the completed workpiece immediately. Theory knowledge can be checked constantly. However, it is recommended to have a final test written (item 1.3. to 2.5.) after the exercises.

3.1. Introductory instruction

If possible, this instruction should be conducted in a classroom.

Make sure that the trainees put down necessary and supplementary notes or answers to questions in their “Trainees' Handbook of Lessons”. Based on the main points contained in the “Trainees' Handbook of Lessons”, the instructor can deal with the subject of instruction.

The instruction in the field of tools and accessories must be greatly supported by all the teaching aids available.

Purpose of riveting

The instruction begins with comments on kinds of joints of workpieces. This instruction is to show riveting as a technique which is still in use in various industrial and craftmen's establishments, but which is mainly replaced by other material- and time-saving techniques, e.g. welding and glueing. The instruction can be supported by transparency no. 11.1.


Figure 11.1

Kinds of rivets and riveted joints

The description of these kinds should follow the list contained in the “Trainees' Handbook of Lessons”.

- button-head rivet
- countersunk-head rivet
- oval-head countersunk rivet
- boiler rivet
- explosive rivet
- strap rivet
- hollow or pipe rivet
- pin-type rivet (spigot).

This list should be supplemented by additional comments on the fields of use of the rivets. The comments can be based on the detailed hints contained in the “Trainees' Handbook of Lessons” When speaking about the different kinds of riveted joints, the instructor is recommended to deal with the following points:

- kind of joint:

butt joint or lap joint

- number of rows:

single row or multiple row

- rivet arrangement:

parallel or zigzag

Tools and accessories for riveting

The following tools for cold riveting have to be introduced and explained to the trainees:

- riveting hammer
- rivet set
- rivet header
- riveting supports (fixed and adjustable)
- clamping tools.

The following items have to be added when speaking about the hot-riveting process:

- forge fire
- riveting block
- riveting tongs.

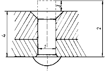
Calculations for choosing rivets

This subject is to be explained by commenting on the following terms:

- rivet shank diameter

(1)

- rivet shank length

(2)

- allowance

(3)

- thickness of plates being joined

(4)


Figure

This instruction should be supported by this figure as large-size representation on the blackboard.

The trainees have to learn that it is not always possible to get data on the rivets to be used. Very often there are no drawings available when repairwork has to be done. Thus, the trainees have to learn how to calculate the dimensions etc. of rivets to be used.

These calculations are to be based on the hints contained in the “Trainees' Handbook of Lessons”.

The following formulae shall be used:

L = s + A

D = diameter of rivet shank
s = thickness of plates being joined
L = length of rivet shank
A = allowance.

The trainees have to understand the differences between countersunk-head riveting and button-head riveting operations in order to see why the differences in allowances occur in the following survey:

Allowances for button-type closing heads

- in steel construction: up to rivet shank diameters of 20 mm
A = 1.5 x D
rivet shank diameters exceeding 20 mm
A = 1.6 x D

- in boiler construction:
up to rivet shank diameters of 20 mm
A = 1.7 x D
rivet shank diameters exceeding 20 mm
A = 1.8 x D
Allowances for countersunk closing heads:
A = 0.5 x D

The instructor has to teach the trainees that the calculated value has to be rounded off to the next standard rivet shank diameter.

The standard sizes are to be taken from the relevant tables. The trainees have to practise the use of these formulae by calculating several arithmetical examples (as contained in the “Trainees' Handbook of Lessons”).

Technological process of riveting

The individual operations should be discussed in detail in the following order:

- clamping/drilling

- upsetting

- deburring/countersinking

- preforming/heading

- insertion/drawing-in

- finish-forming of button head (closing head).

These steps are described in detail and illustrated in the “Trainees' Handbook of Lessons”. The following recommended values for drilling and countersinking should be written on the blackboard:

diameter of rivet

diameter of drilled hole

diameter of countersunk hole

(D)

(DB)

(DS)

1

1.1

1.8

2

2.2

3.5

3

3.2

5.2

4

4.3

7

5

5.3

8.8

6

6.4

10.3

8

8.4

14

After having explained this theoretical content of the subject, the instructor demonstrates these practises. He performs a simple and rigid countersunk riveted joint of two steel sheets of about 4 mm thickness by a countersunk-head rivet of a diameter of 4 mm. Subsequently, the trainees are shown the button-head riveting technique (same size).

The trainees have to watch the individual steps carefully. One of the trainees has to repeat this practice immediately afterwards. Mistakes he makes have to be revealed and corrected at once. The instructor must not forget to give the following hint:

Manual riveting of cold rivets is applied for steel rivets up to 8 mm diameter.

Thicker rivets must be riveted in a red-hot state.

The instructor has to mention the peculiarities of riveting with rivet bolts, too. He has to demonstrate how to preform a die head. Transparency no. 11.2. can serve to illustrate this process.


Figure 11.2

Detachment of riveted joints and riveting faults.

Chiselling off, drilling and grinding off are to be mentioned as methods of destroying rivets. This work has to be carried out in compliance with the labour safety regulations.

Subsequently, the instructor mentions the features of frequently occurring riveting faults. The figures and descriptions contained in the “Trainees' Handbook of Lessons” or transparency no. 11.3. should be used as teaching aids.


Figure 11.3

3.2. Exercises

If it has not been possible to include the individual demonstrations in the instructions, this should be done right now before the start of the exercises. If the trainees avail of only little practical skill, they should do some preliminary exercises on any small-size work-pieces:

- small countersunk-head riveted joints on flat material
- smaller-scale button-head riveted joints on flat material

However, it is also possible to begin with the first exercises contained in the “Instruction examples for practical vocational training”.

But it is necessary to prepare every individual exercise by a brief “job-related instruction”, during which the trainees will be shown a finished workpiece in order to illustrate the objectives and crucial points of this exercise.

The instructor must have completed such a workpiece himself in order to be familiar with all the problems which might arise in producing such a workpiece.

Thus, the instructor is capable of clearly defining the main points of evaluation and of assessing the achievements. During these instructions the sequences of operations and the working drawings of the “Instruction examples” should be placed on the desks so that the trainees can make additional notes therein. The trainees can carry out all the exercises simultaneously in the mentioned order, if sufficient tools etc. are available.

If this is not the case, the trainees have to be grouped - based on the main subjects of the tasks and number of tools available:

group no. 1 - production of countersunk-head riveted joints
group no. 2 - production of button-head riveted joints.

The following hints for operating the drilling machines must be borne in mind:

The trainees must not operate the drilling machines before they are familiar with the function of the control elements!

The instructor has to check whether the trainees had been given the instruction in operating drilling machines (based on the entries in the control book of labour safety instructions). If this is not the case, this must be done now.

During the exercises the instructor must permanently supervise the trainees: No practice without supervision! Special attention must be drawn to the production of holes. It is recommended to always check the clamping tools for firm clamping.

It is also advisable for the instructor to demonstrate again the operation of the machine, the clamping of the workpiece and the drilling operation. Special emphasis is to be laid on the process of centring (alignment of hole and work spindle), if the work-piece had been unclamped between the stages of drilling and countersinking.

As it will not be possible to provide each trainee with a drilling machine, the instructor has to determine the proper succession in which the trainees will operate the machines already during the job-related instruction (instruction examples).

During the exercise the instructor has to make sure that only one trainee operates the machine. Several trainees at one machine could distract each other from working and increase the danger of accidents!

Trainees who cannot begin with riveting work should do some other work in the workshop in the meantime: selection and preparation of initial materials, control of and minor repair work on working tools etc. under the supervision of the instructor. However, it is also possible to carry out additional and consolidating exercises of working techniques acquired earlier.

3.3. Examples for recapitulation and tests

This section comprises questions which are to consolidate and test the acquired knowledge and skills. Each question is provided with the respective answer. Questions which are also contained in the “Trainees' Handbook of Lessons” are marked with the letter “A”.

1. What is the purpose of riveting?
(Production of a permanent connection of two or more work-pieces.)

2. What properties can riveted joints have?
“A” (They can be rigid, movable, tight, rigid and tight.)

3. Why is riveting a connection which cannot be detached again?
“A” (Because the rivet as a connecting element must be destroyed, if the connection is to be detached.)

4. What are the materials rivets are made of?
“A” (They are made of tought steel; copper, brass, aluminium.)

5. What is the main property which these materials must have?
“A” (They must be tough, flexible - well formable.)

6. Which kinds of rivets do you know?
(Button-head rivets, countersunk-head rivets, oval-head countersunk rivets, boiler rivets, strap rivets, hollow rivets.)

7. When do we employ button-head rivets?
“A” (Button-head rivets are used to make particularly tight or rigid connections, which are not affected by the projecting rivet head.)

8. When do we employ countersunk-head rivets?
“A” (Countersunk-head rivets are used when the surface must not have irregularities and the planned joints are not too highly stressed.)

9. What are the criteria for differentiating firm rivet connections?
(Kind of joint, number of rows, arrangement of rivets.)

10. Which tools and accessories are necessary for cold riveting by hand?
“A” (Riveting hammer, rivet set, rivet header, riveting support, surface plate, clamping tools.)

11. What is the function of a rivet set?
“A” (Pressing of the metal sheets to be riveted and setting the die head to the metal sheets.)

12. Which rivet can be used for joining three metal sheets of 5 mm thickness each with a countersunk-head rivet?
“A” (Countersunk-head rivet 4 x 17.)

13. Which values do we have to calculate, if the kind of riveting is not given in detail on the drawing?
(Diameter of rivet shank, length of rivet shank, diameter of drilled hole, diameter of countersunk hole.)

14. What are the individual steps to be taken when producing a button-head countersunk riveted joint?
“A” (Clamping, drilling, deburring, insertion, drawing-in, upsetting, pre-forming, finish-forming.)

15. What can we do if separately drilled components do not have aligned holes after being put together?
“A” (We must ream them up by means of a taper reamer.)

16. What hole must we drill for a 4 mm thick rivet?
“A” (4.3 mm.)

17. What kind of a countersink do we need in order to prepare countersunk-head riveted joints?
“A” (75° countersink.)

18. What is the diameter of the countersunk hole for a countersunk-head rivet of 4 mm?
“A” (7 mm.)

19. What is the upper limit of steel rivet diameters for cold riveting?
(About 8 mm.)

20. Why should non-ferrous metal rivets by annealed before the riveting process begins?
“A” (Annealing will increase their elasticity or, resp., plasticity.)

21. Why must we apply only a few but straight blows when we rivet the closing head?
“A” (In order not to cold-harden the rivet and in order to preserve its toughness.)

22. How can we detach riveted joints?
“A” (Destruction of rivet head by chiselling, drilling, grinding.)

23. What riveting faults can have occurred, if we recognize that the closing head is not fully formed?
“A” (Shank of rivet too short, metal sheets are not fully pulled together, drilled hole too big for rivet, rivet header too big, rivet hole is not countersunk.)

4. Application of the working technique of “Riveting”

Based on the variants described in section 3, the exercises can be designed as a single instruction or in several stages of exercises. Based on the “Instruction examples for practical vocational training” the trainees can manufacture 5 workpieces of different degrees of difficulty. These “Training examples ...” also comprise a list of materials (initial materials, hand tools, measuring and testing tools, accessories) as well as the sequence of operations associated with manufacturing of the workpiece. Also contained is an illustrative working drawing. Thus, the trainees will avail of all the necessary information to begin their exercise-related work.

If the instructor finds out in the course of the exercises that the quality of the workpieces produced is not sufficient, the trainees must carry out more comprehensive preliminary work. In this case it is recommended that waste components be used. After having practised this skill, the planned workpiece can be produced. The following hint should be taken into account:

The trainee has to do all the necessary work by himself - from cutting the initial material up to the completion of the workpiece. This is the only way to guarantee a just evaluation of the trainee's achievements.

If the proposed “Instruction examples ...” are not included in the exercises, it will be also possible to select other workpieces. In this case the instructor has to make sure of it that all the working techniques mentioned before will be practised with this workpiece.

4.1. Instruction examples

What follows is a brief description of the individual instruction examples in order to give a survey of those workpieces on which the previous knowledge can be practised:

Instruction example 11.1.

Protective jaws


Figure

An aluminium sheet and a steel sheet will be rigidly joined by double-sided countersunk-head riveting. The trainees use rivet bolts of 4 mm aluminium wire.

After their completion these protective jaws can be used as accessories for clamping of components with sensitive surfaces in a vice.

Instruction example 11.2.

Try square


Figure

Three steel sheets are firmly joined by countersunk-head rivets in one row. The trainees will use pre-fabricated countersunk rivets of steel (4 mm). After its completion the try square can be used as a testing tool for squareness.

Instruction example 11.3.

Waste shovel


Figure

Steel sheets will be rigidly joined by double-sided button-head rivets. The trainees use 4 mm rivet bolts of copper wire. This shovel for waste disposal can be used for cleaning purposes in the workshop.

Instruction example 11.4.

Waste bin


Figure

The trainees will practise two-row zigzag riveting with button-head rivets of copper and steel in order to rigidly join steel sheets. Its dimensions are chosen to adapt it to the envisaged purpose of use in the workshop.

Instruction example 11.5.

Key-bolt for cabinets


Figure

Several components will be joined by combined button-head and counter-sunk rivets. The trainees use button-head rivets of 4 mm and countersunk rivets of steel. This key-bolt for cabinets can be combined with a padlock and form a firm locking mechanism for tool cabinets.

4.2. Criterial for practical training

It is recommended to determine certain points of evaluation and supervision. The following criteria can serve as a guideline:

Preparation

- Did the trainee calculate the rivet dimensions exactly?
- Did the trainee select the appropriate rivet?

Clamping/drilling

- Did the trainee select the appropriate drill?
- Have the workplaces been firmly clamped and drilled jointly?
- Does the trainee properly ream up non-aligned holes?

Deburring/countersinking

- Does the trainee use the appropriate countersink?
- Does the diameter of the countersunk hole comply with the exact tabular value?

Insertion/drawing in

- Does the trainee insert the rivet with the die head at the bottom?
- Does the trainee use the rivet set for tightening the metal sheets?

Upsetting

- Does the trainee hammer exactly into the direction of the longitudinal axis of the rivet?

Pre-forming/heading

- Does the trainee appropriately pre-form the button head by uniform blows around the rivet head?
- Does the trainee hammer the countersunk head cleanly into the countersunk hole?

Finish-forming

- Does the trainee use the appropriate rivet header?
- Does he form the button head cleanly?

5. Captions and legends of the “Riveting” transparencies series

Transparency no. 11.1.

Application of rivet joints

(1) Rigid rivet joint in steel construction

(2) Rigid rivet joint of metal sheets (sheet metal rivet with button head and countersunk head)

(3) Movable rivet joint (universal joint with button-head rivet)

(4) Movable rivet joint (universal joint with hollow rivet)

Transparency no. 11.2.

Working operations for double-sided countersunk riveted joint with rivet bolts

(1) Drilling of the clamped metal sheets

(2) Countersinking on both sides with 75 countersink

(3) Insertion of rivet bolt and setting up on riveting support

(4) Upsetting of shank

(5) Forming of upper countersunk head

(6) Turning over of metal sheets - upsetting of closing head

(7) Forming of closing head

Transparency no. 11.3.

Riveting faults

(1) Rivet hole was not deburred; compression at the hole edge; closing head not fully formed.

(2) Rivet hole too big; bending of shank ; closing head not fully formed.

(3) Upper metal sheet not fully tightened; shank compressed between metal sheets; closing head not fully formed.

(4) Rivet joint too tight ; upper metal sheet compressed.

(5) Rivet holes offset; notched rivet shank.

(6) Rivet shank too short; closing head not fully formed.

TO PREVIOUS SECTION OF BOOK TO NEXT SECTION OF BOOK