Back to Home Page of CD3WD Project or Back to list of CD3WD Publications

CLOSE THIS BOOKShaping of Surfaces Standing at an Angle to each other and Stepped Surfaces - Course: Techniques for machining of material. Trainees' handbook of lessons (Institut für Berufliche Entwicklung, 21 p.)
VIEW THE DOCUMENT(introduction...)
VIEW THE DOCUMENT1. Purpose of shaping surfaces standing at an angle to each other and stepped surfaces
VIEW THE DOCUMENT2. Kinds and construction of shaping tools to be used
VIEW THE DOCUMENT3. Preparation for shaping of surfaces standing at an angle to each other and stepped surfaces
VIEW THE DOCUMENT4. Shaping of surfaces standing at an angle to each other and stepped surfaces

3. Preparation for shaping of surfaces standing at an angle to each other and stepped surfaces

Prophylactic health and fire protection and labour safety are an essential requirement for carrying out machining of material.

Therefore, the following requirements are to be met:

- Keep your workplace always clean and in order. So, among other things, you will not lose any time in looking for things you need for work.

- Use only such working tools which are in an unobjectionable condition.

- According to the job use appropriate protection for your body (safety goggles in case of flying chips, protective gloves against sharp-edged workpieces).

- For cleaning, checking and clamping place the machine out of operation. Do not make safety devices ineffective.

- Use appropriate aids for chip removal (brush, broom etc.).

- In case of defects which affect the operational reliability of the machine do not start the machine and eliminate the defects.

- During shaping great lateral compressive forces (shaping) or support pressures (slotting) often occur. Make use of the work-holding equipment in such a way that the workpiece will not be permanently deformed.

When is it necessary to wear safety goggles?
_______________________________________________________________________

Prepare the sequence of operations in such a manner that all necessary working tools and objects of work can immediately be used without losing any time.

This includes above all:

- Receive the work order and the workpieces to be machined. Check the workpieces for completeness and accuracy to size, i.e. check the premachining quality.

- Read the technical drawing (working drawing) and the work accompanying sheets.

- Lay out and check the necessary working means (tools, measuring and testing means, clamping and auxiliary equipment) according to the work order.

- Determine the cutting values.

- Fix the sequence of operations.

Clamping the workpieces

When machining is made on shaping machines, work-holding equipment has the following functions:

1. Positioning - fixing of the workpiece position to the tool
2. Clamping - counteraction to the cutting forces occurring during the machining process

The clamping elements to be used must bring the workpiece into the necessary position to the tool and neutralize the cutting forces.

Therefore, each workpiece clamping must

- be firm, safe and definite in position and
- ensure the clamping reliability without resulting in permanent deformations of the workpiece.

For this reason greatest importance shall be attached to a job-related, firm workpiece clamping according to labour safety.

The choice of the respective clamping equipment depends on

- the shape, size and number of workpieces to be machined,
- the cutting values to be applied,
- the workpiece position, its direction and quality.

Proper use of the clamping means requires to know exactly what cutting forces occur.

The following main clamping means are used:

- machine vices
for chucking small workpieces with parallel bearing surfaces (most frequently used kind of clamping workpieces) Positioning of the machine vice is made by means of tongues.


Figure 15. Machine vice

- clamps
for clamping large workpieces on the machine table or thin-walled workpieces which would bend in the machine vice


Figure 16. Clamp (1 clamp, 2 workpiece, 3 worktable, 4 base)

- clamping bolts
for mounting further clamping means or workpieces with bore holes


Figure 17. Clamping bolt

- clamping dies
for clamping workpieces which cannot be clamped by means of clamps by making use of the wedge effect


Figure 18. Clamping dies in use (1 workpiece, 2 fixed clamping die, 3 movable clamping die, 4 workpiece clamping area)

- angle-plates
as rotatable or tiltable clamping possibility with the help of T-slot bolts


Figure 19. Angle-plate

- electromagnetic chucks
for chucking workpieces which are machined with small cutting forces (finish machining and fine finishing)


Figure 20. Electromagnetic chuck (1 plate, 2 pole strips)

- clamping supports
for height adjustment when clamps are used


Figure 21. Clamping support

- fixtures

They are used for clamping workpieces which due to their geometrical shape cannot or only with considerable effort be clamped with usual clamping means such as vice, stops and clamps. This is the safest kind of clamping ensuring high quality. It is, however, dependent on the specific workpiece and construction of the fixture.

- clamping the workpiece on the machine table under compression.
Here the workpiece is clamped from both sides by means of clamps.


Figure 22. Clamping the workpiece on the machine table under compression

- clamping the workpiece on the machine table
Clamping is reached by lateral clamping forces.


Figure 23. Clamping the workpiece on the machine table (1 stop, 2 workpiece, 3 work supporting block, 4 clamping piece with clamping nut)

On principle, when clamping workpieces, take care to ensure that

- an exact positioning of the workpieces to the primary motion is reached (adjust clamping means or workpieces)

- parallel-ground bases are used

- clamps are resting horizontally

- those points on the workpiece which are sensitive to distortion are protected (bases, wedges etc.)

- the clamping elements are located as close to the workpiece as possible and are arranged in such a manner that the cutting forces act against the fixed stops

- impurities between locating and supporting surfaces are removed

- the clamping forces act against fixed back rests (stops, supports).

Clamping of tools

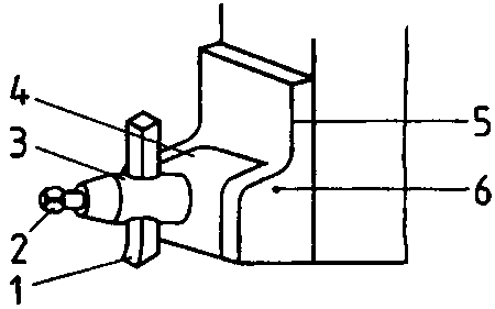
As tool clamping device the tool holder is used which in the case of shaping is also called tool post. The tool is fixed by means of clamping bolts. The tool holder is arranged to swivel around its axis. This makes machining of acute-angled surfaces possible.


Figure 24. Tool holder (1 tool, 2 clamping bolt, 3 tool post, 4 clapper, 5 clapper box, 6 fulcrum pin)

When clamping the tools, make sure that

- the tool inserted is stable enough to neutralize the cutting forces occurring
- the tool is clamped as short as possible to prevent bouncing or twisting phenomena
- the clamping surfaces are free from burrs and impurities
- point-like clamping forces in hard tool material (super high-speed steel and high-speed steel) are distributed to larger surfaces by means of supports.

What is the fundamental function of work-holding equipment?
_______________________________________________________________________
_______________________________________________________________________

Mention three important clamping means for carrying out the technique of shaping.
_______________________________________________________________________
_______________________________________________________________________
_______________________________________________________________________

What are the advantages and disadvantages of using fixtures?
_______________________________________________________________________
_______________________________________________________________________
_______________________________________________________________________

Choice of cutting values

When determining the cutting values, pay attention to the following hints:

- As a rule, the shaping and slotting tools consist of high-speed steel (HSS) or super high-speed steel (SHSS) or they are compound tools with carbide tipping. This is necessary because the impact load during starting of the cut does not allow the use of other superhard cutting materials.

- High-speed steel cutting materials are more break-proof than those made of hard metal, however, they do not allow high cutting speeds.

- Liquid coolants are relatively seldom used for shaping, as the tool is not constantly engaged. If, nevertheless, coolant is used, the tool life (mainly when high-speed steel is used or the cuts are long) and the surface finish of the workpiece are increased and improved.

- When steel is machined with carbide-tipped shaper tools, the necessary high cutting speeds are often not reached for reasons resulting from the machine. Thus, built-up cutting edges and a considerably higher load of the tool cutting edge occur. Lower cutting speeds with the use of high-speed steel prove to be more favourable in this case.

- The grind of the tool is of decisive influence on the quality of machining and the life of the tool. The angle of inclination of the cutting edge, which due to the favourable chip disposal is chosen to be mostly negative, is of special influence.


Figure 25. Shaper tool (1 angle of inclination at shaper tool)

In the following machining recommendations for v (cutting speed) are given:

HSS

- high-speed steel

20 - 26 m/min.

SHSS

- super high-speed steel

26 - 35 m/min.

HS

- hard metal

36 - 40 m/min.

For determining the mean cutting speed (vm) is recommended for simplicity.

The stroke length is calculated according to L = l + la + lo (mm).

The number of double stroke is determined according to

When the technique of shaping end faces is used, vm is to be halved once more due to the unfavourable cutting conditions.

What mean cutting speed (vm) is chosen for shaping an end face with a tool made of high-speed steel?
_______________________________________________________________________

A workpiece made of St 38 with a length of 80 mm shall be machined by face-shaping. Determine the number of double strokes.
_______________________________________________________________________
_______________________________________________________________________
_______________________________________________________________________

When determining the return stroke, choose the return speed to be as high as possible (time-saving). If the return speed is fixed by the construction, no choice is possible.

Take into consideration the accelerating and braking forces of the table or ram in case of small strokes.

Choice and application of measuring and testing means as well as coolants and lubricants

The following measuring and testing means are applied:

- flexible steel rule
- vernier caliper
- external micrometer
- dial gauge
- slip gauges
- spirit level
- protractor.

The use of necessary coolants and lubricants as well as other auxiliary equipment and utilities (brushes, compressed air etc.) shall also be taken into account.

As coolant and lubricant the following are suited:

drilling emulsion (emulsion of water and oil)
cutting oil (for specially high surface quality)

In most cases the use of coolants and lubricants is not necessary, as the interrupted cut with sufficient chip removal prevents generation of much heat.

TO PREVIOUS SECTION OF BOOK TO NEXT SECTION OF BOOK