Back to Home Page of CD3WD Project or Back to list of CD3WD Publications

CLOSE THIS BOOKSetting-up and Operating of Horizontal or Vertical Milling Machines - Course: Techniques for machining of material. Trainees' handbook of lessons (Institut für Berufliche Entwicklung, 25 p.)
VIEW THE DOCUMENT(introduction...)
VIEW THE DOCUMENT1. Purpose and importance of milling
VIEW THE DOCUMENT2. Types and design of milling machines
VIEW THE DOCUMENT3. Preparation for setting-up and operation of horizontal or vertical milling machines
VIEW THE DOCUMENT4. Setting-up and operation of horizontal or vertical milling machines
VIEW THE DOCUMENT5. Maintenance and servicing of milling machines

1. Purpose and importance of milling

The milling technique is used to machine and produce workpieces made of free-cutting material.

Milling is a metal cutting operation with the cutting done by a single-edged or multi-edged tool, the milling cutter.

The milling cutter performs a rotary movement (primary motion) and the workpiece a linear movement (secondary motion).

The milling technique is used to produce, mainly on prismatic components, flat, curved, parallel, stepped, square and inclined faces as well as slots, grooves, threads and tooth systems.

There are two basic milling methods: plain (or cylindrical) milling and face (or end) milling. Either method may be up-cut (or conventional) milling or down-cut (or climb-cut) milling. Plain milling and face milling differ with respect to the milling cutters or cutting edges (teeth) used in the cutters, respectively, and to the direction of feed.

Plain milling (cylindrical milling)

The peripheral teeth are cutting.


Figure 1. Working motions of plain milling

1 plain milling cutter, 2 workpiece, 3 direction of rotation, 4 feed direction, 5 cross-sectional area of cut


Figure 2. Plain milling cutter in action

1 plain milling cutter, 2 workpiece, 3 comma-shaped chip

Face milling (end milling)

The radial and peripheral teeth are cutting.


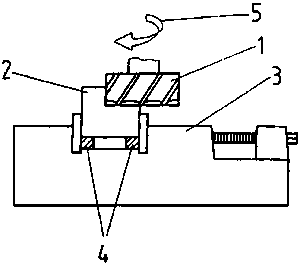
Figure 3. Face milling cutter (face milling of a stepped face)

1 face milling cutter, 2 workpiece, 3 machine vice, 4 parallel blocks, 5 direction of rotation of cutter


Figure 4. Face mill during face milling

Up-cut milling (conventional milling)

The primary motion of the milling cutter and the secondary motion of the workpiece are in opposite directions.


Figure 5. Up-cut milling

1 milling cutter, 2 workpiece, 3 direction of rotation of cutter (primary motion), 4 feed direction of workpiece (secondary motion)


Figure 6. U-cut milling (workpiece clamped in machine vice)

Down-cut milling (climb-cut milling)

The primary and secondary motions (cutter and workpiece motions) are in the same direction.


Figure 7. Down-cut milling

1 milling cutter, 2 workpiece, 3 direction of rotation of cutter (primary motion), 4 feed direction of workpiece (secondary motion)

Down-cut milling calls for the following technical prerequisites:

- For elimination of the backlash between the machine table screw and screw nut, a climb-milling attachment (backlash eliminator) is necessary.

- The increased cutting values of down-cut milling (1.5 times the cutting values of up-cut milling are possible) necessitate a low-vibration bearing of the cutter arbor (two counter bearings are recommended for plain milling on the horizontal milling machine) and the workpiece must be additionally secured in the direction of feed.

- Milling cutters with small wedge angle and relatively big rake angle reduce the cutting impacts and extend the cutter life. The cutting teeth are in action on the maximum thickness of chips.

Down-cut milling is possible only on milling machines with climb-milling attachment.

For down-cut milling the workpiece and workpiece clamping device must be fixed so that the workpiece cannot be pulled to the cutter jerkily. (Danger of accidents/tool breakage).

What is the difference between plain milling and face milling?
________________________________________________
________________________________________________
________________________________________________
________________________________________________

What are the technical prerequisites absolutely necessary for down-cut milling?
________________________________________________
________________________________________________
________________________________________________
________________________________________________

What is the difference between up-cut and down-cut milling?
________________________________________________
________________________________________________
________________________________________________
________________________________________________

TO PREVIOUS SECTION OF BOOK TO NEXT SECTION OF BOOK