Back to Home Page of CD3WD Project or Back to list of CD3WD Publications

CLOSE THIS BOOKRecessing, Cutting-out and Cutting-off - Course: Techniques for machining of material. Trainees' handbook of lessons (Institut für Berufliche Entwicklung, 17 p.)
VIEW THE DOCUMENT(introduction...)
VIEW THE DOCUMENT1. Purpose and importance of recessing, cutting-out and cutting-off
VIEW THE DOCUMENT2. Design and types of turning tools to be used
VIEW THE DOCUMENT3. Preparation of recessing, cutting-out and cutting-off
VIEW THE DOCUMENT4. Recessing of external and internal grooves
VIEW THE DOCUMENT5. Cutting-out of disks and rings
VIEW THE DOCUMENT6. Cutting-off of solid stock and hollow parts

3. Preparation of recessing, cutting-out and cutting-off

The preparation of the relevant operations includes to properly and duly make available all tools, materials and auxiliary means needed.

In doing so, the following rules are to be observed:

- Check the tools for serviceability. Use serviceable tools only.

- Tools to be used must not be placed one above another.

- Store tools in clean condition.

- Store measuring and testing tools on adequate supports only.

- Select the necessary auxiliary means according to the work order and place them at disposal on adequate supports (sup-porting plates for turning tools, boring rings, live centre, stop, block gauge, chuck key, stationary steady rest).

Never leave the chuck key in the chuck because of danger of accidents when switching on the machine.

What is to be considered when checking the tools for service-ability?
_________________________________________
_________________________________________
_________________________________________

Setting-up of the machine mainly involves the following steps:

- Clamping/chucking of the workpiece for recessing

· Internal turning (turning out) of soft chuck jaws since the parts to be turned are already pre-machined.


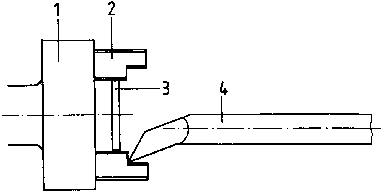
Figure 8 Internal turning of soft chuck jaws

1 three-jaw chuck
2 soft chuck jaws
3 boring ring
4 internal side-cutting tool (or boring tool).

Internal turning of the chuck jaws guarantees true running of the parts and prevents the surface of the parts to be damaged.

- Clamping/chucking of the workpiece for cutting-out .

· Internal turning of soft chuck jaws.
· Use of thrust pads when machining sheet metal and thin-walled parts.


Figure 9 Use of thrust pads

1 three-jaw chuck,
2 thrust pad - chucked in three-jaw chuck,
3 workpiece,
4 thrust pad as counter-support,
5 live centre,
6 tailstock sleeve

- Clamping/chucking of the workpiece for cutting-off

· Three-jaw chuck and hard chuck jaws (for bar stock).
· Internal turning of soft jaws (for pre-machined parts and hollow parts).

- Clamping of the tools

· Always ensure short and firm clamping of the end-cut turning tool/hook tool exactly in central position to avoid springing, hooking and breaking off of the tool.

· For long, thin workpieces use steady rest, if necessary.

· Choose supporting plates of adequate thickness (to avoid clamping with several supporting plates). In case of bad spindle bearing, hooking of the end-cut turning tool can be avoided by clamping the tool upside down and rotating the chuck in anti-clockwise direction.

When cutting-off with the tool clamped upside down, the chuck is to be secured against getting loose unintentionally.

- Setting of the cutting values

What rotational speed will be necessary for a recess on a 30 mm diameter of a part of St 60 steel using an end-cut turning tool made of high-speed steel?

Formula:

_________________________________________

given:

_________________________________________

required:

_________________________________________

Calculation:

What rotational speed is to be selected for cutting-off disks from St 60 solid stock of 140 mm diameter? (Turning tool used is made of high-speed steel)

Formula:

_________________________________________

given:

_________________________________________

required:

_________________________________________

Calculation:

Give the reasons for the selection of the speed:
_________________________________________
_________________________________________

TO PREVIOUS SECTION OF BOOK TO NEXT SECTION OF BOOK