Back to Home Page of CD3WD Project or Back to list of CD3WD Publications

CLOSE THIS BOOKGrinding of Simple Tools - Course: Technique for manual working of materials. Methodical guide for instructors (Institut für Berufliche Entwicklung, 19 p.)
VIEW THE DOCUMENT(introduction...)
VIEW THE DOCUMENT1. Objectives and contents of practical vocational training in the working technique of ''Grinding of Simple Tools''
VIEW THE DOCUMENT2. Organizational preparations
VIEW THE DOCUMENT3. Recommendations for practical vocational training in the working technique of ''Grinding of Simple Tools''
VIEW THE DOCUMENT4. Application of the working technique of ''Grinding of Simple Tools''
VIEW THE DOCUMENT5. Caption and legends of the ''Grinding of Simple Tools'' transparencies series

3. Recommendations for practical vocational training in the working technique of ''Grinding of Simple Tools''

The following paragraphs comprise proposals on conducting trainee instruction, demonstration of the working techniques and on the form of exercises and tests.

The following course of events is recommended:

- Introductory instruction accompanied by demonstrations based on the "Trainees' Handbook of Lessons".

- Exercises in sharpening based on the "Instruction examples 12.1. - 12.5." and subsequent evaluation.

- Final test of theory knowledge based on the "Examples for recapitulation and tests".

Practical skills should be checked immediately after handing over the completed workplace. Theory knowledge can be checked constantly. However, it is recommended to have a final test written after the exercises.

3.1. Introductory instruction

If possible, this instruction should be conducted in a classroom. Make sure that the trainees put down necessary supplements and answers to questions in the "Trainees' Handbook of Lessons".

The subjects of instruction can follow the main points contained in the "Trainees' Handbook of Lessons".

Purpose of sharpening

The instructor shows dull tools (chisels, drills) and workpieces which were treated with these tools in order to explain the purpose of sharpening the tools to the trainees. The instructor has to point out that the use of dull or damaged tools can result in great losses. The trainees have to understand that the technique of off-hand sharpening is high-quality manual work. They will learn that nearly all the common tools in a locksmith's shop are maintained this way.

Machines and tools for sharpening

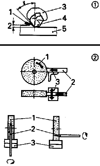
Based on the hints contained in the operating manuals and folders the instructor makes the trainees familiar with the bench-type and pedestal grinding machines in the workshop. The basic design of a bench-type grinding machine can be also seen on transparency no. 12.1. The grinding wheels used as tools for sharpening are the subject of the subsequent instruction in the different forms and structural composition of such wheels.


Transparency 12.1

The following forms should be illustrated:

- flat grinding wheels
- dish wheels
- cup wheels.

If these grinding wheels are not available as originals, transparency no. 12.3. or the figures contained in the "Trainees* Handbook of Lessons" can be employed as teaching aids. It is also recommended to demonstrate coarse, medium and fine-grained grinding wheels and their respective fields of application. The trainees should be shown the silicon carbide and corundum wheels used for off-hand sharpening. They must learn to select the proper wheels by eyesight.


Transparency 12.3

Action of grinding and whetting

The action of grinding can be seen during the grinding process.

Transparency no. 12.2. can support the necessary explanations. As some burrs will occur at the cutting edge during the grinding process, the trainees are given a detailed description of the whetting process. It is recommended to demonstrate the position of the cutting edge on the whetstone and the kinds of movement involved in whetting. The instructor should never forget to underline the importance of this process and to stress that tool life greatly depends on an exact whetting process. (The tool life of a properly whetted chisel can be four times as long as that of a chisel which has not been whetted),


Transparency 12.2

Applications of off-hand sharpening

Based on the detailed descriptions contained in the "Trainees' Handbook of Lessons", the instructor can describe the sharpening technique for the following tools:

- centre punch and scriber
- flat chisel
- drill with standard drill point

This description can be supported by using the sequences of operations given in the "Instruction examples for practical vocational training". As the different positions of the hand are the main point in these processes, the trainees must be demonstrated how to hold the tools. The instructor can do so by simply showing a grinding wheel and the hand positions associated with grinding. This must be supplemented by repeated demonstrations at a grinding machine later.

Hints for mounting and dressing of grinding wheels

The instruction in mounting the grinding wheels should follow the order contained in the "Trainees' Handbook of Lessons". When describing the individual activities the instructor has to mention all the associated safety regulations. These activities must be carried out in a workshop under the supervision of the instructor only. Supervision is also necessary for dressing of grinding wheels with a hand dresser.

3.2. Exercises

If it has not been possible to include the demonstrations in the instructions by now, this should be done right now prior to the beginning of the exercises.

These demonstrations must be so designed that not more than two trainees watch them at a time. These trainees have to repeat this action immediately afterwards under the supervision of the instructor. It will be necessary for the instructor to repeat these demonstrations frequently, for the proper sharpening technique can be only acquired by detailed observation and immediate duplication.

Subsequently, the trainees can begin with their first exercises based on the "Instruction examples for practical vocational training".

However, it will be necessary to prepare every individual exercise by a "job-related instruction". This comprises the demonstration of a finished workpiece in order to underline the purpose and objectives of this exercise,

The instructor must have completed such a workpiece himself in order to understand all the problems involved in the production of the workpiece.

Thus, the instructor can clearly indicate the main points of evaluation and assessment of the achievements as well as crucial manufacturing areas. During these instructions the sequences of operations and the working drawings of the "Instruction examples" should be placed on the desks so that the trainees can make notes therein..

The trainees can carry out all the exercises simultaneously in the given order, provided that the number of tools etc. will allow this. If this is not the case, the trainees have to be grouped into teams - based on the tasks and the number of tools, machines etc. available.

If there are only a few grinding machines available, the exercises in sharpening should be done in parallel with exercises in other working techniques. Preferably, the techniques of "drilling, countersinking and counterboring" as well as "manual reaming" and "manual thread cutting" should be practised. During these exercises waiting times might occur at the drilling machines, and these times could be usefully bridged by exercises in sharpening.

The supervision of the instructor has to concentrate on some crucial points:

Since it is difficult to learn the proper positioning of the hands, as can be seen from repeatedly occurring handling errors, the instructor has to keep a close eye on the trainees. The instructor can reduce the trainees' anxieties caused by the rotating grinding wheels through calm and steady demonstrations and permanent supervision.

The trainees are requested to have their tools checked frequently. The instructor can recognise errors in the position of hands from the characteristic grinding pattern. If a trainee does not learn the proper handling techniques - even after prolonged exercises - the instructor has to guide the trainee's hands for a while. The exercise is characterised by a constant alternation of demonstration and duplication.

Exercises at the grinding machine should not exceed 2 hours, because the attention of the trainees will slacken off very fast. In addition, you have to keep in mind that bench-type and pedestal grinding machines are not designed for continuous operation - danger of overheating. This is the reason why the sharpening process should be interrupted by other working techniques. Thus, the "Instruction examples..." concentrate on the production of simple tools and the subsequent sharpening operation.

3.3. Examples for recapitulation and tests

This section comprise questions which are to consolidate and test the previously acquired knowledge and skills. Each question is provided with the respective answer. Questions which are also contained in the "Trainees' Handbook of Lessons" are marked with the letter "A".

1. What is the purpose of sharpening?


(Cutting edges of tools have to be prepared for cutting in manufacturing processes by grinding and whetting or dull edges are re-ground for further use.)

2. What is the advantage of off-hand sharpening?



"A" (You can do it at any grinding machine immediately without any time-consuming preparations.)

3. Which tools can be treated by off-hand sharpening?



(Steel scribers, scribers of beam trammels and scribing blocks; centre punches, chisels and drills of all kinds, screwdrivers and scrapers.)

4. Which-is the main wheel form used in off-hand sharpening?



"A" (Flat wheel.)

5. When do we use cup wheels for sharpening?



"A" (In case we have to create flat surfaces without any hollow grinding.)

6. What are the components of a grinding wheel?



(Abrasive and bonding agent.)

7. What kinds of wheels are used for off-hand sharpening?



(Corundum wheel and silicon carbide wheel.)

8. What kind of wheel is used for sharpening tools made of tool steel?



"A" (Soft to medium-hard corundum wheel with medium grain size.)

9. What is the action of grinding?

"A" (Irregularly shaped abrasive grains will shave fine segmental chips from the workpiece.)

10. What do we understand by "self-sharpening* of the grinding wheel?



"A" (Dull abrasive grains will get loose by the pressure of the workpiece and they will give way to the sharp abrasive grains which lie behind them.)

11. What is the purpose of whetting?



"A" (The occurring sharpening burr has to be removed from the tool cutting edge in order to increase the tool life.)"

12. How do we whet a cutting edge?

(Both sides of the edge are to be angularly rubbed on the whetstone until the burrs are removed.)

13. What is typical of the technique of sharpening punches and scribers?



"A" (Sharpening of the tapered end in a horizontal position, sharpening of the points in a vertical position.)

14. What is typical of the technique of sharpening chisels?



"A" (Vertical sharpening of the cutting edge in a slightly upward position and with simultaneous to-and fro-movements.)

15. What is the working movement for sharpening drills?



"A" (The main cutting edge of the drill is brought into a horizontal position and then the drill is pressed upwards and to the right simultaneously.)

16. Which angles are to be maintained when grinding drills with standard drill point?



- angle of point 118°
- complementary angle of the drill edge angle 55°
- clearance angle 4-6


17. What grinding faults can we detect by eyesight?

- unequally long main cutting edges
- main cutting edges with unequal angles
- hollow-ground main cutting edges


18. What do we understand by 'drill-pointing'?


"A" (This is the lateral resharpening of the drill edge in a vertical position.)

19. Why is it necessary to dress grinding wheels?



(To guarantee true running and surface finish of the grinding wheel.)

TO PREVIOUS SECTION OF BOOK TO NEXT SECTION OF BOOK