Back to Home Page of CD3WD Project or Back to list of CD3WD Publications

CLOSE THIS BOOKNailing and Screwing - Course: Making of wood joints. Instruction examples for practical vocational training (Institut für Berufliche Entwicklung, 29 p.)
VIEW THE DOCUMENT(introduction...)
VIEW THE DOCUMENTPreliminary Remarks
VIEW THE DOCUMENTInstruction Example 01.1. Nailing of a Lath Grid
VIEW THE DOCUMENTInstruction Example 01.2. Nailing of a Halved Frame Corner Joint
VIEW THE DOCUMENTInstruction Example 01.3. Nailing of a Tool Kit
VIEW THE DOCUMENTInstruction Example 01.4. Nailing of a Wall Panel
VIEW THE DOCUMENTInstruction Example 01.5. Screwing of a Carrying Handle on a Tool Kit
VIEW THE DOCUMENTInstruction Example 01.6. Screwing on of a Screw-on Brace

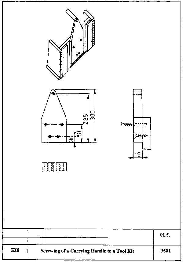
Instruction Example 01.5. Screwing of a Carrying Handle on a Tool Kit

In this instruction example, the joining of two boards by means of wood screws is practised.

Material

- tool kit from instruction example No. 3
- finished carrying handle, board thickness: 20 mm
- 8 pcs. countersunk-head wood screw 3 x 30 mm


Figure

Tools

screw driver 6 mm, wood drill 2 mm and 3 mm, bit brace with rose bit

Measuring and testing means

back square, folding rule, vernier caliper

Auxiliary means

joiner's bench, screw clamp, pencil

Required previous knowledge

reading of the drawing, measuring and scribing, drilling

Sequence of operations

Comments

1. Prepare the workplace, make the working materials available

Check the completeness of tools and materials

2. Apply the handle holder according to the drawing and scribe it, determine the screwing points and mark them

The handle holder is situated centrally to the box. The screwing points shall enclose a surface as large as possible, shall be staggered with the grain and have a distance to the edge of about 20 mm!

3. Bore the handle holder 12 mm deep with the drill 3 mm dia. and ream it, fasten it with the screw clamp to the box according to the scribed line and go on boring and the predrilled holes with the drill

Fasten the screw clamp so that at least three holes can be drilled without hindrance. Observe the boring depth!

4. Screw in the countersunk-head screw with the screw driver

The blade of the screw driver must completely fill the slot in the screws so that it is possible to drive in the screws without damaging the slot and the wood edge!

5. Screw on the second side of the handle holder (see operation 2. to 4.)


6. Final check

When visually checking, take heed of the following:
- the screw heads be must flush with the wood surface
- all screws must be firmly screwed in
- bores and screws must not be through, i.e. they must not be visible on the opposite side!


Screwing of a Carrying Handle to a Tool Kit

TO PREVIOUS SECTION OF BOOK TO NEXT SECTION OF BOOK