Back to Home Page of CD3WD Project or Back to list of CD3WD Publications

CLOSE THIS BOOKOperations on Band and Circular Sawing Machines - Course: Mechanical woodworking techniques. Trainees' handbook of lessons (Institut für Berufliche Entwicklung, 19 p.)
5. Circular Sawing Technology
VIEW THE DOCUMENT5.1. Oblong cuts
VIEW THE DOCUMENT5.2. Cross and Angular Cuts

Operations on Band and Circular Sawing Machines - Course: Mechanical woodworking techniques. Trainees' handbook of lessons (Institut für Berufliche Entwicklung, 19 p.)

5. Circular Sawing Technology

5.1. Oblong cuts

Marking the workpiece:

Marking ensues with pencil and straight edge in line with the sizes cited in the technical drawing or the widths of the unseamed plank edges. The seam cut is so marked that the uneven, rind-covered narrow face falls down after cutting and the board has rectangular outer edges.


Figure 8 Marking the hem cut 1 pencil, 2 straight edge, 3 plank face, 4 seam edges

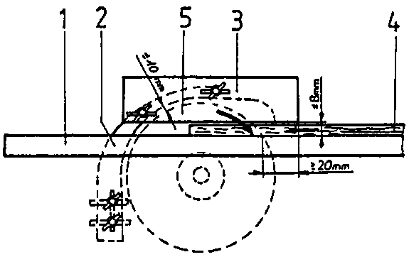
Setting up the circular saw:

The saw blade with the desired tooth form is chucked in line with the material being processed whereas the projection depends on the workpiece thickness. Subsequently splitting wedge and huard hood are set.


Figure 9 Setting up the circular saw 1 machine table, 2 splitting wedge, 3 guard hood, 4 workpiece, 5 saw blade

Saw cut execution:

The machine is switched on. Check saw blade for smooth running.

Unseamed planks are sawn freehand according to marking. Grip and guide the plank to the side of the marking.

Following the seam cut, the stop rule is set to the desired board width. By means of the feed strip the board at the stop rule is pushed through the saw blade.


Figure 10 Sawing oblong cuts 1 machine table, 2 stop rule, 3 feed strip

Employ noise reduction means!

Check the saw cuts:

Size control ensues by means of the folding rule. The evenness of the cut edges is checked using the straight edge or visually.


Figure 11 Controlling saw cuts 1 size control with folding rule, 2 evenness control with straight edge

Reset the stop rule if board width inaccuracies arise. After sawing, switch off the machine and remove saw chippings to prevent stumbling.

How is the seam cut marked?
___________________________________________________________________________
___________________________________________________________________________
___________________________________________________________________________

What must be heeded when setting up the circular saw?
___________________________________________________________________________
___________________________________________________________________________
___________________________________________________________________________

Why must a feed strip be used?
___________________________________________________________________________
___________________________________________________________________________
___________________________________________________________________________

5.2. Cross and Angular Cuts

Producing a reference edge:

The board is cut laterally or at the required angle on one end face. Commensurately, set the stop on the receding table to which the board is positioned during sawing. The cross-cut is so marked that minimal cut-back results.


Figure 12 Producing a reference edge 1 stop on machine table, 2 workpiece, 3 mark

Marking the length:

The required length is marked at the other board end or at the stop of the receding table in line with the lateral or angle cut.

Sawn kerf execution:

The plank with the receding table is fed slowly through the saw blade.


Figure 13 Saw cut with the receding table

Checking size consistency:

The size consistency of lengths is checked by means of the folding rule. Rectangular cross-cuts are checked using the try square. Mitre cuts of 45° are checked by means of a mitre angle of 45° or 135° whilst an angle measuring device is used for other angles.


Figure 14 Checking mitre angle

How can angle cuts be accurately attained?
___________________________________________________________________________
___________________________________________________________________________
___________________________________________________________________________

Which operation precedes marking the precise length of a workpiece?
___________________________________________________________________________
___________________________________________________________________________
___________________________________________________________________________

TO PREVIOUS SECTION OF BOOK TO NEXT SECTION OF BOOK