Back to Home Page of CD3WD Project or Back to list of CD3WD Publications

CLOSE THIS BOOKHow to Make? An Improved Soap .. Not just for more Foam (GTZ, 1993, 71 p.)
B. Equipment and materials
VIEW THE DOCUMENT(introduction...)
VIEW THE DOCUMENTB.I. Material and equipment for preparation
VIEW THE DOCUMENTB.II. Material and equipment for the finish product

How to Make? An Improved Soap .. Not just for more Foam (GTZ, 1993, 71 p.)

B. Equipment and materials

To produce soap at the family and small-scale levels you need the following equipment and materials:

- Boiler for pretreatment of fats;
- Boiler for saponification and material for mixing;
- Container for preparation of the alkaline solution;
- Balance and densimeter;
- Moulds to pour in the soap;
- Material to cut soap;
- Small material (gloves, plastic bols, glasses, pails.

Some of these materials are used for soap preparation while others are rather used for the finishing of the product.

The small materials such as plastic gloves and boot, glasses, pails etc. are used at every stage of production.

B.I. Material and equipment for preparation

B.I. MATERIAL AND EQUIPMENT FOR PREPARATION

B.I.1. Boiler

B.I.1.1 Boiler for pre-treatment of fats

A cone mounted with a cylinder would be the ideal shape for the boiler but the simple cylinder is also appropriate if it has a sufficient height. Two tapes at least should also be placed at different levels, one at the bottom in order to easily eliminate the impurities.

The material to be poured for confection should stand fire a lasting period .

Figure 1 represents the sketch plan of a boiler for pretreatment.


Fig. 1 : BOILER FOR FAT RAFFINATION

B.I.1.2 Boiler for saponification

Any wide opening container standing direct contact with heating fire and made out material supporting alkaline, can be used as a boiler for saponification.

In the practice, iron is the material indicated for developing countries. The pottery containers would also be appropriate if they were less fragile. They are nevertheless used sometimes in traditional soap making at home level.

The boiler may have various shapes. Though the classical shape, reducing at a minimum the risk of over pouring during the heating is a combination of an half cone with a out flow device at the bottom and a cylinder. This shape can easily be integrated in a direct heating stove.

Figure 2 represents the sketch plan of such a boiler designed at the TCC (Technology Consultancy Center) at Kumasi, GHANA.

Simple cylinder shape boilers are also appropriate.

The quantity (mass) of soap to be made by charge in a boiler varies from 1/3 to 1/2 of the boiler volume.

For the small loads (up to about 500 l) mixing may be done with a stick. For more important quantities, a mechanic mixing equipment is highly recommended.

Figure 3 shows the sketch plan of such an equipment.


Fig. 2 : BOILER FOR SAPONIFICATION, TYPE TCC


Fig. 3 : BOILER FOR SAPONIFICATION WITH MIXTURE ELEMENT

B.I.2 Container for the alkaline solution

Alkaline solution should be prepared in wide-opening containers, constructed in material resistent to alkaline. An empty barrel for instance would be well appropriate. For storage, hermetic containers are necessary.

B.I.3. Balance and densimeter

These two measuring instruments enable the determination of the quantities of raw materials entering in the preparation of soap.

The appropriate scale for traditional soap-making should be able to weigh at least 100 Kg during a single operation. Various models filling this fundamental condition are available on the market.

The Baume aerometer (or densimeter) enables the determination of the density of a liquid. It is also available on the market as industrially manufactured product. In case of unavailability you may refer to the solution which consists in putting one (1) egg or one(1) potato in the alkaline solution.

As the sketch indicates, when these objects float just at the surface, the solution has for instance an intake of 180 g of pure soda (NaOH) for each Kg (18%).

B.II. Material and equipment for the finish product

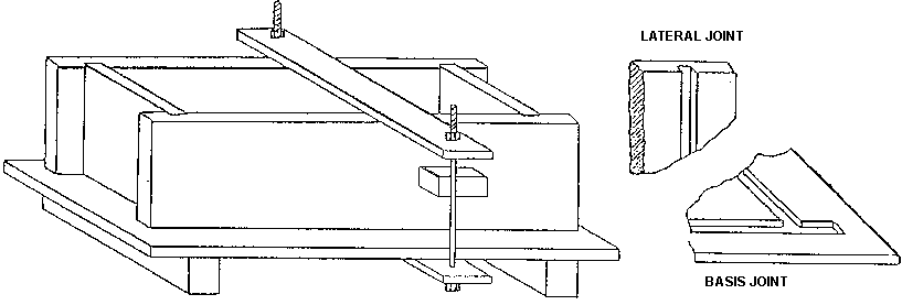
B.II.1 Moulds

They are used to flow in the (hot) fluid mass of the soap. They may be of various shapes and should better be constructed in wood. For the cold processed soaps the big measurements moulds are particularly indicated as they allow a better conservation of the heat from the reaction.

Figure 4 shows the sketch plan design of a mould which can be taken to pieces, type ATDA (see chapter G. No.5) for the easy recuperation of the soap bar after its herding.


Fig. 4: MOULD FOR COLDING AND HARDENING WITH CONSTRUCTION DETAILS

B.II.2.Equipment used for cutting

After being taken out of the mould the blocks should be cut into portions themselves cut into bars.

The adequate simple techniques for cutting is the usage of wires (straight or not) and of a bar marker .

Figure 5 represents a sketch of these simple equipments .


FIG. 5: MATERIALS AND SIMPLE TECHNIQUES USED TO CUT AND DRY SOAP

For cutting the soap blocks and bars you may also use a cutting table, mainly when the produced quantities are important.

Figure 6 shows the sketch of such a table.


FIG. 6: CUTTING TABLE WITH CONSTRUCTION DETAILS

B.II.3. Packaging material

The soap bars should be piled up in a manner that the air can easily circulate between them; so they would dry under control. When the market requires it, a cutting into pieces is then carried out. The shaping of each piece of soap by stamping is generally not necessary at this scale of production. Cartons or baskets can be used as packaging for the transport and commercialization.

TO PREVIOUS SECTION OF BOOK TO NEXT SECTION OF BOOK