Back to Home Page of CD3WD Project or Back to list of CD3WD Publications

CLOSE THIS BOOKTools for Mining: Techniques and Processes for Small Scale Mining (GTZ, 1993, 538 p.)
Technical Chapter 1: Analysis
VIEW THE DOCUMENT1.1 Blow pipe assaying
VIEW THE DOCUMENT1.2 Pycnometer
VIEW THE DOCUMENT1.3 Manual magnetic separator by Dr A. Wilke
VIEW THE DOCUMENT1.4 Quick-test-strips merckoquant
VIEW THE DOCUMENT1.5 Rifflebox

Tools for Mining: Techniques and Processes for Small Scale Mining (GTZ, 1993, 538 p.)

Technical Chapter 1: Analysis

1.1 Blow pipe assaying

General Ore Mining
Analysis

germ.:

Lotrohrprobierkunde

span.:

analisis con soplete

Manufacturer:

Krantz

TECHNICAL DATA:

Dimensions:

approx. 20 - 25 cm long, pointed nozzle with 0.4 - 0.5 mm jet of platinum or nickel

Weight:

approx. 50 grams

Degree of Mechanization:

not mechanized

Form of Driving Energy:

either blown by mouth or

Alternative Forms:

driven by compressed air

Mode of Operation:

intermittent

Materials for operation:


Type:

charcoal, clay vessel, glass tube, fuel Na2CO3 (soda) K2C2O2

(sorrel-

salt) Na2B4Ox7 × 10 H2O (borax) Na(NHg)HPO4 × 4H2O(microcosmic salt)

ECONOMIC DATA:

Investment Costs:

blowpipe approx. 30 DM

Operating Costs:

predominantly determined by cost of reagents and labor costs

Related costs:

very accurate weighing scale (to ± 0.1 mg), lineal scale for determinin small silver and gold grains, magnifying lens

CONDITIONS OF APPLICATION:

Operating Expenditure:

low |————|———| high

Maintenance Expenditure:

low |———|————| high

Personnel Requirements:

highly experienced analyst

Type of Analysis:

semi-quantitative and qualitative

Accuracy of Results:

+ 2 g/t for Au and Ag

On-site Performability:

Ag, Au, Cu, Pb, Bi, Sn, Co, Ni, Hg can be determined quantitatively

Replaces other equipment:

all other analytical-chemical methods such as RFA, liquid chemicals

Regional Distribution:

previously widely-distributed sampling and analyzing method in industrialized countries; has since been replaced by new methods.

Operating Experience:

very good |———|————| bad

Environmental Impact:

low |———|————| very high

Suitability for Local Production:

very good |————|———| bad


Parts of the blowpipe and the heater, possibly the stand as well as the small-scale compressor could be locally produced.

Lifespan:

very long |———|————| very short

Bibliography, Source: Plattner, Wehrle, Kest, Kolbeck, Frick-Dausch

OPERATING PRINCIPLE:

Blowpipe analysis is a multiple-step procedure for qualitatively or semi-quantitatively determining the individual elements contained within a small quantity of sample. The process involves dry thermal procedures, sometimes in combination with wet testing methods. The sample is heated in an open or half-closed pipe, melted to a bead with borax (Na2B4O7 × 10 H2O) or microcosmic salt (NaNH4HPO4 × 4 H2O) under oxidizing and reducing conditions, burned directly in a flame to determine flame color, or heated with coal under oxidizing and reducing conditions. A small flame torch serves as the energy source, which is intensified by blowing into it through a tapered tube, the blowpipe. The discoloration of smelt, sublimate, corona or flame in each particular assay or experiment, together with any distinct odors and/or reactions which may appear, provide Information on the chemical composition of the sample.

REMARKS:

Of importance is a waterbag, which is an extension of the pipe for collecting condensed water, to prevent It being expelled during blowing.

Lamps with cotton wick and rape-oil, paraffin, tree oil and mixtures of alcohol (spirits) with gasoline (benzine) or oil of turpentine are suitable.

Polished pieces of charcoal of approx. 30 × 30 × 40 mm are employed as a base. If charcoal is not available, the foundation or base can be prepared using coal dust and starch paste.

In 1670, Erasmus Bartholin conducted the first scientific research on the use of the blowpipe. A homogeneous air current can be achieved during blowing by connecting the blowpipe to an available compressed air line. If this is not possible, a pumped-up tire, for example from a wheel barrow or automobile, can be used as a compressed air tank.

The advantages of blowpipe analysis are the simplicity of both the determination and the required equipment. Samples can be analyzed very quickly and comparatively accurately, which is particularly important in an operating mine. Special sample preparation, such as extensive crushing, etc. are not necessary.

The analysis methods, which appear complex in their description, can be greatly simplified when standard assays are conducted on known metals.

SUITABILITY FOR SMALL-SCALE MINING:

Semi-quantitative and qualitative analytical technique requiring simple and low-cost equipment; demands, however, a highly-experienced operator. In metal mining, the blowpipe analysis is suitable for grade control and for assaying during prospecting and exploration.


Fig.: View of blowpipe with changeable precious-metal nozzle (above left). Source: Frick-Dausch

Table: The primary chemical reactions of blowpipe analysis. Source: Frick-Dausch

A. Heating of the substance in a half-closed pipe

1. A distillate develops: water.

2.
A pure white sublimate develops:
Salts of ammonia: simultaneous occurrence of NH3 odor.
Mercury chloride: melts, evaporates and condenses in a needle-like form.
Mercury all-chloride: sublimates without melting; hot sublimate is yellow, cold is white.
Arsenic tri-oxide: fine-crystalline white sublimate.
Antimony tri-oxide: melts to a yellow liquid and sublimates at higher temperatures.

3.
A coloured sublimate develops:
Arsenic and high-grade arsenic ores: mirror of arsenic, garlic odor.
Antimony: mirror of antimony.
Arsenic sulphides, arsenopyrite: hot sublimate is dark, cold varies from yellow to red.
Antimony sulphides: at higher temperatures; hot sublimate is black, cold is red-brown.
Sulphur: melts easily, condenses as a yellow sublimate.
Mercury sulphide: black sublimate which when rubbed with a match changes only very slowly into a red modification.
Mercury grey sublimate from metallic mercury.

4.
A gas develops:
Oxygen: from chlorates and peroxides.
Carbon all-oxide: from carbonates and bi-carbonates. CO2-gas put into lime water produces a white precipitate, which then dissipates when acidified with HCI, contrary to CaSO4.
Ammonia: from salts of ammonia
Hydrogen sulphide: from water-bearing sulphides.

B. Heating in a half-closed pipe with potassium-bisulphate
Nitrate and nitrite form NO2.
Bromides emit red-brown bromine vapors.
Iodides release violet-colored iodine vapors.
Chlorides form hydrogen chloride.

C. Heating in a pipe open on both sides (calcination test)
Free sulphur and metal sulphides form SO2.
Tellurium emits white smoke, which partially condenses.
Selenium sublimates black, on the upper edge often reddish, Selenium odor.
Arsenic substances emit white, volatile, cristalline arsenic tri-oxide.

D. Bead test

a) Borax bead: borax Na2B4O7 10 H2O

Borax bead

Coloring element

Oxidation bead

Reduction bead


hot

cold

hot

cold

Mn

violet1)

red-violet

colorless

colorless

Ni

violet (recognizeable only for a short time)

red-brown

cooolorless or

colorless or grey2)





grey

Co

blue

blue

blue

blue

Cu

green

blue-green to light blue

colorless

sealing-tax red opaque3)

Vd

yellowish

green-yellowish

brownish

lllight greenish

Cr

dark yellow to red

green

green

green

U

yellow-red

yellowish

green4)

green4)

Mo

yellowish5)

colorless

yellow

light brown-yellow

Wo

yellow to colorless

colorless

yellow

light brown-yellow

Ti

yellowish

colorless

yellow-brown

yellow-brown

Fe

yellow-red

yellow to colorless

greenish

greenish


1) black when solution is too strong
2) from finely-divided metallic nickel
3) easy to produce with tin, highly characteristic
4) when saturation is too strong and by whirling, greenish-black and muddy
5) only in a very pure oxidizing flame completely free of reducing components

b) Phosphor salt test; phosphor salt (= microcosmic salt) NaNH4HPO4 × 4H2O

Phosphor salt bead

coloring element

oxidation bead

reduction bead


hot

cold

hot

cold

Mn

violet

violet

colorless

colorless

Co

blue

blue

blue

blue

Cu

green

blue-green to light blue

colorless to greenish

sealing-wax red opaque1)

Mo

yellowish2)

colorless2)

brownish-green

green

Cr

red, then dirty green, finally clear green

as with oxidation bead, but colors more intense



Vd

dark yellow

yellow

brownish

green

U

yellow

yellow-green

dirty green

green

Ti

yellowish to colorless

colorless

yellow

violet3)

Wo

yellowish to colorless

colorless

dirty green

blue4)

Ni

reddish-brown

yellow to reddish-yellow

reddish to yellowish with SnCl2 grey and muddy

Fe

red-yellow, then green-yellow, finally brownish

like oxidation bead, but colors less intense

1) with the help of tin
2) only in a very pure oxidizing flame completely free of reducing components
3) calcined with a trace of ferro sulphate, blood red; very sensitive!
4) with a trace of ferro sulphate, blood red; also very sensitive (e.g. wolframite!). With SnCl2 and without Fe-additive, dark green.

E. Flame coloration

Yellow flame:

sodium

Reddish-yellow flame:

calcium

Red flame: lithium;

strontium


Differentiation between Li and Sr:
LiCl is more volatile than SrCI2. LiCI develops at once and does not last.
Green flame: barium: yellowish-red lasting coloration.

Boric acid: very sensitive when sample is mixed with CaF2 and H2SO4; evaporates as BF3
Copper nitrate: pure green (copper chloride: blue).
Phosphoric acid: light bluish-green, especially after moistening the sample with H2SO4.

Blue flame: copper chloride.
Selenium: selenium odor.

Violet flame: potassium; rubidium; caesium.
Separation of Na and K: viewed through a cobalt glass, the light from Na fades, and the potassium flame appears purple-violet.

F. Sample with cobalt solution

The sample is soaked with a cobalt solution (1:10) and heated on a magnesia stick in the oxidizing flame.
Blue coloration: silicic acid and silicates: light blue.

alumina: dark blue (Thenard's-blue).

Green coloration: zinc oxide, pure green (Rinnmann's-green).
Tin oxide: blue-green.

G. Soda-saltpeter-melt

Light yellow melt: chrome.
Light reddish-yellow melt: uranium.

Vanadium produces a very pale-yellowish-colored melt; colorless when cold.
Ferro oxide does not go into solution.

Greenish-blue melt: manganese.
Testing for: molybdenum, tungsten, vanadium, columbium, titanium
The soda-salpeter-melt is rubbed with water in a flask filtered, and the filtrate is acidified with H2SO4. A piece of metallic zinc is soaked in the solution for a longer period of time.

Tungsten: The solution slowly turns sky-blue
Molybdenum: solution slowly turns brownish-black.
Vanadium: solution becomes light blue, then later green. If the sulphuric solution is treated with hydrogen peroxide, vanadium causes a yellow-brown coloration.
Columbium: the dry mass is treated with concentrated H2SO4. When cooled, the solution is poured into a threefold volume of water and zinc is added. In the presence of columbium the solution first becomes blue and then changes to a turbid brownish-black
Titanium: present if a white powder, which slowly turns violet, precipitates out when an aqueous solution of the melt is acidified.
Special reaction for titanium: potassium bisulphate bead is dissolved in water and hydrogen peroxide is added; if the solution becomes brownish-yellow, titanium is present.
To test for manganese, alcohol is added to an aqueous solution of the melt and the precipitated manganese dioxide is filtered off. In the presence of chrome, testing for the other metals according to the described method is not possible.

H. Testing on Coal

1. Sublimates

Yellow sublimate: hot - dark yellow lead, bismuth (often bead).
White sublimate: hot - yellow zinc; when moistened with cobalt nitrate and strongly annealed: green.Blue sublimate: cadmium.
White sublimate, adhering to sample: tin (involatile).
White sublimate: hot - yellow. molybdenum. When a reducing flame is briefly held over a molybdenum sublimate, perpendicular to longitudinal direction of coal, a dark blue band of Mo3O2 develops in the middle of the white sublimate. Highly characteristic.
Brownish sublimate: silver (silver bead).
Grey sublimate and odorous fumes: selenium.
White sublimate and arsenic odor: arsenic.
White sublimate, slightly volatile and thick fumes: antimony.

2. Reduction with soda

White bead: silver, lead, bismuth, antimony, tin.

Colored bead: copper, gold.

Grey metallic spangle: iron, nickel, cobalt (magnetic) and platinum metals (non-magnetic).
Important special samples: sulphur (Hepar test). The substance is melted with soda under reducing conditions and placed on a thin sheet of silver. After moistening, a brownish-black coating develops on the silver sheet in the presence of sulphur.

Flourine: heating of the sample substance in a lead crucible with SiO2 and H2SO4 (Browning test, see below).

Tellurium: when tellurium ores are slightly warmed with concentrated H2SO4, the sulphuric acid turns red.

Uranium: the sample substance is first melted with soda, then with saltpeter; the melt is mixed with water to a pulp, which is then placed on a filter; acetic acid and solution of ferro potassium cyanide are added, which produces a brownish-red spot in the presence of uranium.

Silicic acid and flourine: Browning Test: the sample is mixed with calcium chloride and sulphuric acid to a pulp in a thimble-shaped lead crucible which is then covered by a lead lid with a hole in the middle. A wet piece of black filter paper (available by Schleicher and Schull) is placed over the hole, and a second, standard filter paper (wet and folded) is placed on top to keep the black paper wet. Following warming of the crucible in a water bath for about 10 minutes, silicon flouride escapes which hydrolytically dissociates during deposition of white silicic acid when it comes in contact with the moisture of the black filter paper. Upon completion of testing, the presence of silicic acid in the sample is revealed by a white spot on the black filter paper where it covers the hole in the lid. Very characteristic and highly sensitive. The procedure can also be used to test for flourine by mixing the sample substance with silicic acid and sulphuric acid. Boric acid can be disruptive since it similarly volatilizes.

1.2 Pycnometer

General Ore Mining
Analysis

engl.:

specific gravity bottle

germ.:

Pyknometer

span.:

picnometro (densimetro)

TECHNICAL DATA:

Dimensions:

available in volumes from approx. 10 ml to 1,000 ml

Weight: 50 ml-size:

16 grams

Extent of Mechanization:

not mechanized

Mode of Operation:

intermittent

Throughput/Performance:

approx. 10 - 12 measurements/h

Operating Materials:


Type:

water

ECONOMIC DATA:

Investment Costs:

30 to 100 DM

Operating Costs:

predominantly labor cost

Related Costs:

weighing scale with minimum accuracy of ±0.1g, cost approx. 200 DM

CONDITIONS OF APPLICATION:

Operating Expenditure:

low |———|————| high

Maintenance Expenditure:

low |———|————| high

Personnel Requirements:

experience in collecting and evaluating test data

Type of Analysis:

quantitative/qualitative

Accuracy of Results:

dependent weighing accuracy.

Time Requirement:

approx. 5 min.

On-site Performability:

pycnometric determination of density through the use of mechanical scales can easily be performed in the field, especially when at least 10 g of material is available for testing. The weighed sample for determining density should be dry and must be insoluble in a medium (e.g. water).

Operating Experience:

very good |———|————| bad

Environmental Impact:

low |———|————| very high

Suitability for Local Production:

very good |————|———| bad


Precision instrument made of glass which cannot be manufactured


locally; the mechanical scale also cannot, in most instances, be locally manufactured.

Lifespan:

very long |———|————| very short

OPERATING PRINCIPLE:

The pycnometer determines the density or specific weight of insoluble mineral fragments or powder. It is a carefully calibrated, very precise volumetric measuring apparatus. Three weighings to determine the density are taken as follows:

- with the dry, empty container (tare)
- with the container filled with dry mineral sample and
- with the container including sample filled with water in the absence of bubbles

The density is determined according to the following formula:

SPECIAL APPLICATIONS:

Determination of mineral density (mineral-identification method) and determination of beneficiation product densities.

REMARKS:

The accuracy of determination is particularly high when the differential quantities to be measured are not too small, such as when the pycnometer is half-full with sample material.

This measuring method, which measures density to an accuracy of ±0.1 g/m³ and therefore meets mining requirements, necessitates only minor equipment expenditures. A mechanical weighing scale accurate to ±0.1 g has been proven sufficient and enables this method to be applied in the field.

SUITABILITY FOR SMALL-SCALE MINING:

Pycnometer assaying is a simple and accurate method for determining density and is therefore well-suited for the evaluation of product quality and for mineral determination.

1.3 Manual magnetic separator by Dr A. Wilke

Metal Mining
General Analysis

germ.:

Handmagnetscheider nach Dr. Wilke

span.:

separador magnetico manual segun Dr. A. Wilke, separador magnetico manual

Producer:

Krantz

TECHNICAL DATA:

Dimensions:

Dia: approx. 3 cm, H: approx. 8 cm

Weight:

approx. 150 g

Externa power needs:

none, due to permanent magnet

Throughput/Performance:

for example, 30 min required for the quantitative separation of a 5-g heavy-mineral sample into five portions of differing magnetic susceptibility

Technical Efficiency:

relatively high selectivity

Operating Materials:

none .

ECONOMIC DATA:

Investment Costs:

approx. 200 DM

Operating Costs:

no operating materials, therefore only labor costs

Related Costs:

for quantitative determination: weighing scale

CONDITIONS OF APPLICATION:

Operating Expenditure:

low |———|————| high

Maintenance Expenditure:

low |———|————| high

Location Requirements:

none

Sample Requirements:

sample must be dry and dissociated.

Period of Analysis:

several minutes

Accuracy:

quantitative analysis is possible with liberated sample material. Probability of error ± 10 %

Regional Distribution:

not yet employed in small-scale mining in South America

Operating Experience:

very good |———|————| bad

Environmental Impact:

low |———|————| very high

Suitability for Local Production:

very good |————|———| bad

Under What Conditions:

requires a very strong, homogeneous permanent magnet and good membrane material.

Lifespan:

very long |———|————| very short

Bibliography, Source: Manufacturer information

OPERATING PRINCIPLE:

The pocket magnetic separator by A. Wilke is made of a strong, cylindrical permanent magnet with a cylindrical pole gap which can be moved up and down in a brass container by means of a pull rod. The container is covered by a transparent graduated plastic tube with increments in millimeters, and by means of screwing can be adjusted within this plastic tube to change the height of the magnetic surface above the sample material being separated. In this way the separation capability of the magnetic separator is varied, being greatest at the greatest height and smallest at the smallest height (thus biotite is Just barely separable).

To perform the analysis, the sample is thinly spread over a smooth, non-magnetic plate (glass, wood) and magnetically separated over the entire surface by placing the magnetic separator on the plate. The magnetic particles are attracted by and adhere to the magnet. The magnetic separator is then placed on another plate, and the enclosed magnet is lifted by the pull rod, resulting in the release of the magnetic particles. Starting with the minerals exhibiting the highest magnetic susceptibility, the magnetic separator can selectively separate a number of different magnetic fractions. Weighing the entire sample and the products can provide quantitative results when the sample material is completely analyzed.

AREAS OF APPLICATION:

Apparatus for selective separation of magnetic components of mineral sands, ground minerals and ores (beneficiation products).
Generation of monomineralic specimen for microscopic and chemical analysis.
Quantitative determination of composition of mineral mixtures.

Highly magnetic substances which can be separated:
Magnetite, maghemite, franklinite, pyrrhotine;
Moderately or weakly magnetic substances:
arsenopyrite, chromite, hematite, ilmenite, limonite, manganite, wolframite, rhodochrosite, garnet, amphiboles and pyroxenes.

DESIGN INSTRUCTIONS:

In addition to its analytical application, locally-manufactured pocket magnetic separators can be used in beneficiation for the purpose of recleaning concentrates, for example to separate out magnetic heavy-mineral particles from precious metal concentrates. Loud-speaker magnets (strong permanent magnets), placed in a plastic container and calibrated with distance washers made of cardboard, paper, wood, plastic or similar material, are suitable for this purpose.

SUITABILITY FOR SMALL-SCALE MINING:

Pocket magnetic separators are ideally suited for quick quantitative determination of magnetic mineral contents in raw ores and beneficiation products.

The simplest magnetic separators are well suited, depending upon the situation, for recleaning concentrates by removing magnetic components.

1.4 Quick-test-strips merckoquant

General Ore Mining
Analysis

germ.:

Schnellteststreifen Merckoquant

span.:

tire de prueba rapida Merckoquant

Manufacturer:

Merck

TECHNICAL DATA:

Dimensions:

Dia 3 cm, H: approx. 10 cm for 100 test-strips

Weight:

approx. 100 - 150 g

Throughput/Performance:

one analysis per test-strip

ECONOMIC DATA:

Investment Costs:

between 20 and 35 DM/100 quick-test-strips

Operating Costs:

none

Related Costs:

laboratory equipment to bring mineral samples into solution: mortar, acids, glass flasks and possibly an alcohol burner for quantitative analyses; analytical balance for samples in an aqueous solution.

CONDITIONS OF APPLICATION:

Operating Expenditure:

low |———|————| high

Maintenance Expenditure:

low |———|————| high

Personnel Requirements:

highly precise weighing scale necessary for quantitative determination

Location Requirements:

none

Sample Requirements:

sample must be completely dissolved in an aqueous solution.

Duration of Analysis:

several seconds

Accuracy of Analysis:

varies depending upon the type of substances being analyzed; values for arsenic, for example, are accurate to ±0.1 ppm, for pH-values to 0.5 pH.

Regional Distribution:

not widely distributed to date.

Operator Experience:

very good |———|————| bad

Environmental Impact:

low |———————| very high


depending upon type and degree of sample preparation (sample solution).

Suitability for Local Production:

very good |————|———| bad


not possible

Bibliography, Source: Manufacturer information

OPERATING PRINCIPLE:

Merckoquant quick-test-strips consist of plastic strips which have a sealed test-zone on one end impregnated with reagents, buffers and other compounds. These provide a quick preliminary identification in the range 2 1 mg/l (ppm). Application involves dipping the reaction-zone end into the aqueous sample solution for 1 to 2 seconds, and then comparing it to a color scale (included with the strips).

AREAS OF APPLICATION:

For quick determination of metal-contents in water (environmental impact assessments), raw-ore solutions, beneficiation products, etc. Control of reagents during simple cyanide leaching of gold.

REMARKS:

The following can be determined:

arsenic:

0.1

-

3 ppm

cobalt:

10

-

1000 ppm

copper:

10

-

300 ppm

molybdenum:

5

-

250 ppm

nickel:

10

-

500 ppm

silver:

0.5

-

10 g/l

zinc:

10

-

250 ppm

tin:

10

-

200 ppm

Total hardness:

4

-

25

pH-value:

0

-

14

Solutions which are too highly concentrated can be diluted with distilled water until the measureable concentration range is reached.

SUITABILITY FOR SMALL-SCALE MINING:

Highly suitable for environmental impact assessment (water) in that it provides fast and location-independent analysis and is very simple to use; unsuitable for raw-material analysis due to substantial difficulties in sample preparation.

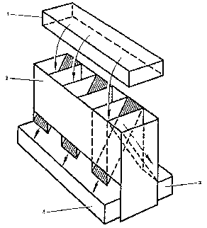
1.5 Rifflebox

Metal Mining General
Analysing

germ.:

Riffelteiler

span.:

partidor de muestras acanalado

Manufacturer:

Haver + Boecker, Siebtechnik

TECHNICAL DATA:


Dimensions:

approx. 30 cm H × 60 cm W × 30 cm D

Weight:

approx. 2 - 5 kg depending on thickness of material

External power needs:

not mechanized

Throughput/Performance:

several hundred kg/in

Technical Efficiency:

good representation of sub-samples

ECONOMIC DATA:


Investment Costs:

300 to 1200 DM for equipment manufactured in the FRG; approx. 100 DM when locally manufactured

Operating Costs:

labor costs only

Related Costs:

none

CONDITIONS OF APPLICATION:

Operating Expenditure:

low |———|————| high

Maintenance Expenditure:

low |———|————| high

Location Requirements:

none

Sample Requirements:

sample must be crushed to a size less than half the riffle width.

Duration of Separation:

very short

Replaces other Equipment:

mechanized sample-divider

Regional Distribution:

already distributed in the laboratories of organizations involved with small-scale mining.

Operating Experience:

very good |———|————| bad

Environmental Impact:

low |———|————| very high

Suitability for Local Production:

very good |———|————| bad

Under What Conditions:

ordinary metal-working shops

Lifespan:

very long |———|————| very short

Bibliography, Source: Schroll, manufacturer information

OPERATING PRINCIPLE:

The sample-divider directs the sample material over riffles which alternately distribute the sample to one side or the other, thereby guiding it into two separate compartments; the sample material of one container is then retained for testing, that of the other is discarded.

AREAS OF APPLICATION:

Sample preparation through a stepwise halving of sample material from individual or composite samples of raw-ores from ore-vein or alluvial deposits, or of beneficiation products.

REMARKS:

Riffleboxes are very simple dividers which are known for their success in producing highly representative sub-samples.

SUITABILITY FOR SMALL-SCALE MINING:

Riffleboxes are highly suitable for small-scale mining application especially since they can be locally manufactured and because they offer an easily-operable method for improving sample preparation, which increases the analytical accuracy associated with small-scale mining.


Fig: Physical Principle of the Rifflebox. Source: Lauer


Fig.: Rifflebox for example preparation. Source: Armstrong


Fig.: Rifflebox with (1) sample divider, (2) feed tray and (3) receiving tray, from Schubert.

TO PREVIOUS SECTION OF BOOK TO NEXT SECTION OF BOOK